GM Service Manual Online
For 1990-2009 cars only

If your vehicle is a regular cab, then all seating positions in the vehicle have a lap-shoulder belt. If your vehicle is a crew or extended cab, then all seating positions in the vehicle have a lap-shoulder belt except for the center front passenger position (if equipped), which has a lap belt. See Lap Belt for more information.

The following instructions explain how to wear a lap-shoulder belt properly.

  1. Adjust the seat, if the seat is adjustable, so you can sit up straight. To see how, see "Seats" in the Index.
  2. Pick up the latch plate and pull the belt across you. Do not let it get twisted.
  3. The lap-shoulder belt may lock if you pull the belt across you very quickly. If this happens, let the belt go back slightly to unlock it. Then pull the belt across you more slowly.

    If the shoulder portion of a passenger belt is pulled out all the way, the child restraint locking feature may be engaged. If this happens, let the belt go back all the way and start again.

    Engaging the child restraint locking feature may affect the passenger sensing system. See Passenger Sensing System for more information.


    Object Number: 1416797  Size: B3
  4. If the belt stops before it reaches the buckle, when using the lap-shoulder belt in a rear center seating position of a crew-cab, tilt the latch plate and keep pulling the safety belt until it can be buckled.

  5. Object Number: 1378723  Size: B3
  6. Push the latch plate into the buckle until it clicks.
  7. Pull up on the latch plate to make sure it is secure. If the belt is not long enough, see Safety Belt Extender.

    If the latch plate will not go fully into the buckle, check if the correct buckle is being used.

    Position the release button on the buckle so that the safety belt could be quickly unbuckled if necessary.

  8. If equipped with a shoulder belt height adjuster, move it to the height that is right for you. See "Shoulder Belt Height Adjustment" later in this section.

  9. Object Number: 1378907  Size: B3
  10. To make the lap part tight, pull up on the shoulder belt.
  11. It may be necessary to pull stitching on the safety belt through the latch plate to fully tighten the lap belt on smaller occupants.


Object Number: 1378915  Size: B3

To unlatch the belt, push the button on the buckle. The belt should return to its stowed position.

Before a door is closed, be sure the safety belt is out of the way. If a door is slammed against a safety belt, damage can occur to both the safety belt and the vehicle.

Shoulder Belt Height Adjuster

The vehicle has a shoulder belt height adjuster for the driver and right front passenger.

Adjust the height so that the shoulder portion of the belt is centered on the shoulder. The belt should be away from the face and neck, but not falling off the shoulder. Improper shoulder belt height adjustment could reduce the effectiveness of the safety belt in a crash.

Regular and Crew Cab


Object Number: 1561437  Size: A2

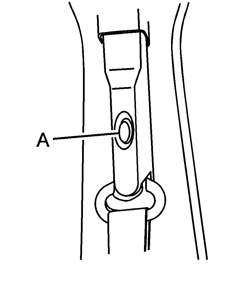
To move the adjuster down for the regular and crew cabs, squeeze the buttons (A) on the sides of the height adjuster and move the height adjuster to the desired position.

Extended Cab


Object Number: 1839768  Size: A2

On the extended cab, push down on the release button (A) and move the height adjuster to the desired position.

You can move the adjuster up just by pushing up on the shoulder belt guide.

After you move the adjuster to where you want it, try to move it down, without squeezing the buttons for the regular and crew cabs, or without pushing the release button for extended cabs, to make sure it has locked into position.

Safety Belt Pretensioners

This vehicle has safety belt pretensioners for front outboard occupants. Although the safety belt pretensioners cannot be seen, they are part of the safety belt assembly. They can help tighten the safety belts during the early stages of a moderate to severe frontal, near frontal, or rear crash if the threshold conditions for pretensioner activation are met. And, if your vehicle has side impact airbags, safety belt pretensioners can help tighten the safety belts in a side crash or a rollover event.

Pretensioners work only once. If the pretensioners activate in a crash, they will need to be replaced, and probably other new parts for the vehicle's safety belt system. See Replacing Restraint System Parts After a Crash.

Rear Safety Belt Comfort Guides

Rear shoulder belt comfort guides may provide added safety belt comfort for older children who have outgrown booster seats and for some adults. When installed on a shoulder belt, the comfort guide positions the belt away from the neck and head.

There is one guide for each outboard passenger position in the rear seat. Here is how to install a comfort guide to the shoulder belt:

  1. Remove the guide from its storage clip on the interior body.

  2. Object Number: 1397861  Size: B3
  3. Place the guide over the belt and insert the two edges of the belt into the slots of the guide.

  4. Object Number: 1397291  Size: B3
  5. Be sure that the belt is not twisted and it lies flat. The elastic cord must be under the belt and the guide on top.
  6. Caution: A safety belt that is not properly worn may not provide the protection needed in a crash. The person wearing the belt could be seriously injured. The shoulder belt should go over the shoulder and across the chest. These parts of the body are best able to take belt restraining forces.


    Object Number: 1400065  Size: B3
  7. Buckle, position, and release the safety belt as described previously in this section. Make sure that the shoulder belt crosses the shoulder.

To remove and store the comfort guide, squeeze the belt edges together so that the safety belt can be removed from the guide. Slide the guide onto the storage clip.