GM Service Manual Online
For 1990-2009 cars only

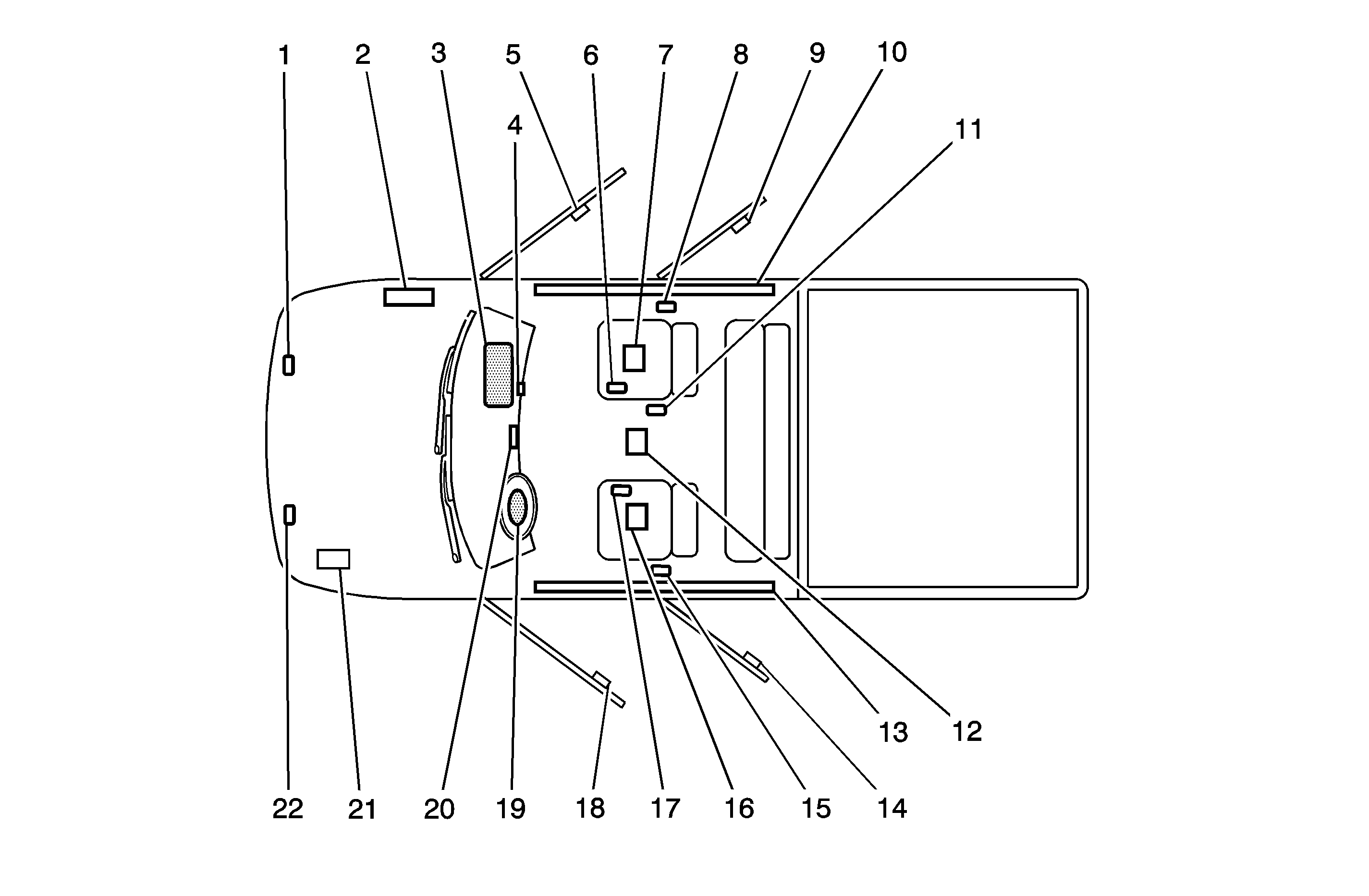
The SIR Identification Views shown below illustrate the approximate location of all SIR components available for the vehicle. This will assist in disabling and enabling the SIR system, refer to SIR Disabling and Enabling .

Sierra/Silverado


Object Number: 2060114  Size: MF
(1)Inflatable Restraint Front End Sensor-Right-1500-Located on the front frame crossmember.
(2)Battery-Gas-Located under the hood, right rear engine compartment.
(3)Inflatable Restraint I/P Module-Located at the right front of the instrument panel cluster (IPC).
(4)Inflatable Restraint Instrument Panel Module Disable Switch-Located inside instrument panel (I/P) storage compartment.
(5)Inflatable Restraint Side Impact Sensor (SIS)-RF-Located under the right front door trim near the lower rear of the door frame.
(6)Inflatable Restraint Passenger Presence System (PPS)-Right-Located under the right front seat cushion.
(7)Inflatable Restraint Passenger Presence System (PPS)-Located under the right front seat mounted to the seat frame.
(8)Inflatable Restraint Seat Belt Pretensioner-Right-Located on the right front B Pillar.
(9)Inflatable Restraint Side Impact Sensor (SIS)-LRR-Located under the right rear door trim near the lower rear of the door frame.
(10)Inflatable Restraint Roof Side Rail Module-Right -Located under the headliner.
(11)Inflatable Restraint Seat Belt Tension Retractor Sensor-Located on the inboard lower seat belt buckle.
(12)Inflatable Restraint Vehicle Rollover Sensor-Located under the center console.
(13)Inflatable Restraint Roof Rail Module-Left-Located in the headliner.
(14)Inflatable Restraint Side Impact Sensor (SIS)-LR-Located under the left rear door trim near the lower rear of the door frame.
(15)Inflatable Restraint Seat Belt Pretensioner-Left-Located on the left front B Pillar.
(16)Inflatable Restraint Sensing and Diagnostic Module (SDM)-Located under the left front seat under the carpet.
(17)Inflatable Restraint Seat Position Sensor (SPS)-Left-Located on the left front inboard seat track.
(18)Inflatable Restraint Side Impact Sensor (SIS)-LF-Located under the left front door trim near the lower rear of the door frame.
(19)Inflatable Restraint Steering Wheel Module-Located on the steering wheel.
(20)Inflatable Restraint Panel Module Indicator (AIRBAG ON/OFF)-overhead console.
(21)Battery-Diesel-Located under the hood, left front engine compartment.
(22)Inflatable Restraint Front End Sensor-Left-1500-Located on the front frame crossmember.