GM Service Manual Online
For 1990-2009 cars only

Disassembly Procedure


    Object Number: 1282395  Size: SH

    Caution: Brake fluid may irritate eyes and skin. In case of contact, take the following actions:

       • Eye contact--rinse thoroughly with water.
       • Skin contact--wash with soap and water.
       • If ingested--consult a physician immediately.

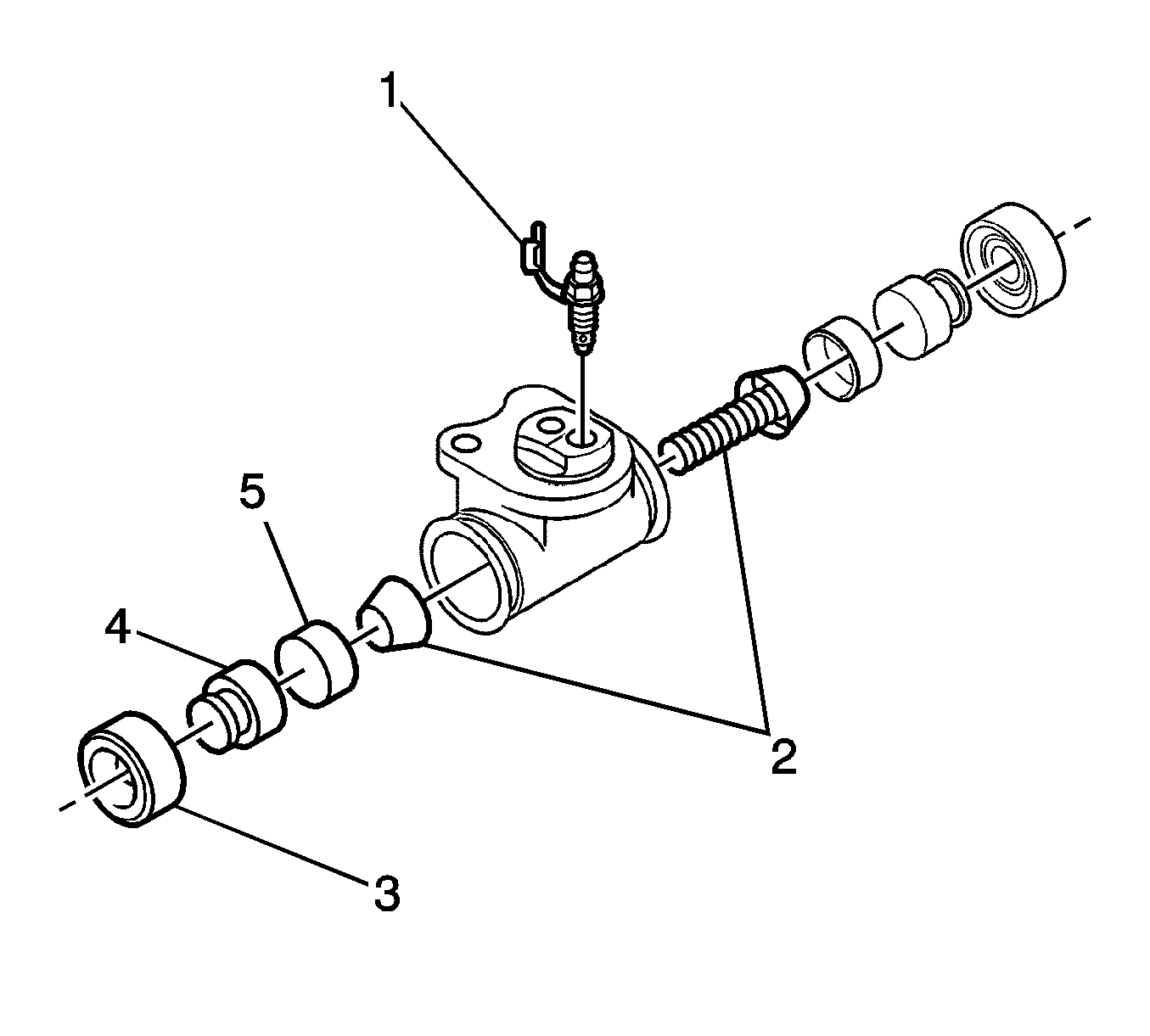
  1. Remove the wheel cylinder assembly. Refer to Wheel Cylinder Replacement .
  2. Remove the dust boots and do not reuse them (3).
  3. Remove the piston (4).
  4. Remove the piston cup and do not reuse it (5).
  5. Remove the spring assembly (2).
  6. Remove the bleeder screw (1).
  7. Clean all parts with denatured alcohol. Dry the parts with unlubricated compressed air.

Assembly Procedure

    Notice: Refer to Fastener Notice in the Preface section.


    Object Number: 1282396  Size: SH

    Important: Lubricate the new seals, the piston, the piston cup and the wheel cylinder bore with clean brake fluid before assembly.

  1. Insert the bleeder screw (1).
  2. Tighten
    Tighten the bleeder screw to 6 N·m (53 lb in).

  3. Install the spring and the new piston cup.
  4. Install the piston and the new boots.
  5. Inspect the piston for free movement.
  6. Install the wheel cylinder assembly. Refer to Wheel Cylinder Replacement .