GM Service Manual Online
For 1990-2009 cars only
Table 1: Backup Lamp - Right or Left
Table 2: Backup Lamp Switch (Manual Transmission)
Table 3: Center High Mount Stop Lamp
Table 4: Courtesy Lamp
Table 5: Courtesy Lamp Diode
Table 6: Daytime Running Lamp (DRL) Diode (0.8L)
Table 7: Daytime Running Lamp (DRL) Module
Table 8: Daytime Running Lamp (DRL) Relay (w/ DRL)
Table 9: Dim Relay (w/ Dimming)
Table 10: Door Jamb Switch - Driver
Table 11: Door Jamb Switch - Passenger
Table 12: Door Jamb Switch - Rear (Left and Right)
Table 13: Fog Lamp - Left Front
Table 14: Fog Lamp - Right Front
Table 15: Fog Lamp Switch - Front (w/o Rear Fog Lamps)
Table 16: Fog Lamp Switch - Rear
Table 17: Hazard Switch
Table 18: Headlamp Assembly - Left (Leveling)
Table 19: Headlamp Assembly - Right (Leveling)
Table 20: Headlamp Leveling Switch
Table 21: Headlamp - Left
Table 22: Headlamp - Right
Table 23: HVAC Illumination Lamp
Table 24: I/P Dimmer Switch (Optional)
Table 25: License Lamp - Left
Table 26: License Lamp - Right
Table 27: Park Position Lamp - Left Front
Table 28: Park Position Lamp - Right Front
Table 29: Rear Compartment Lamp
Table 30: Rear Fog Lamp - Left
Table 31: Rear Fog Lamp Relay (w/ Rear Fog Lamps)
Table 32: Shift Indicator Lamp
Table 33: Stop Lamp Switch (Automatic Transmission)
Table 34: Stop Lamp Switch (Maunal Transmission)
Table 35: Tail Lamp - Right Rear
Table 36: Tail Lamp - Left Rear
Table 37: Tail Stop Lamp - Left Rear
Table 38: Tail Stop Lamp - Right Rear
Table 39: Turn Relay
Table 40: Turn Signal Lamp - Left Rear
Table 41: Turn Signal Lamp - Right Rear
Table 42: Turn Signal Multifunction Switch C1 (w/ Fog Lamps)
Table 43: Turn Signal Multifunction Switch C1 (w/o Fog Lamps)
Table 44: Turn Signal Multifunction Switch C2
Table 45: Turn Signal Repeater Lamp - Left
Table 46: Turn Signal Repeater Lamp - Right

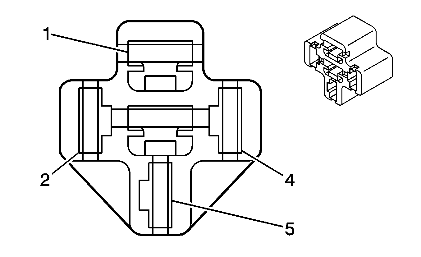
Backup Lamp - Right or Left


Object Number: 82366  Size: CH

Connector Part Information

    •  12092379
    • 3-Way F Lamp Socket Wedge Base W3 (BK)

Pin

Wire Color

Circuit Number

Function

A

RD

24

Backup Lamps Supply Voltage

B

--

--

Not Used

G

BK

550

Ground

Backup Lamp Switch (Manual Transmission)


Object Number: 1467028  Size: CH

Connector Part Information

    • KET MG 610320-5
    • 2-Way F SWP Series (BK)

Pin

Wire Color

Circuit Number

Function

1

D-GN/GY

24

Backup Lamp Supply Voltage

2

RD/YE

439

Ignition 1 Voltage

Center High Mount Stop Lamp


Object Number: 1467020  Size: CH

Connector Part Information

    • KET MG 610070
    • 2-Way F 090 (2.3mm) Series (WH)

Pin

Wire Color

Circuit Number

Function

1

BK

850

Ground

2

YE

20

Stop Lamp Supply Voltage

Courtesy Lamp


Object Number: 1467049  Size: CH

Connector Part Information

    • KET MG 610489
    • 2-Way F 090 (2.3 mm) Series (WH)

Pin

Wire Color

Circuit Number

Function

1

WH

156

Courtesy Lamp Control

2

OG

540

Battery Positive Voltage

Courtesy Lamp Diode


Object Number: 1468509  Size: CH

Connector Part Information

    • KET MG 620102-5
    • 2-Way F DIODE Connector(BK)

Pin

Wire Color

Circuit Number

Function

1

WH/BK

159

Buzzer Warning

WH/BK

159

Buzzer Warning

2

WH

156

Courtesy Lamp Supply

Daytime Running Lamp (DRL) Diode (0.8L)


Object Number: 1468509  Size: CH

Connector Part Information

    • KET MG 620102-5
    • 2-Way F DIODE Connector (BK)

Pin

Wire Color

Circuit Number

Function

A

BN/YE

33

Brake Warning Indicator Control

B

L-BU

35

Temperature Warning Lamp

Daytime Running Lamp (DRL) Module


Object Number: 1500892  Size: CH

Connector Part Information

    • F8-4
    • 8-Way F Connector (BK)

Pin

Wire Color

Circuit Number

Function

1

OG

340

Battery Positive Voltage

2

OG/BK

840

Battery Positive Voltage

3

D-GN/BK

220

Daytime Running Lamp (DRL) Relay Control

4

BN/ D-GN

12

Headlamp Low Beam Supply Voltage

5

BK

450

Ground

6

BN

541

Ignition 3 Voltage

7

OG/BK

840

Battery Positive Voltage

OG/BK

840

Battery Positive Voltage

8

BN/D-GN

31

Oil Pressure Indicator Control

Daytime Running Lamp (DRL) Relay (w/ DRL)


Object Number: 1497842  Size: CH

Connector Part Information

    • Molex SD 35883-003
    • 9-Way F Relay (BK)

Pin

Wire Color

Circuit Number

Function

1

--

--

Not Used

2 (86)

OG

340

Battery Positive Voltage

3

--

--

Not Used

4 (30)

RD/YE

139

Ignition 1 Voltage

5

--

--

Not Used

6 (85)

WH/BK

1080

Park Lamp Relay Control

7

--

--

Not Used

8 (87)

D-GN/BK

220

Park Lamp ON Signal

9

--

--

Not Used

Dim Relay (w/ Dimming)


Object Number: 1497842  Size: CH

Connector Part Information

    • Molex SD 35883-003
    • 9-Way F Relay (BK)

Pin

Wire Color

Circuit Number

Function

1 (58a)

D-GN/BK

44

Instrument Panel Lamps Dimming Control

2 (58b)

BN/WH

309

Right Park Lamp Supply Voltage

3

--

--

Not Used

4 (58c)

BN

978

Low Reference

5 (31)

BK

450

Ground

6 (31b)

BN/RD

230

Instrument Panel Lamps Dimming Control

7

--

--

Not Used

8 (58B)

RD

1673

Reference Voltage

9

--

--

Not Used

Door Jamb Switch - Driver


Object Number: 365953  Size: CH

Connector Part Information

    • KET ST 730173-1
    • 1-Way F 250 Series Connector (CL)

Pin

Wire Color

Circuit Number

Function

1

WH/BK

159

Courtesy Lamp Control

WH

156

Courtesy Lamp Control

Door Jamb Switch - Passenger


Object Number: 365953  Size: CH

Connector Part Information

    • KET ST 730173-1
    • 1-Way F 250 Series Connector (CL)

Pin

Wire Color

Circuit Number

Function

1

WH

156

Courtesy Lamp Control

Door Jamb Switch - Rear (Left and Right)


Object Number: 365953  Size: CH

Connector Part Information

    • KET ST 730173-1
    • 1-Way F 250 Series Connector (CL)

Pin

Wire Color

Circuit Number

Function

1

WH

156

Courtesy Lamp Control

Fog Lamp - Left Front


Object Number: 1467099  Size: CH

Connector Part Information

    • KET MG 641637
    • 2-Way F 090-II WP Series

Pin

Wire Color

Circuit Number

Function

1

BK

50

Ground

2

YE

1769

Fog Lamp Switch Supply Voltage

Fog Lamp - Right Front


Object Number: 1467099  Size: CH

Connector Part Information

    • KET MG 641637
    • 2-Way F 090-II WP Series

Pin

Wire Color

Circuit Number

Function

1

BK

250

Ground

2

YE

1769

Fog Lamp Switch Supply Voltage

Fog Lamp Switch - Front (w/o Rear Fog Lamps)


Object Number: 1467021  Size: CH

Connector Part Information

    • KET MG 610152-5
    • 6-Way F 090 (2.3mm) Series (BK)

Pin

Wire Color

Circuit Number

Function

1

BK

450

Ground

2

--

--

Not Used

3

YE

19

Fog Lamp Indicator Control - Front

4

BN/WH

309

Right Park Lamp Supply Voltage

5

--

--

Not Used

6

OG/BK

840

Battery Positive Voltage

Fog Lamp Switch - Rear


Object Number: 1467021  Size: CH

Connector Part Information

    • KET MG 610152-5
    • 6-Way F 090 (2.3mm) Series (BK)

Pin

Wire Color

Circuit Number

Function

1

BK

450

Ground

2

--

--

Not Used

3

BK

450

Ground

4

BN/WH

309

Right Park Lamp Supply Voltage

5

--

--

Not Used

6

YE

317

Fog Lamp Indicator Control

Hazard Switch


Object Number: 1467018  Size: CH

Connector Part Information

    • KET MG 610056
    • 10-Way F 090 (2.3mm) Series (WH)

Pin

Wire Color

Circuit Number

Function

1

--

--

Not Used

2

BK

450

Ground

3

BN/WH

309

Right Park Lamp Supply Voltage

4

YE

18

Hazard Indicator Control

5

D-BU

14

Left Turn Signal Lamps Indicator Control

6

D-BU/YE

15

Right Turn Signal Lamps Supply Voltage

7

D-BU

1508

Turn Signal Switch Signal

8

OG

640

Battery Positive Voltage

OG

640

Battery Positive Voltage

9

PU

16

Turn Signal Switch Supply Voltage

10

BN

541

Ignition 3 Voltage

Headlamp Assembly - Left (Leveling)


Object Number: 1467094  Size: CH

Connector Part Information

    • KET MG 641234-5
    • 3-Way F SSD & 0509 (BK)

Pin

Wire Color

Circuit Number

Function

1

PU

709

Left Park Lamp Supply Voltage

2

D-GN/BK

189

Headlamp Leveling Motor Supply Voltage

3

BK

50

Ground

Headlamp Assembly - Right (Leveling)


Object Number: 1467094  Size: CH

Connector Part Information

    • KET MG 641234-5
    • 3-Way F SSD & 0509 (BK)

Pin

Wire Color

Circuit Number

Function

1

BN/WH

309

Right Park Lamp Supply Voltage

2

D-GN/BK

189

Headlamp Leveling Motor Supply Voltage

3

BK

250

Ground

Headlamp Leveling Switch


Object Number: 1468420  Size: CH

Connector Part Information

    • MOLEX 5557-04R
    • 4-Way F Mini Fit Conn. Rec. Housing (WH)

Pin

Wire Color

Circuit Number

Function

1

BN/WH

309

Right Park Lamp Supply Voltage

2

PU

709

Left Park Lamp Supply Voltage

3

BK

450

Ground

4

D-GN/BK

189

Headlamp Leveling Motor Supply Voltage

Headlamp - Left


Object Number: 1481284  Size: CH

Connector Part Information

    • OPES PH-2
    • 3-Way F Connector (WH)

Pin

Wire Color

Circuit Number

Function

1

D-GN/WH

711

Left Headlamp High Beam Supply Voltage

2

YE

712

Left Headlamp Low Beam Supply Voltage

3

BK

50

Ground

Headlamp - Right


Object Number: 1481284  Size: CH

Connector Part Information

    • OPES PH-2
    • 3-Way F Connector (WH)

Pin

Wire Color

Circuit Number

Function

1

D-GN/RD

317

Right Headlamp High Beam Supply Voltage

2

BN/YE

312

Right Headlamp Low Beam Supply Voltage

3

BK

250

Ground

HVAC Illumination Lamp


Object Number: 1467007  Size: CH

Connector Part Information

    • KET MG 610043
    • 2-Way F 250 Series (WH)

Pin

Wire Color

Circuit Number

Function

1

BN/RD

230

Instrument Panel Lamps Dimming Control (w/ Dimmer)

BK

450

Ground (w/o Dimmer)

2

BN/WH

309

Right Park Lamp Supply Voltage

I/P Dimmer Switch (Optional)


Object Number: 1468511  Size: CH

Connector Part Information

    • MOLEX 5557-06R
    • 6-Way Mini Fit Conn. Rec. Housing (WH)

Pin

Wire Color

Circuit Number

Function

1

D-GN/BK

44

Instrument Panel Lamps Dimming Control

2

RD

1673

Dimmer Control Unit Reference

3

BN/RD

230

Instrument Panel Lamps Dimming Control

4

BN

978

Dimmer Control Unit Reference

5

--

--

Not Used

6

BN/WH

309

Right Park Lamp Supply Voltage

License Lamp - Left


Object Number: 287977  Size: CH

Connector Part Information

    • 12146595
    • 2-Way Lamp Socket Bulb Bases Type W-2 (L-GY)

Pin

Wire Color

Circuit Number

Function

A

WH

709

Park Lamp Supply Voltage

B

BK

850

Ground

License Lamp - Right


Object Number: 287977  Size: CH

Connector Part Information

    • 12146595
    • 2-Way Lamp Socket Bulb Bases Type W-2 (L-GY)

Pin

Wire Color

Circuit Number

Function

A

WH

709

Park Lamp Supply Voltage

B

BK

850

Ground

Park Position Lamp - Left Front


Object Number: 810080  Size: CH

Connector Part Information

    • Lamp Socket Bulb Base
    • 2-Way

Pin

Wire Color

Circuit Number

Function

A

D-GN

709

Left Park Lamp Supply Voltage

B

BK

50

Ground

Park Position Lamp - Right Front


Object Number: 810080  Size: CH

Connector Part Information

    • Lamp Socket Bulb Base
    • 2-Way

Pin

Wire Color

Circuit Number

Function

A

D-GN

309

Right Park Lamp Supply Voltage

B

BK

250

Ground

Rear Compartment Lamp


Object Number: 1481285  Size: CH

Connector Part Information

    • F2-14
    • 2-Way F Connector (BK)

Pin

Wire Color

Circuit Number

Function

1

OG

540

Battery Positive Voltage

2

PK/BK

1303

Rear Compartment Lid Ajar Switch Signal

Rear Fog Lamp - Left


Object Number: 82366  Size: CH

Connector Part Information

    •  12092379
    • 3-Way F Lamp Socket Wedge Base W3 (BK)

Pin

Wire Color

Circuit Number

Function

A

RD

24

Backup Lamps Supply Voltage

B

--

--

Not Used

G

BK

550

Ground

Rear Fog Lamp Relay (w/ Rear Fog Lamps)


Object Number: 1497842  Size: CH

Connector Part Information

    • Molex SD 35883-003
    • 9-Way F Relay (BK)

Pin

Wire Color

Circuit Number

Function

1 (15)

D-BU

1346

Headlamp Relay Supply Voltage/ Headlamp Control

2 (30)

D-BU

1346

Headlamp Relay Supply Voltage/Headlamp Control

3

--

--

Not Used

4 (E)

YE

317

Fog Lamp Indicator

5

--

--

Not Used

6 (31)

BK

450

Ground

7

--

--

Not Used

8 (87)

RD

122

Rear Fog Lamp Supply Voltage

9

--

--

Not Used

Shift Indicator Lamp


Object Number: 1468402  Size: CH

Connector Part Information

    • KET MG 620042
    • 2-Way M 250 Series

Pin

Wire Color

Circuit Number

Function

1

BN/WH

309

Right Park Lamp Supply Voltage

2

BK

650

Ground

Stop Lamp Switch (Automatic Transmission)


Object Number: 1509190  Size: CH

Connector Part Information

    • SSP AK 8812
    • 5-Way F Connector (BK)

Pin

Wire Color

Circuit Number

Function

1

BN

275

A/T Shift Lock Solenoid Supply Voltage

2

YE

20

Stop Lamp Switch Signal

3

--

--

Not Used

4

RD/ D-BU

238

Battery Positive Voltage

5

D-BU

276

Park Position Switch Signal

Stop Lamp Switch (Maunal Transmission)


Object Number: 1509187  Size: CH

Connector Part Information

    • KET MG 612020
    • 2-Way F Connector (BK)

Pin

Wire Color

Circuit Number

Function

1

YE

20

Stop Lamp Supply Voltage

2

RD/ D-BU

238

Seat Belt Switch Driver

Tail Lamp - Right Rear


Object Number: 744036  Size: CH

Connector Part Information

    • PED 12110053
    • 2-Way F Lamp Socket Wedge Base W2 (L-GY)

Pin

Wire Color

Circuit Number

Function

A

BN/WH

309

Right Park Lamp Supply Voltage

B

BK

950

Ground

Tail Lamp - Left Rear


Object Number: 744036  Size: CH

Connector Part Information

    • PED 12110053
    • 2-Way F Lamp Socket Wedge Base W2 (L-GY)

Pin

Wire Color

Circuit Number

Function

A

PU

709

Left Park Lamp Supply Voltage

B

BK

550

Ground

Tail Stop Lamp - Left Rear


Object Number: 82366  Size: CH

Connector Part Information

    •  12092379
    • 3-Way F Lamp Socket Wedge Base W3 (BK)

Pin

Wire Color

Circuit Number

Function

A

YE

20

Stop Lamp Supply Voltage

B

PU

709

Left Park Lamp Supply Voltage

G

BK

550

Ground

Tail Stop Lamp - Right Rear


Object Number: 82366  Size: CH

Connector Part Information

    •  12092379
    • 3-Way F Lamp Socket Wedge Base W3 (BK)

Pin

Wire Color

Circuit Number

Function

A

YE

20

Stop Lamp Supply Voltage

B

BN/WH

309

Right Park Lamp Supply Voltage

G

BK

550

Ground

Turn Relay


Object Number: 1497842  Size: CH

Connector Part Information

    • Molex SD 35883-003
    • 9-Way F Relay (BK)

Pin

Wire Color

Circuit Number

Function

1-3

--

--

Not Used

4 (31)

BK

450

Ground

5

--

--

Not Used

6 (49)

D-BU

1508

Turn Signal Switch Signal

7

--

--

Not Used

8 (49a)

PU

16

Turn Signal Switch Supply Voltage

PU

16

Turn Signal Switch Supply Voltage

9

--

--

Not Used

Turn Signal Lamp - Left Rear


Object Number: 82366  Size: CH

Connector Part Information

    •  12092379
    • 3-Way F Lamp Socket Wedge Base W3 (BK)

Pin

Wire Color

Circuit Number

Function

A

D-BU

14

Left Turn Signal Lamps Supply Voltage

B

--

--

Not Used

G

BK

550

Ground

Turn Signal Lamp - Right Rear


Object Number: 82366  Size: CH

Connector Part Information

    •  12092379
    • 3-Way F Lamp Socket Wedge Base W3 (BK)

Pin

Wire Color

Circuit Number

Function

A

D-BU/GY

15

Right Turn Signal Lamps Supply Voltage

B

--

--

Not Used

G

BK

950

Ground

Turn Signal Multifunction Switch C1 (w/ Fog Lamps)


Object Number: 1468422  Size: CH

Connector Part Information

    • MOLEX 5559-06P
    • 6-Way F Mini Fit Conn. Crimp Pin Housing (BK)

Pin

Wire Color

Circuit Number

Function

1

OG/BK

840

Battery Positive Voltage

2

WH

352

Headlamp Relay Coil Supply Voltage

3

BK

450

Ground

4

--

--

Not Used

5

YE

19

Fog Lamp Indicator Control - Front

6

WH/ D-BU

1080

Park Lamp Relay Control

Turn Signal Multifunction Switch C1 (w/o Fog Lamps)


Object Number: 1468420  Size: CH

Connector Part Information

    • MOLEX 5557-04R
    • 4-Way F Mini Fit Conn. Rec. Housing (WH)

Pin

Wire Color

Circuit Number

Function

1

WH/ D-BU

1080

Park Lamp Relay Control

2

--

--

Not Used

3

BK

450

Ground

4

WH

352

Headlamp Relay Coil Supply Voltage

Turn Signal Multifunction Switch C2


Object Number: 1467023  Size: CH

Connector Part Information

    • KET MG 610203
    • 7-Way F 118 (PA) Series (WH)

Pin

Wire Color

Circuit Number

Function

1

D-BU

14

Left Turn Signal Lamps Indicator Control

2

PU

16

Turn Signal Switch Supply Voltage

3

D-BU/YE

15

Right Turn Signal Lamps Supply Voltage

4

D-GN/GY

11

Headlamp Dimmer Switch Signal

5

BN/ D-GN

12

Headlamp Low Beam Supply Voltage

6

D-BU

1346

Headlamp Relay Supply Voltage/ Headlamp Control

7

OG

340

Battery Positive Voltage

Turn Signal Repeater Lamp - Left


Object Number: 1467028  Size: CH

Connector Part Information

    • KET MG 610320
    • 2-Way F SWP Series (BK)

Pin

Wire Color

Circuit Number

Function

1

D-BU

14

Left Turn Signal Lamps Supply Voltage

2

BK

50

Ground

Turn Signal Repeater Lamp - Right


Object Number: 1467028  Size: CH

Connector Part Information

    • KET MG 610320-5
    • 2-Way F SWP Series (BK)

Pin

Wire Color

Circuit Number

Function

1

D-BU

14

Right Turn Signal Lamps Voltage

2

BK

50

Ground