GM Service Manual Online
For 1990-2009 cars only

Removal Procedure

    Caution: Refer to Fuel Pressure Caution in the Preface section.


    Object Number: 1225022  Size: SH
  1. Relieve the fuel system pressure. Refer to Fuel Pump Replacement.
  2. Remove the canister from the engine compartment. Refer to Evaporative Emission Canister Replacement.
  3. Disconnect the fuel inlet line (1).

  4. Object Number: 1225025  Size: SH
  5. Disconnect the fuel injector harness connectors (1).

  6. Object Number: 1224970  Size: SH
  7. Remove the fuel rail bolts (1).
  8. Caution: 

       • Use care when servicing the fuel system components, especially the fuel injector electrical connectors, the fuel injector tips, and the injector O-rings. Plug the inlet and the outlet ports of the fuel rail in order to prevent contamination.
       • Do not use compressed air to clean the fuel rail assembly as this may damage the fuel rail components.
       • Do not immerse the fuel rail assembly in a solvent bath in order to prevent damage to the fuel rail assembly.

  9. Remove the fuel rail with the fuel injectors attached (2).

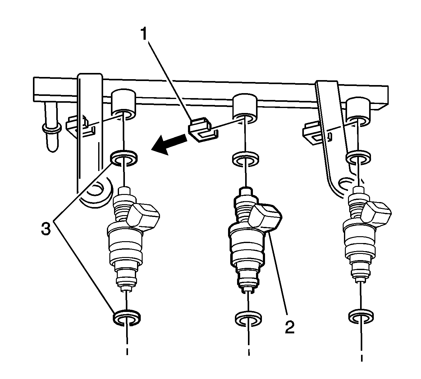
  10. Object Number: 1225059  Size: SH

    Note: Different fuel injectors are calibrated for different flow rates. When ordering new fuel injectors, be certain to order the identical part number that is inscribed on the old fuel injector.

  11. Remove the fuel injector retainer clips (1).
  12. Remove the fuel injectors by pulling them down and out (2).
  13. Discard the fuel injector O-rings (3).

Installation Procedure

    Warning: Refer to Safety Goggles and Fuel Warning in the Preface section.


    Object Number: 1225018  Size: SH

    Note: If a fuel injector becomes separated from the fuel rail and remains in the cylinder head, replace the fuel injector O-ring seals and the retaining clip.

  1. Lubricate the new fuel injector O-rings with engine oil. Install the new O-rings on the fuel injectors.
  2. Install the fuel injectors.
  3. Install the fuel injector retaining clips (1).

  4. Object Number: 1224970  Size: SH
  5. Install fuel rail with fuel injectors attached (2).
  6. Caution: Refer to Fastener Caution in the Preface section.

  7. Install fuel rail retaining bolts (1) and tighten to 18-22 N·m (13-16 lb ft).

  8. Object Number: 1225025  Size: SH
  9. Connect the fuel injector harness connector.

  10. Object Number: 1225022  Size: SH
  11. Connect the fuel inlet line (1).
  12. Install the EVAP canister. Refer to Evaporative Emission Canister Replacement.
  13. Turn the ignition ON and inspect the fuel system for leaks.