GM Service Manual Online
For 1990-2009 cars only

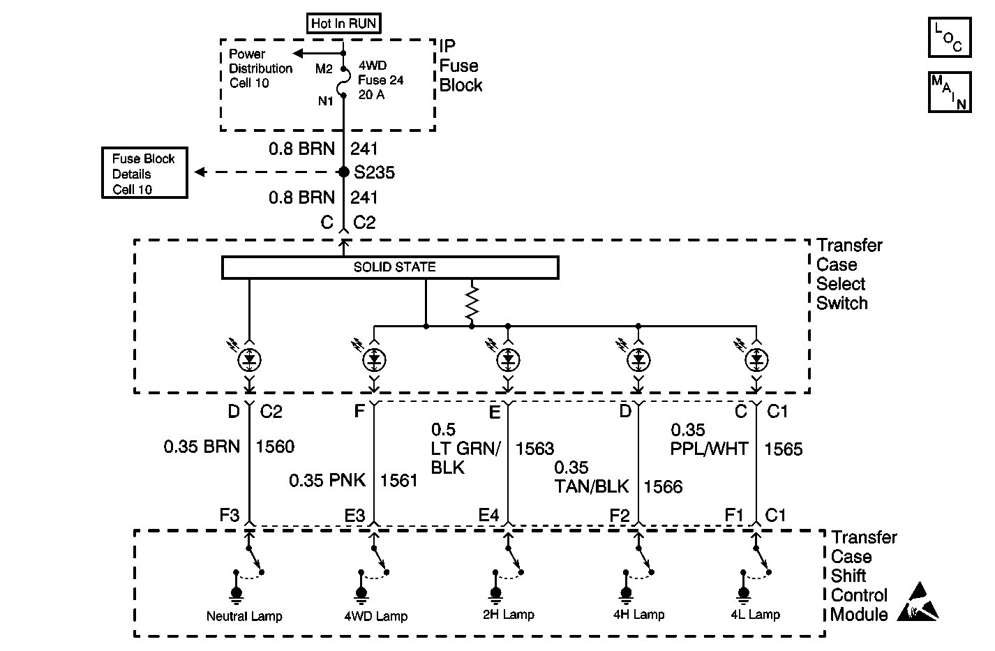
Object Number: 562258  Size: MF
Transfer Case Control Components
Transfer Case Control Schematics

Circuit Description

The indicator lamps circuit consist of five individual lamps contained inside the mode/range switch assembly. They are AUTO 4WD, 2HI, 4HI, 4LO and Neutral. The AUTO 4WD, 2HI, 4HI, and 4LO lamps are contain inside their respective range button. When the ignition in ON, the transfer case shift control module illuminates the indicator lamp that corresponds to the current ATC gear position by providing a ground through a current limiting driver.

The transfer case shift control module flashes each indicator lamp after a shift has been requested and will continue to flash until the transfer case shift control module can complete the shift.

A solid state circuit located inside the switch supplies ignition voltage to the lamps. The solid state circuit also receives voltage whenever the headlamp switch is in the parklamp or headlamp position. When the solid state circuit receives voltage from the headlamp switch it will reduce the voltage that it supplies to the indicator lamps, dimming the lamps when the headlamps are ON.

Test Description

The numbers below refer to the step numbers on the diagnostic table.

  1. Tests the transfer case electrical control of the lamp circuits.

  2. Helps determine module failures.

  3. Tests the effected lamp circuit for an open or high resistance.

  4. Tests the lamp feed circuit for an open or short to ground.

One or More Switch Indicator Lamps Does Not Light

Step

Action

Value(s)

Yes

No

1

Was the Transfer Case Diagnostic System Check performed?

--

Go to Step 2

Go to Diagnostic System Check

2

  1. Turn the ignition ON, with the engine OFF.
  2. Install a scan tool.
  3. Use the scan tool in order to command all the indicator lamps ON.

Do all the lamps go ON?

--

Go to Step 7

Go to Step 3

3

  1. Access the back of the mode switch.
  2. Using a fused jumper back probe the effected lamp circuit to ground.

Does the effected lamp go ON?

--

Go to Step 4

Go to Step 5

4

Test the effected lamp circuit for an open or high resistance. Refer to Circuit Testing and Wiring Repairs in Wiring Systems.

Was the condition found and corrected?

--

Go to Step 8

Go to Step 7

5

Test the lamp feed circuit for an open or short to ground. Refer to Circuit Testing and Wiring Repairs in Wiring Systems.

Was the condition found and corrected?

--

Go to Step 8

Go to Step 6

6

Replace the mode/range switch. Refer to Transfer Case Shift Control Switch Replacement .

Is the repair complete?

--

Go to Step 8

--

7

Replace the transfer case shift control module. Refer to Transfer Case Shift Control Module Replacement .

Is the repair complete?

--

Go to Step 8

--

8

  1. Use the scan tool in order to clear the DTCs .
  2. Operate the vehicle within the Conditions for allowing the symptom to re-occur.

Does the symptom re-occur?

--

Go to Step 2

System OK