GM Service Manual Online
For 1990-2009 cars only
Figure 1:

Instrument Cluster, Instrument Panel, and the DLC - 5.0L


Object Number: 31832  Size: FS
Engine Controls Components
Vehicle Control Module Overview
CMP, CKP, ICM, and the Ignition Coil - 5.0L
AIR System - 7.4L California Only
OBD II Symbol Description Notice
Handling ESD Sensitive Parts Notice
Handling ESD Sensitive Parts Notice
Handling ESD Sensitive Parts Notice
Figure 2:

CMP, CKP, ICM, and the Ignition Coil - 5.0L


Object Number: 31839  Size: FS
Engine Controls Components
Enhanced Ignition System Description/Operation
Fuel Pump - 5.0L
Instrument Cluster, Instrument Panel, and the DLC - 5.0L
OBD II Symbol Description Notice
Handling ESD Sensitive Parts Notice
Handling ESD Sensitive Parts Notice
Figure 3:

Fuel Pump - 5.0L


Object Number: 31841  Size: FS
Engine Controls Components
Fuel System Central SFI
Fuel Injectors - 5.0L
CMP, CKP, ICM, and the Ignition Coil - 5.0L
OBD II Symbol Description Notice
Handling ESD Sensitive Parts Notice
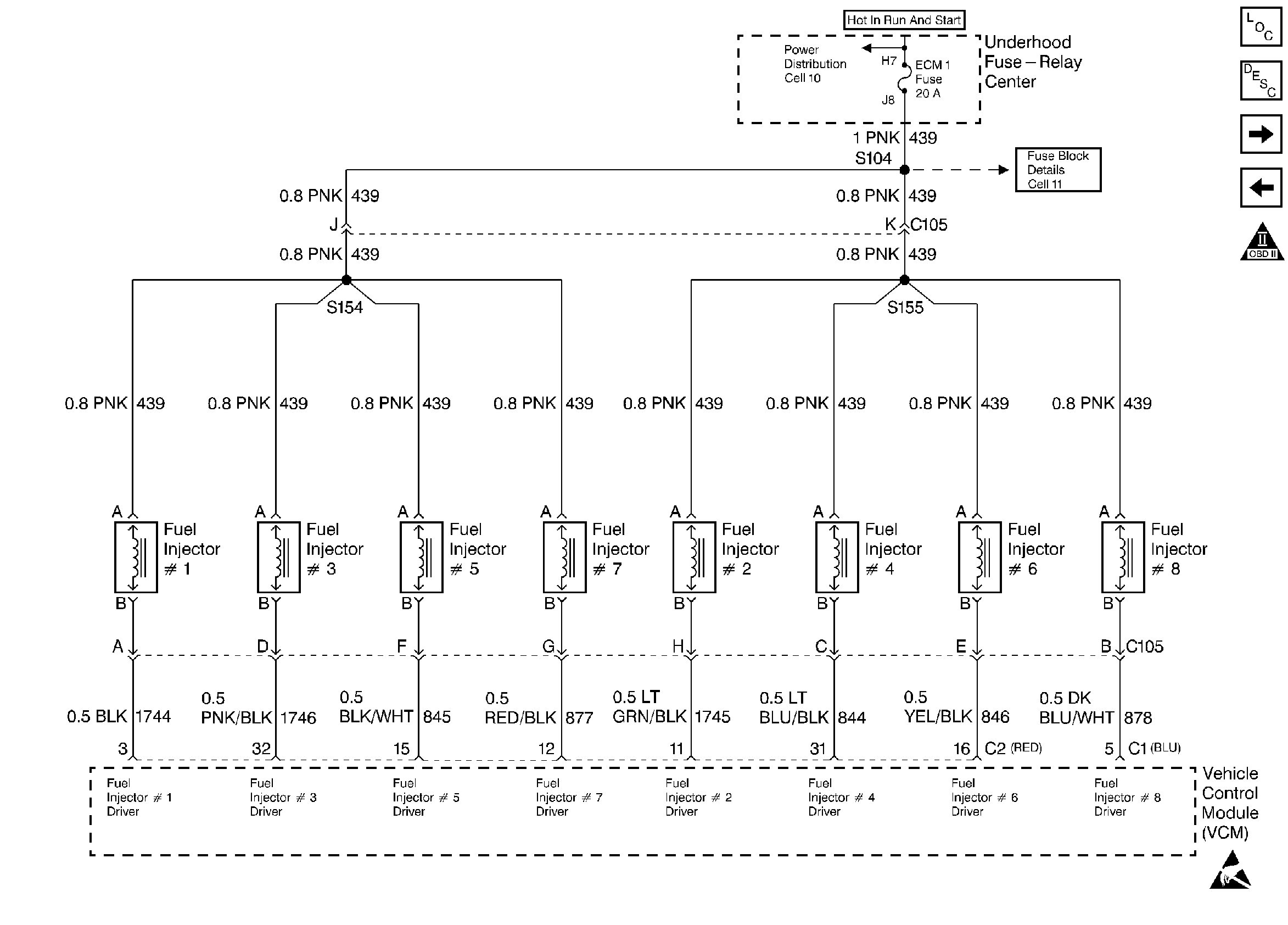
Figure 4:

Fuel Injectors - 5.0L


Object Number: 31851  Size: FS
Engine Controls Components
Fuel System Central SFI
MAP, IAT, TP, and ECT Sensors - 5.0L
Fuel Pump - 5.0L
OBD II Symbol Description Notice
Handling ESD Sensitive Parts Notice
Figure 5:

MAP, IAT, TP, and ECT Sensors - 5.0L


Object Number: 31859  Size: FS
Engine Controls Components
Information Sensors 4.3L, 5.0L
MAF, EVAP, and EGR Systems - 5.0L
Fuel Injectors - 5.0L
OBD II Symbol Description Notice
Handling ESD Sensitive Parts Notice
Handling ESD Sensitive Parts Notice
Figure 6:

MAF, EVAP, and EGR Systems - 5.0L


Object Number: 31861  Size: FS
Engine Controls Components
Information Sensors 4.3L, 5.0L
Heated Oxygen Sensors - 5.0L
MAP, IAT, TP, and ECT Sensors - 5.0L
OBD II Symbol Description Notice
Handling ESD Sensitive Parts Notice
Figure 7:

Heated Oxygen Sensors - 5.0L


Object Number: 31867  Size: FS
Engine Controls Components
Information Sensors 4.3L, 5.0L
Idle Air Control - 5.0L
MAF, EVAP, and EGR Systems - 5.0L
OBD II Symbol Description Notice
Handling ESD Sensitive Parts Notice
Figure 8:

Idle Air Control - 5.0L


Object Number: 31870  Size: FS
Engine Controls Components
Fuel System Diagnosis Fuel Control
Vehicle Speed Sensor - 5.0L
Heated Oxygen Sensors - 5.0L
OBD II Symbol Description Notice
Handling ESD Sensitive Parts Notice
Handling ESD Sensitive Parts Notice
Figure 9:

Vehicle Speed Sensor - 5.0L


Object Number: 31872  Size: FS
Engine Controls Components
Fuel System Diagnosis Fuel Control
Transmission and the TCC - 5.0L
Idle Air Control - 5.0L
OBD II Symbol Description Notice
Handling ESD Sensitive Parts Notice
Handling ESD Sensitive Parts Notice
Handling ESD Sensitive Parts Notice
Handling ESD Sensitive Parts Notice
Handling ESD Sensitive Parts Notice
Figure 10:

Transmission and the TCC - 5.0L


Object Number: 38165  Size: FS
Engine Controls Components
Information Sensors 4.3L, 5.0L
PC Solenoid and the TFP Sensor - 5.0L
Vehicle Speed Sensor - 5.0L
OBD II Symbol Description Notice
Handling ESD Sensitive Parts Notice
Figure 11:

PC Solenoid and the TFP Sensor - 5.0L


Object Number: 31874  Size: FS
Engine Controls Components
A/C System - 5.0L
Transmission and the TCC - 5.0L
OBD II Symbol Description Notice
Handling ESD Sensitive Parts Notice
Handling ESD Sensitive Parts Notice
Figure 12:

A/C System - 5.0L


Object Number: 31879  Size: FS
Engine Controls Components
Instrument Cluster, Instrument Panel, and the DLC - 5.7L Under8600 GVW
PC Solenoid and the TFP Sensor - 5.0L
OBD II Symbol Description Notice
Handling ESD Sensitive Parts Notice
Figure 13:

Instrument Cluster, Instrument Panel, and the DLC - 5.7L Under 8600 GVW


Object Number: 31832  Size: FS
Engine Controls Components
Vehicle Control Module Overview
CMP, CKP, ICM, and the Ignition Coil - 5.7L Under 8600 GVW
A/C System - 5.0L
OBD II Symbol Description Notice
Handling ESD Sensitive Parts Notice
Handling ESD Sensitive Parts Notice
Handling ESD Sensitive Parts Notice
Figure 14:

CMP, CKP, ICM, and the Ignition Coil - 5.7L Under 8600 GVW


Object Number: 31839  Size: FS
Engine Controls Components
Enhanced Ignition System Description/Operation
Fuel Pump - 5.7L Under 8600 GVW
Instrument Cluster, Instrument Panel, and the DLC - 5.7L Under8600 GVW
OBD II Symbol Description Notice
Handling ESD Sensitive Parts Notice
Handling ESD Sensitive Parts Notice
Figure 15:

Fuel Pump - 5.7L Under 8600 GVW


Object Number: 31841  Size: FS
Engine Controls Components
Fuel System Central SFI
Fuel Injectors - 5.7L Under 8600 GVW
CMP, CKP, ICM, and the Ignition Coil - 5.7L Under 8600 GVW
OBD II Symbol Description Notice
Handling ESD Sensitive Parts Notice
Figure 16:

Fuel Injectors - 5.7L Under 8600 GVW


Object Number: 31851  Size: FS
Engine Controls Components
Fuel System Central SFI
MAP, IAT, TP, and ECT Sensors - 5.7L Under 8600 GVW
Fuel Pump - 5.7L Under 8600 GVW
OBD II Symbol Description Notice
Handling ESD Sensitive Parts Notice
Figure 17:

MAP, IAT, TP, and ECT Sensors - 5.7L Under 8600 GVW


Object Number: 31859  Size: FS
Engine Controls Components
Information Sensors 5.7L, 7.4L
MAF, EVAP, and EGR Systems - 5.7L Under 8600 GVW
Fuel Injectors - 5.7L Under 8600 GVW
OBD II Symbol Description Notice
Handling ESD Sensitive Parts Notice
Handling ESD Sensitive Parts Notice
Figure 18:

MAF, EVAP, and EGR Systems - 5.7L Under 8600 GVW


Object Number: 31861  Size: FS
Engine Controls Components
Information Sensors 4.3L, 5.0L
Heated Oxygen Sensors - 5.7L Under 8600 GVW
MAP, IAT, TP, and ECT Sensors - 5.7L Under 8600 GVW
OBD II Symbol Description Notice
Handling ESD Sensitive Parts Notice
Figure 19:

Heated Oxygen Sensors - 5.7L Under 8600 GVW


Object Number: 31864  Size: FS
Engine Controls Components
Information Sensors 5.7L, 7.4L
Idle Air Control - 5.7L Under 8600 GVW
MAF, EVAP, and EGR Systems - 5.7L Under 8600 GVW
OBD II Symbol Description Notice
Handling ESD Sensitive Parts Notice
Figure 20:

Idle Air Control - 5.7L Under 8600 GVW


Object Number: 31870  Size: FS
Engine Controls Components
Fuel System Diagnosis Fuel Control
Vehicle Speed Sensor - 5.7L Under 8600 GVW
Heated Oxygen Sensors - 5.7L Under 8600 GVW
OBD II Symbol Description Notice
Handling ESD Sensitive Parts Notice
Handling ESD Sensitive Parts Notice
Figure 21:

Vehicle Speed Sensor - 5.7L Under 8600 GVW


Object Number: 31872  Size: FS
Engine Controls Components
Fuel System Diagnosis Fuel Control
Transmission and the TCC - 5.7L Under 8600 GVW
Idle Air Control - 5.7L Under 8600 GVW
OBD II Symbol Description Notice
Handling ESD Sensitive Parts Notice
Handling ESD Sensitive Parts Notice
Handling ESD Sensitive Parts Notice
Handling ESD Sensitive Parts Notice
Handling ESD Sensitive Parts Notice
Figure 22:

Vehicle Speed Sensor - 5.7L Under 8600 GVW


Object Number: 31872  Size: FS
Engine Controls Components
Fuel System Diagnosis Fuel Control
Transmission and the TCC - 5.7L Under 8600 GVW
Idle Air Control - 5.7L Under 8600 GVW
OBD II Symbol Description Notice
Handling ESD Sensitive Parts Notice
Handling ESD Sensitive Parts Notice
Handling ESD Sensitive Parts Notice
Handling ESD Sensitive Parts Notice
Handling ESD Sensitive Parts Notice
Figure 23:

PC Solenoid and the TFP Sensor - 5.7L Under 8600 GVW


Object Number: 31874  Size: FS
Engine Controls Components
A/C System - 5.7L Under 8600 GVW
Transmission and the TCC - 5.7L Under 8600 GVW
OBD II Symbol Description Notice
Handling ESD Sensitive Parts Notice
Handling ESD Sensitive Parts Notice
Figure 24:

A/C System - 5.7L Under 8600 GVW


Object Number: 31879  Size: FS
Engine Controls Components
Instrument Cluster, Instrument Panel, and the DLC - 5.7L Over8600 GVW
PC Solenoid and the TFP Sensor - 5.7L Under 8600 GVW
OBD II Symbol Description Notice
Handling ESD Sensitive Parts Notice
Figure 25:

Instrument Cluster, Instrument Panel, and the DLC - 5.7L Over 8600 GVW


Object Number: 31832  Size: FS
Engine Controls Components
Vehicle Control Module Overview
CMP, CKP, ICM, and the Ignition Coil - 5.7L Over 8600 GVW
A/C System - 5.7L Under 8600 GVW
OBD II Symbol Description Notice
Handling ESD Sensitive Parts Notice
Handling ESD Sensitive Parts Notice
Handling ESD Sensitive Parts Notice
Figure 26:

CMP, CKP, ICM, and the Ignition Coil - 5.7L Over 8600 GVW


Object Number: 31839  Size: FS
Engine Controls Components
Enhanced Ignition System Description/Operation
Fuel Pump - 5.7L Over 8600 GVW
Instrument Cluster, Instrument Panel, and the DLC - 5.7L Over8600 GVW
OBD II Symbol Description Notice
Handling ESD Sensitive Parts Notice
Handling ESD Sensitive Parts Notice
Figure 27:

Fuel Pump - 5.7L Over 8600 GVW


Object Number: 31841  Size: FS
Engine Controls Components
Fuel System Central SFI
Fuel Injectors - 5.7L Over 8600 GVW
CMP, CKP, ICM, and the Ignition Coil - 5.7L Over 8600 GVW
OBD II Symbol Description Notice
Handling ESD Sensitive Parts Notice
Figure 28:

Fuel Injectors - 5.7L Over 8600 GVW


Object Number: 31851  Size: FS
Engine Controls Components
Fuel System Central SFI
MAP, IAT, TP, and ECT Sensors - 5.7L Over 8600 GVW
Fuel Pump - 5.7L Over 8600 GVW
OBD II Symbol Description Notice
Handling ESD Sensitive Parts Notice
Figure 29:

MAP, IAT, TP, and ECT Sensors - 5.7L Over 8600 GVW


Object Number: 31859  Size: FS
Engine Controls Components
Information Sensors 5.7L, 7.4L
MAF, EVAP, and EGR Systems - 5.7L Over 8600 GVW
Fuel Injectors - 5.7L Over 8600 GVW
OBD II Symbol Description Notice
Handling ESD Sensitive Parts Notice
Handling ESD Sensitive Parts Notice
Figure 30:

MAF, EVAP, and EGR Systems - 5.7L Over 8600 GVW


Object Number: 31861  Size: FS
Engine Controls Components
Information Sensors 5.7L, 7.4L
Heated Oxygen Sensors - 5.7L Over 8600 GVW
MAP, IAT, TP, and ECT Sensors - 5.7L Over 8600 GVW
OBD II Symbol Description Notice
Handling ESD Sensitive Parts Notice
Figure 31:

Heated Oxygen Sensors - 5.7L Over 8600 GVW


Object Number: 31864  Size: FS
Engine Controls Components
Information Sensors 5.7L, 7.4L
Idle Air Control - 5.7L Over 8600 GVW
MAF, EVAP, and EGR Systems - 5.7L Over 8600 GVW
OBD II Symbol Description Notice
Handling ESD Sensitive Parts Notice
Figure 32:

Idle Air Control - 5.7L Over 8600 GVW


Object Number: 31870  Size: FS
Engine Controls Components
Fuel System Diagnosis Fuel Control
Vehicle Speed Sensor - 5.7L Over 8600 GVW
Heated Oxygen Sensors - 5.7L Over 8600 GVW
OBD II Symbol Description Notice
Handling ESD Sensitive Parts Notice
Handling ESD Sensitive Parts Notice
Figure 33:

Vehicle Speed Sensor - 5.7L Over 8600 GVW


Object Number: 31872  Size: FS
Engine Controls Components
Fuel System Diagnosis Fuel Control
Transmission and the TCC - 5.7L Over 8600 GVW
Idle Air Control - 5.7L Over 8600 GVW
OBD II Symbol Description Notice
Handling ESD Sensitive Parts Notice
Handling ESD Sensitive Parts Notice
Handling ESD Sensitive Parts Notice
Handling ESD Sensitive Parts Notice
Handling ESD Sensitive Parts Notice
Figure 34:

Transmission and the TCC - 5.7L Over 8600 GVW


Object Number: 38167  Size: FS
Engine Controls Components
Information Sensors 5.7L, 7.4L
PC Solenoid and the TFP Sensor - 5.7L Over 8600 GVW
Vehicle Speed Sensor - 5.7L Over 8600 GVW
OBD II Symbol Description Notice
Handling ESD Sensitive Parts Notice
Figure 35:

PC Solenoid and the TFP Sensor - 5.7L Over 8600 GVW


Object Number: 31877  Size: FS
Engine Controls Components
A/C System - 5.7L Over 8600 GVW
Transmission and the TCC - 5.7L Over 8600 GVW
OBD II Symbol Description Notice
Handling ESD Sensitive Parts Notice
Handling ESD Sensitive Parts Notice
Handling ESD Sensitive Parts Notice
Figure 36:

A/C System - 5.7L Over 8600 GVW


Object Number: 31879  Size: FS
Engine Controls Components
Instrument Cluster, Instrument Panel, and the DLC - 7.4L Federaland California
PC Solenoid and the TFP Sensor - 5.7L Over 8600 GVW
OBD II Symbol Description Notice
Handling ESD Sensitive Parts Notice
Figure 37:

Instrument Cluster, Instrument Panel, and the DLC - 7.4L Federal and California


Object Number: 31832  Size: FS
Engine Controls Components
Vehicle Control Module Overview
CMP, CKP, ICM, and the Ignition Coil - 7.4L Federal and California
A/C System - 5.7L Over 8600 GVW
OBD II Symbol Description Notice
Handling ESD Sensitive Parts Notice
Handling ESD Sensitive Parts Notice
Handling ESD Sensitive Parts Notice
Figure 38:

CMP, CKP, ICM, and the Ignition Coil - 7.4L Federal and California


Object Number: 31839  Size: FS
Engine Controls Components
Enhanced Ignition System Description/Operation
Fuel Pump - 7.4L Federal and California
Fuel Pump - 4.3L
OBD II Symbol Description Notice
Handling ESD Sensitive Parts Notice
Handling ESD Sensitive Parts Notice
Figure 39:

Fuel Pump - 7.4L Federal and California


Object Number: 31841  Size: FS
Engine Controls Components
Fuel System SFI
Fuel Injectors - 7.4L Federal and California
CMP, CKP, ICM, and the Ignition Coil - 7.4L Federal and California
OBD II Symbol Description Notice
Handling ESD Sensitive Parts Notice
Figure 40:

Fuel Injectors - 7.4L Federal and California


Object Number: 31855  Size: FS
Engine Controls Components
Fuel System SFI
MAP, IAT, TP, and ECT Sensors - 7.4L Federal and California
Fuel Pump - 7.4L Federal and California
OBD II Symbol Description Notice
Handling ESD Sensitive Parts Notice
Figure 41:

MAP, IAT, TP, and ECT Sensors - 7.4L Federal and California


Object Number: 31859  Size: FS
Engine Controls Components
Information Sensors 5.7L, 7.4L
MAF, EVAP, and EGR Systems - 7.4L Federal and California
Fuel Injectors - 7.4L Federal and California
OBD II Symbol Description Notice
Handling ESD Sensitive Parts Notice
Handling ESD Sensitive Parts Notice
Figure 42:

MAF, EVAP, and EGR Systems - 7.4L Federal and California


Object Number: 31861  Size: FS
Engine Controls Components
Information Sensors 5.7L, 7.4L
Heated Oxygen Sensors - 7.4L Federal and California
MAP, IAT, TP, and ECT Sensors - 7.4L Federal and California
OBD II Symbol Description Notice
Handling ESD Sensitive Parts Notice
Figure 43:

Heated Oxygen Sensors - 7.4L Federal and California


Object Number: 31864  Size: FS
Engine Controls Components
Information Sensors 5.7L, 7.4L
Idle Air Control - 7.4L Federal and California
MAF, EVAP, and EGR Systems - 7.4L Federal and California
OBD II Symbol Description Notice
Handling ESD Sensitive Parts Notice
Figure 44:

Idle Air Control - 7.4L Federal and California


Object Number: 31870  Size: FS
Engine Controls Components
Fuel System Diagnosis Fuel Control
Vehicle Speed Sensor - 7.4L Federal and California
Heated Oxygen Sensors - 7.4L Federal and California
OBD II Symbol Description Notice
Handling ESD Sensitive Parts Notice
Handling ESD Sensitive Parts Notice
Figure 45:

Vehicle Speed Sensor - 7.4L Federal and California


Object Number: 31872  Size: FS
Engine Controls Components
Fuel System Diagnosis Fuel Control
Transmission and the TCC - 7.4L Federal and California
Idle Air Control - 7.4L Federal and California
OBD II Symbol Description Notice
Handling ESD Sensitive Parts Notice
Handling ESD Sensitive Parts Notice
Handling ESD Sensitive Parts Notice
Handling ESD Sensitive Parts Notice
Handling ESD Sensitive Parts Notice
Figure 46:

Transmission and the TCC - 7.4L Federal and California


Object Number: 38167  Size: FS
Engine Controls Components
Information Sensors 5.7L, 7.4L
PC Solenoid and the TFP Sensor - 7.4L Federal and California
Vehicle Speed Sensor - 7.4L Federal and California
OBD II Symbol Description Notice
Handling ESD Sensitive Parts Notice
Figure 47:

PC Solenoid and the TFP Sensor - 7.4L Federal and California


Object Number: 31877  Size: FS
Engine Controls Components
A/C System - 7.4L Federal and California
Transmission and the TCC - 7.4L Federal and California
OBD II Symbol Description Notice
Handling ESD Sensitive Parts Notice
Handling ESD Sensitive Parts Notice
Handling ESD Sensitive Parts Notice
Figure 48:

A/C System - 7.4L Federal and California


Object Number: 31879  Size: FS
Engine Controls Components
AIR System - 7.4L California Only
CK11B
OBD II Symbol Description Notice
Handling ESD Sensitive Parts Notice
Figure 49:

AIR System - 7.4L California Only


Object Number: 31880  Size: FS
Engine Controls Components
Secondary Air Injection System Description
Instrument Cluster, Instrument Panel, and the DLC - 5.0L
A/C System - 7.4L Federal and California
OBD II Symbol Description Notice
Handling ESD Sensitive Parts Notice