GM Service Manual Online
For 1990-2009 cars only

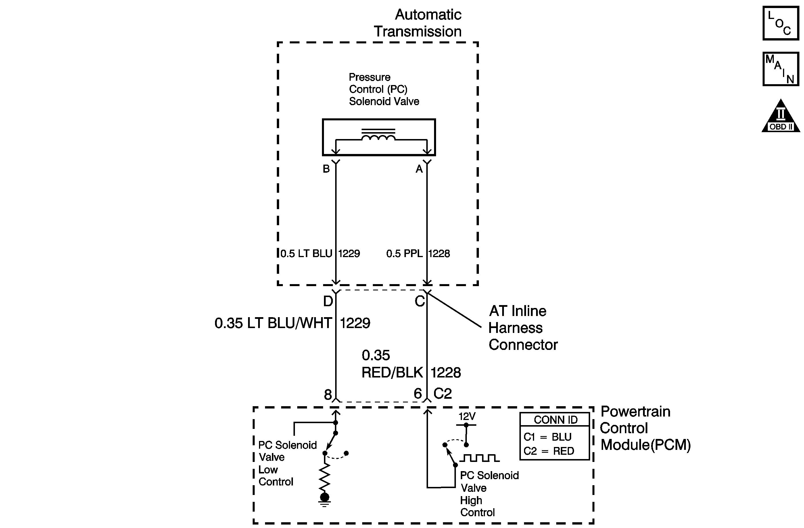
Object Number: 651690  Size: MF
Master Electrical Component List
Automatic Transmission Controls Schematics
OBD II Symbol Description Notice

Circuit Description

The pressure control (PC) solenoid valve is an electronic device that regulates transmission line pressure based on the current flow through its coil winding. The magnetic field produced by the coil moves the solenoid's internal valve which varies pressure to the pressure regulator valve. The powertrain control module (PCM) controls the PC solenoid valve by applying a varying amount of amperage to the solenoid. The applied amperage can vary from 0.1 to 1.1 amps. Low amperage, 0.1 amp, indicates high line pressure. High amperage, 1.1 amps, indicates low line pressure. The duty cycle of the PC solenoid valve is expressed as a percentage of energized ON time. Zero percent indicates zero ON time, non-energized, or no current flow. Approximately 60 percent at idle indicates maximum ON time, energized, or high current flow. The PCM determines the appropriate line pressure for a given load by comparing the throttle position sensor voltage, the engine speed and other inputs.

When the PCM detects a continuous open or short in the PC solenoid valve circuit, then DTC P0748 sets. DTC P0748 is a type C DTC.

Conditions for Running the DTC

    • The system voltage is 10-18 volts.
    • The engine is running.

Conditions for Setting the DTC

The PC solenoid valve duty cycle reaches its high limit, approximately 95 percent, or low limit, approximately 0 percent.

Action Taken When the DTC Sets

    • The PCM does not illuminate the malfunction indicator lamp (MIL).
    • The PC solenoid valve is OFF.
    • The PCM freezes shift adapts from being updated.
    • The PCM records the operating conditions when the Conditions for Setting the DTC are met. The PCM stores this information as Failure Records.
    • The PCM stores DTC P0748 in PCM history.

Conditions for Clearing the DTC

    • A scan tool can clear the DTC.
    • The PCM clears the DTC from PCM history if the vehicle completes 40 warm-up cycles without a non-emission-related diagnostic fault occurring.
    • The PCM cancels the DTC default actions when the fault no longer exists and/or the ignition switch is OFF long enough in order to power down the PCM.

Diagnostic Aids

DTC P0748 may set under low voltage conditions caused by high electrical system demands.

Test Description

The numbers below refer to the step numbers on the diagnostic table.

  1. This step tests the ability of the PCM to command the PC solenoid valve.

  2. This step tests the PC solenoid valve and automatic transmission wiring harness assembly for incorrect resistance.

DTC P0748

Step

Action

Value(s)

Yes

No

1

Did you perform the Powertrain Diagnostic System Check?

--

Go to Step 2

Go to Diagnostic System Check - Engine Controls in Engine Controls - 4.8 L, 5.3 L and 6.0 L

2

  1. Install a scan tool.
  2. Turn ON the ignition, with the engine OFF.
  3. Important: Before clearing the DTC, use the scan tool in order to record the Failure Records. Using the Clear Info function erases the Failure Records from the PCM.

  4. Record the DTC Failure Records.
  5. Clear the DTC.
  6. Start the engine.
  7. Use the scan tool in order to command 0.1 amp through 1.0 amp while observing PC Sol. Ref. Current and PC Sol. Actual Current.

Is the PC Sol. Actual Current always within the specified value of the PC Sol. Ref. Current?

0.16 amp

Go to Intermittent Conditions in Engine Controls - 4.8 L, 5.3 L and 6.0 L

Go to Step 3

3

  1. Turn OFF the ignition.
  2. Disconnect the AT inline 20-way connector.
  3. Install the J 44152 Jumper Harness (20 pins) on the transmission side of the AT inline 20-way connector.
  4. Using the DMM and the J 35616 GM Terminal Test Kit, measure the resistance between terminals C and D of the J 44152 .
  5. Refer to Automatic Transmission Inline Harness Connector End View .

Does the resistance measure within the specified range?

3-7 ohms

Go to Step 5

Go to Step 4

4

Does the resistance measure greater than the specified value?

7 ohms

Go to Step 9

Go to Step 10

5

Measure the resistance from terminal C of the J 44152 to the transmission case.

Refer to Automatic Transmission Inline Harness Connector End View .

Does the resistance measure greater than the specified value?

250 K ohms

Go to Step 6

Go to Step 11

6

  1. Disconnect the J 44152 from the transmission side of the AT inline 20-way connector.
  2. Reconnect the transmission AT inline 20-way connector.
  3. Disconnect the PCM connector C2.
  4. Measure the resistance between PCM connector terminal C2-6 and terminal C2-8.

Does the resistance measure within the specified range?

3-7 ohms

Go to Step 8

Go to Step 7

7

Does the resistance measure greater than the specified value?

7 ohms

Go to Step 12

Go to Step 13

8

Using the DMM and the J 35616 , measure the resistance from PCM connector terminal C2-6 to ground.

Does the resistance measure greater than the specified value?

250 K ohms

Go to Step 17

Go to Step 14

9

Test the high control circuit (CKT 1228) and the low control circuit (CKT 1229) of the PC solenoid valve for an open between the AT inline 20-way connector and the PC solenoid valve.

Refer to Circuit Testing in Wiring Systems.

Did you find an open condition?

--

Go to Step 16

Go to Step 15

10

Test the high control circuit (CKT 1228) and the low control circuit (CKT 1229) of the PC solenoid valve for a shorted together condition between the AT inline 20-way connector and the PC solenoid valve.

Refer to Circuit Testing in Wiring Systems.

Did you find a shorted together condition?

--

Go to Step 16

Go to Step 15

11

Test the high control circuit (CKT 1228) and the low control circuit (CKT 1229) of the PC solenoid valve for a short to ground between the AT inline 20-way connector and the PC solenoid valve.

Refer to Circuit Testing in Wiring Systems.

Did you find a short to ground condition?

--

Go to Step 16

Go to Step 15

12

Test the high control circuit (CKT 1228) and the low control circuit (CKT 1229) of the PC solenoid valve for an open between the PCM connector C2 and the AT inline 20-way connector.

Refer to Circuit Testing and Wiring Repairs in Wiring Systems.

Did you find and correct the condition?

--

Go to Step 18

--

13

Test the high control circuit (CKT 1228) and the low control circuit (CKT 1229) of the PC solenoid valve for a shorted together condition between the PCM connector C2 and the AT inline 20-way connector.

Refer to Circuit Testing and Wiring Repairs in Wiring Systems.

Did you find and correct the condition?

--

Go to Step 18

--

14

Test the high control circuit (CKT 1228) and the low control circuit (CKT 1229) of the PC solenoid valve for a short to ground between the PCM connector C2 and the AT inline 20-way connector.

Refer to Circuit Testing and Wiring Repairs in Wiring Systems.

Did you find and correct the condition?

--

Go to Step 18

--

15

Replace the PC solenoid valve.

Refer to Valve Body and Pressure Switch Replacement .

Did you complete the replacement?

--

Go to Step 18

--

16

Replace the AT wiring harness assembly.

Refer to Valve Body and Pressure Switch Replacement .

Did you complete the replacement?

--

Go to Step 18

--

17

Replace the PCM.

Refer to Powertrain Control Module Replacement in Engine Controls - 4.8 L, 5.3 L and 6.0 L.

Did you complete the replacement?

--

Go to Step 18

--

18

Perform the following procedure in order to verify the repair:

  1. Select DTC.
  2. Select Clear Info.
  3. Start the engine and ensure that the following condition is met:
  4. The difference between the scan tool PC Sol. Actual Current and the PC Sol. Ref. Current is less than 0.16 amp.

  5. Select Specific DTC.
  6. Enter DTC P0748.

Has the test run and passed?

--

System OK

Go to Step 1