GM Service Manual Online
For 1990-2009 cars only

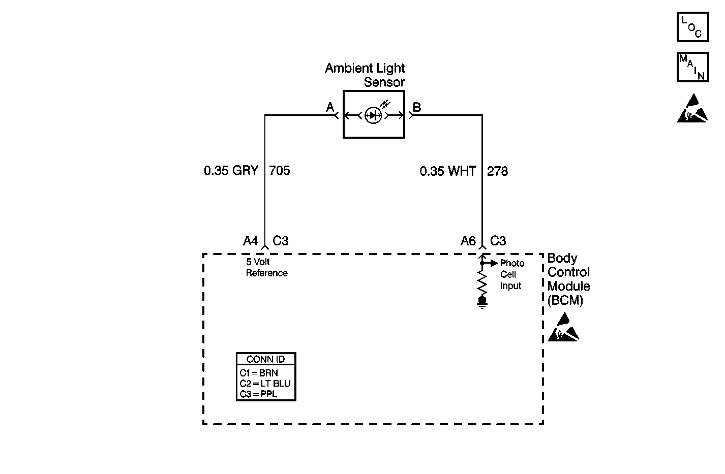
Object Number: 533690  Size: MF
Body Control Module Components
Body Control System Schematics
Handling ESD Sensitive Parts Notice

Circuit Description

The body control module (BCM) provides a constant output reference voltage (5 volts) for the proper operation of the ambient light sensor. The constant output reference voltage supply ensures that variations in the output signal of the ambient light sensor are due to changes of the sensor rather than variations in the voltage supply. The BCM monitors the constant output reference voltage (5 volts) and sets a DTC when the output is not within the expected range (4.75   5.25 volts).

Conditions for Running the DTC

    • The system voltage must be between 9.0 and 16.0 volts.
    • The ignition switch must be in the RUN position.
    • The park brake must be released.
    • The headlamp switch must be in the AUTO position.

Conditions for Setting the DTC

    • When the 5 volt reference output circuit is less than 4.75 volts (shorted to ground).
    • The above conditions are met for 0.5 seconds.

Action Taken When the DTC Sets

The daytime running lamps (DRL) feature will not operate.

Conditions for Clearing the DTC

    • The DTC will clear on current status after the condition for setting the fault is corrected.
    • A history DTC will clear after 100 consecutive ignition cycles without a fault present.
    • A scan tool may be used to clear history and current DTC's.

Diagnostic Aids

    • A short to ground in CKT 705 will only cause this DTC to be set.
    • Perform a visual inspection for loose or poor connections at all related components.
    • Refer to Testing for Intermittent Conditions and Poor Connections in Wiring Systems.

Test Description

The number(s) below refer to the step number(s) on the diagnostic table.

  1. Tests for the proper operation of the circuit in the low voltage range.

  2. Tests for the proper operation of the circuit in the high voltage range. If the fuse in the jumper opens when you perform this test, the signal circuit is shorted to ground.

  3. Tests for a short to voltage in the 5 volt reference circuit.

Step

Action

Value(s)

Yes

No

1

Did you perform the Body Control Module Diagnostic System Check?

--

Go to Step 2

Go to Diagnostic System Check - Body Control System

2

  1. Install a scan tool.
  2. Turn ON the ignition, with the engine OFF.
  3. With a scan tool, observe the Ambient Light Sensor parameter in the Body Control Module (BCM) data list .

Does the scan tool indicate that the Ambient Light Sensor parameter is within the specified range?

0.2 - 4.7 volts

Go to Diagnostic Aids

Go to Step 3

3

  1. Turn OFF the ignition.
  2. Disconnect the ambient light sensor.
  3. Turn ON the ignition, with the engine OFF.
  4. With a scan tool, observe the Ambient Light Sensor parameter.

Does the scan tool indicate that the Ambient Light Sensor parameter is less than the specified value?

0.2 volts

Go to Step 4

Go to Step 9

4

  1. Turn OFF the ignition.
  2. Connect a 3 amp fused jumper wire between the 5 volt reference circuit of the ambient light sensor and the signal circuit of the ambient light sensor.
  3. Turn ON the ignition, with the engine OFF.
  4. With a scan tool, observe the Ambient Light Sensor parameter.

Does the scan tool indicate that the Ambient Light Sensor parameter is greater than the specified value?

4.7 volts

Go to Step 5

Go to Step 7

5

  1. Disconnect the fused jumper wire.
  2. Measure the voltage between the 5 volt reference circuit of the ambient light sensor and the signal circuit of the ambient light sensor.

Does the voltage measure less than the specified value?

5.25 volts

Go to Step 10

Go to Step 6

6

Test the 5 volt reference circuit of the ambient light sensor for a short to voltage. Refer to Circuit Testing and Wiring Repairs in Wiring Systems.

Did you find and correct the condition?

--

Go to Step 14

Go to Step 11

7

Test the 5 volt reference circuit of the ambient light sensor for a short to ground, a high resistance, or an open. Refer to Circuit Testing and Wiring Repairs in Wiring Systems.

Did you find and correct the condition?

--

Go to Step 14

Go to Step 8

8

Test the signal circuit of the ambient light sensor for a short to ground, a high resistance, or an open. Refer to Circuit Testing and Wiring Repairs in Wiring Systems.

Did you find and correct the condition?

--

Go to Step 14

Go to Step 11

9

Test the signal circuit of the ambient light sensor for a short to voltage. Refer to Circuit Testing and Wiring Repairs in Wiring Systems.

Did you find and correct the condition?

--

Go to Step 14

Go to Step 11

10

Inspect for poor connections at the harness connector of the ambient light sensor. Refer to Testing for Intermittent Conditions and Poor Connections and Connector Repairs in Wiring Systems.

Did you find and correct the condition?

--

Go to Step 14

Go to Step 12

11

Inspect for poor connections at the harness connector of the BCM. Refer to Testing for Intermittent Conditions and Poor Connections and Connector Repairs in Wiring Systems.

Did you find and correct the condition?

--

Go to Step 14

Go to Step 13

12

Replace the ambient light sensor. Refer to Ambient Light Sensor Replacement in Lighting Systems.

Did you complete the replacement?

--

Go to Step 14

--

13

  1. Replace the BCM. Refer to Body Control Module Replacement .
  2. Program the BCM with the proper calibrations. Refer to Body Control Module (BCM) Programming/RPO Configuration

Did you complete the replacement?

--

Go to Step 14

--

14

  1. Use the scan tool in order to clear the DTCs.
  2. Operate the vehicle within the Conditions for Running the DTC as specified in the supporting text.

Does the DTC reset?

--

Go to Step 2

System OK