GM Service Manual Online
For 1990-2009 cars only
Makes
🢒
Chevrolet
🢒
1998
🢒
Tracker - 2WD
🢒
Engine
🢒
Engine Electrical
🢒 Engine Electrical Component Views
Figure
1:
Engine
(1)
Fuel Injector #1
(2)
Fuel Injector #2
(3)
Fuel Injector #3
(4)
Idle Air Control (IAC) Valve
(5)
Fuel Injector #4
(6)
Oil Pressure Switch
(7)
C105
(8)
Evaporative Canister Purge Valve
(9)
Exhaust Gas Recirculation Solenoid Vacuum (EGR SV) Valve (Brown valve)/ EGR Bypass Valve (Blue Valve)
(10)
A/C Compressor Engine Coolant Temperature (RCT) Switch
(11)
Engine Coolant Temperature (ECT) Sensor
(12)
Generator
(13)
Engine Coolant Temperature (ECT) Sending Unit
(14)
Starter Solenoid
(15)
G107
(16)
Park/Neutral Position Switch C1-C2 (Automatic Transmission--3 Speed)
(17)
C104
(18)
Exhaust Gas Recirculation (EGR) Valve
(19)
Exhaust Gas Recirculation (EGR) Bypass Valve
(20)
G102
(21)
G101
(22)
Throttle Position Sensor
Figure
2:
Left Bulkhead
(1)
C101
(2)
C102
(3)
G109
(4)
Brake Fluid Level Switch Connector
(5)
Front Wiper Motor
(6)
Main Harness
(7)
P200
(8)
Noise Supressor Filter
(9)
C100 / C103
(10)
To Heated Oxygen Sensor (HO2S1)
(11)
G101
(12)
Distributor
Figure
3:
Right Front Engine Compartment
(1)
Torque Convertor Clutch (TCC) Relay
(2)
A/C Compressor Clutch
(3)
A/C Condensor Fan
(4)
A/C Cycling (Dual Pressure) Switch
(5)
A/C Sub-harness
(6)
G105 / G106 / G108
(7)
Torque Convertor Clutch (TCC) Relay
(8)
A/C Clutch Relay
(9)
A/C Condenser Fan Relay
(10)
Shift Lock Relay
(11)
Fuse Block 1
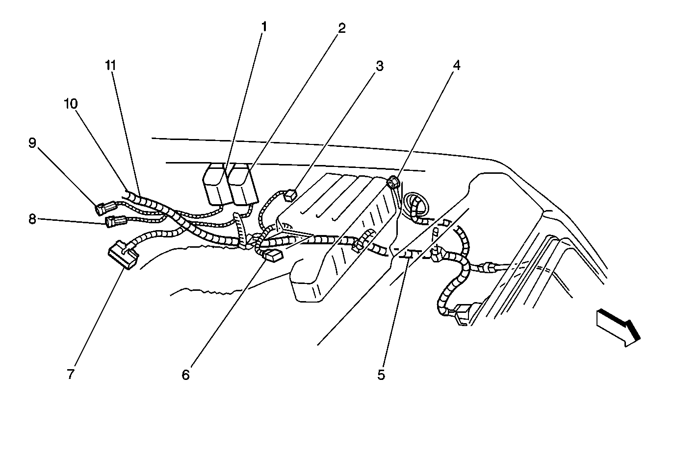
Figure
4:
Left Front Engine Compartment
(1)
Lamp Driver Relay
(2)
Electronic Brake Control Relay
(3)
Intake Air Temperature (IAT) Sensor Connector
(4)
G100
(5)
S120
(6)
Mass Air Flow (MAF) Sensor Connector
(7)
ABS Hydraulic Motor Pad
(8)
Left Front ABS Solenoid
(9)
Right Front ABS Solenoid
(10)
Main Harness
(11)
S116 / S141
Figure
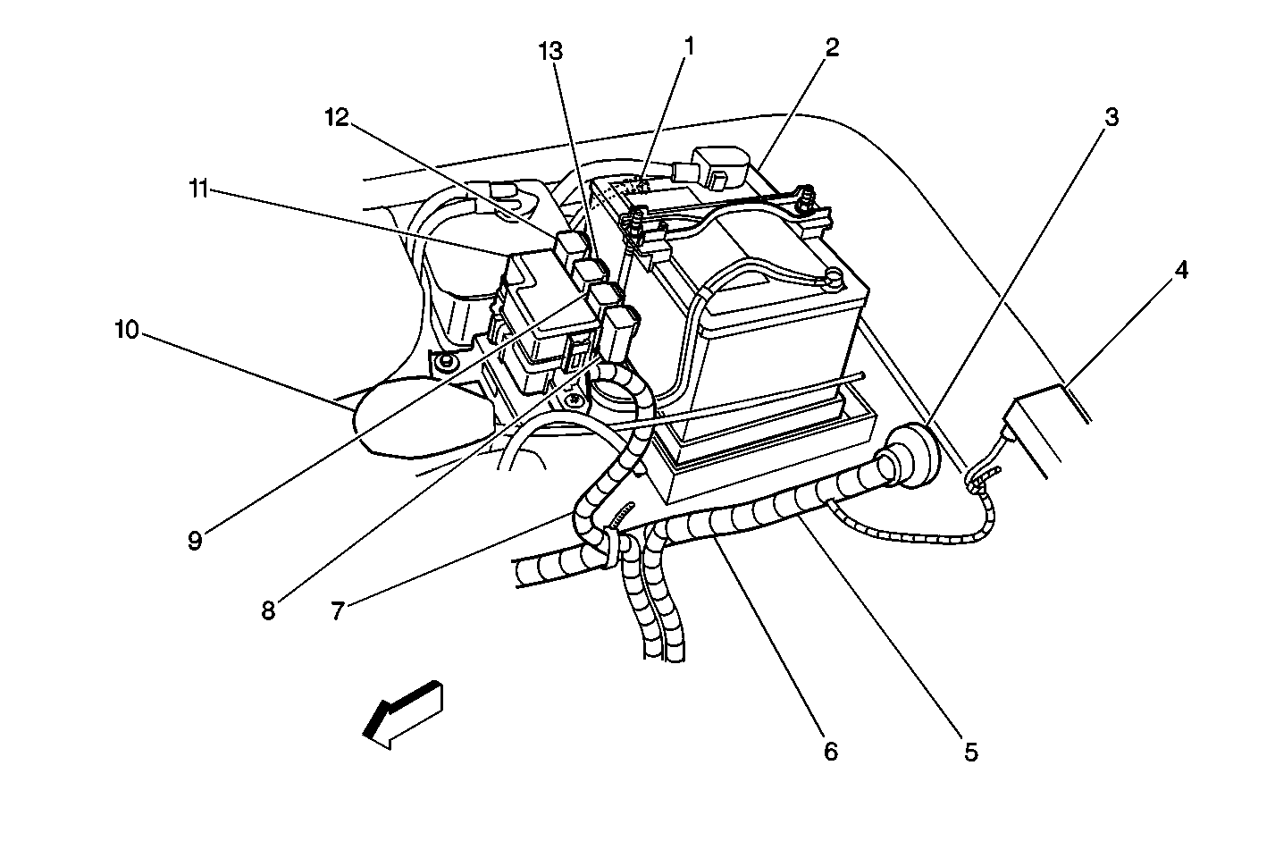
5:
Right Rear Engine Compartment
(1)
G105 / G106 / G108
(2)
Battery
(3)
P201
(4)
Manifold Absolute Pressure (MAP) Sensor
(5)
Main Harness
(6)
S131
(7)
S115
(8)
Shift Lock Relay
(9)
A/C Condenser Fan Relay
(10)
Cruise Control Actuator
(11)
Fuse Block 1
(12)
Torque Converter Clutch (TCC) Relay
(13)
A/C Clutch Relay