GM Service Manual Online
For 1990-2009 cars only

Setting Pinion Depth

Pinion depth is the distance from the face of the pinion gear to the center line of the ring gear. Pinion depth is critical to all differentials. Each ring and pinion gear set is matched so as to produce the best tooth contact pattern. Pinion depth is controlled by placing the proper selective shim between the pinion gear and the inner bearing. Pinion depth is set with the J 21777-B pinion setting gage set which provides a nominal or 0 as a gaging reference to find the pinion center. If the original ring and pinion gears and pinion bearings are reused, the original size selective shim will set the proper pinion depth.

Tools Required

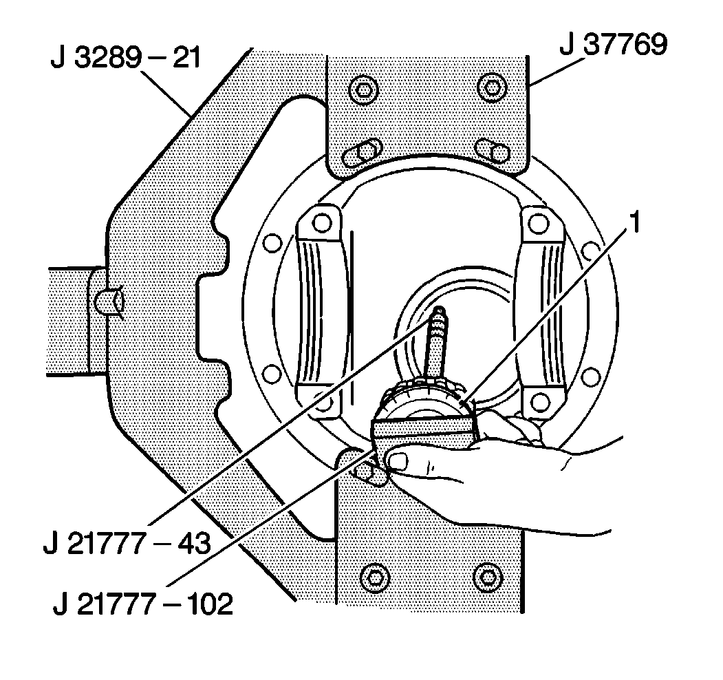
    •  J 3289-20 Holding Fixture Base
    • J 3289-21 Holding Fixture
    • J 37769 Differential Holding Fixture Adapters
    • J 8001 Dial Indicator Set
    • J 23597-1 Arbor
    • J 23597-12 Pilot Washer
    • J 21777-42 Pilot Washer
    • J 21777-43 Stud Assembly
    • J 21777-101 Side Bearing Discs
    • J 21777-102 Gage Plate
  1. Lubricate both the inner and the outer pinion bearings with wheel bearing lubricant GM P/N 1051344, or equivalent.

  2. Object Number: 173881  Size: SH
  3. Assemble the gauge plate and the stud assembly.

  4. Object Number: 173876  Size: SH
  5. Place the inner pinion bearing into the differential carrier and install the J 21777-102 , the J 23597-12 , the J 21777-43 and the J 21777-42 .

  6. Object Number: 173879  Size: SH
  7. Place the outer pinion bearing into the differential carrier and install the J 21777-102 , the J 23597-12 , the J 21777-43 and the J 21777-42 .

  8. Object Number: 173896  Size: SH
  9. Hold the J 21777-43 stationary.
  10. Tighten
    Tighten the J 21777-43 jam nut to 2 N·m (18 lb in).

  11. Rotate J 21777-102 25 revolutions in order to ensure the pinion bearings (1) are fully seated.
  12. Tighten
    Tighten the J 21777-43 jam nut to 2 N·m (18 lb in).


    Object Number: 173896  Size: SH
  13. Install the J 21777-101 in the side bearing bores with the J 23597-1 through both of the J 21777-101 .
  14. Rotate the J 21777-102 until both gage levels are parallel with the J 21777-101 .
  15. Install the dial indicator spring loaded plunger extension through the J 23597-1 and position over the 97 mm level of the J 21777-102 .
  16. Install the J 8001 to the J 23597-1 and position the J 8001 plunger over the spring loaded plunger extension and slightly load the J 8001 .
  17. Rotate the J 8001 adjustable face so that the needle indicates 0.
  18. Slowly rotate the J 23597-1 back and forth so that the spring loaded plunger extension sweeps back and forth across the J 21777-102 while observing the J 8001 .
  19. Stop the J 23597-1 at the J 8001 greatest point of deflection.
  20. Without disturbing the J 8001 needle setting, rotate the J 8001 adjustable face so that the needle indicates 0.
  21. Slowly rotate the J 23597-1 until the spring loaded plunger extension is no longer making contact with the J 21777-102
  22. Important: This reading indicates the selective shim required for the correct pinion depth. Refer to the Spacer and Shim Specifications Pinion Depth Selective Shims Table for the appropriate shim size.

  23. Record the deflection reading on the J 8001 .
  24. Remove the J 8001 and the spring loaded plunger extension from the J 23597-1
  25. Remove the J 23597-1 and the two J 21777-101 from the differential carrier.

  26. Object Number: 173888  Size: SH
  27. Remove the J 21777-102 , the J 3289-21 ,the J 21777-43 and the J 21777-42 from the differential carrier.
  28. Remove the inner pinion bearings from the differential carrier.
  29. Remove the outer pinion bearing from the differential carrier.