GM Service Manual Online
For 1990-2009 cars only

Installation Procedure

Tools Required

    • J 3289-20 Holding Fixture Base
    • J 3289-21 Holding Fixture
    • J 37769 Differential Holding Fixture Adapters
    • J 8614-01 Flange Holder
    • J 24433 Side Bearing Installer
    • J 8107-4 Differential Side Bearing Remover Plug
    • J 8092 Driver Handle
    • J 37758 Pinion Outer Race Installer
    • J 37759 Pinion Inner Bearing Race Installer
    • J 8001 Dial Indicator Set

    Object Number: 174724  Size: SH
  1. Install the following into the differential case:
  2. • Differential pinion gears (2)
    • Washers
    • Side gears (1) with the selective washer
  3. Install the pinion shaft into the differential case.

  4. Object Number: 174725  Size: SH
    • Measure the left differential side gear (1) end play using the J 8001 . Place the plunger between the teeth of the left side gear and move the left side gear up and down using two screw drivers while observing the J 8001 . The left side gear end play should measure 0.12 to 0.37 mm (0.005 to 0.014 in). If the left side gear end play is too high or low, replace the side gear selective washer with the appropriate size to obtain correct end play.
    • Measure the right differential side gear (1) end play using the J 8001 . Place the plunger on the rear of the right differential side gear and using the finger tips of both hands, gently move the right differential side gear up and down while observing the J 8001 . The side gear end play should measure 0.12 to 0.37 mm (0.005 to 0.014 in). If the side gear end play is too high or low, replace the side gear selective washer with the appropriate size to obtain correct end play.

    Object Number: 174728  Size: SH
  5. Install the pinion shaft roll pin into the differential case (1) and through the pinion shaft (3). The roll pin end should be even with the differential case surface.

  6. Object Number: 173753  Size: SH

    Important: After correct end play has been obtained, remove the ring gear bolts (1) and apply GM P/N 12345493, or equivalent, to the threaded portion of each ring gear bolt and install into the differential case.

  7. Install the ring gear (1) to the differential case. Secure with ten bolts.
  8. Tighten
    Tighten the ring gear bolts to 85 N·m (63 lb ft).


    Object Number: 174732  Size: SH
  9. Install the side bearing (1) on the left side of the differential case (2) assembly using the J 37758 with the J 8092 . Place the differential case assembly on a hydraulic press.
  10. Use the J 37758 with the J 8092 in order to place the left differential side bearing on the left differential case with the tapered side up and slowly press the left differential side bearing onto the left differential case.


    Object Number: 174731  Size: SH
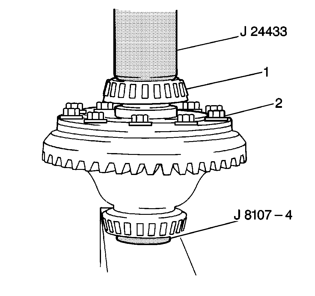
  11. Install the side bearing (1) on the right side of the differential case assembly (2) using the J 24433 with the J 8092 and J 8107-4 . Place the differential case assembly on a hydraulic press using the J 8107-4 for support and to protect the left differential side bearing. Use the J 24433 with the J 8092 in order to place the right differential side bearing on the right differential case with the tapered side up and slowly press the right differential side bearing onto the right differential case.

  12. Object Number: 174729  Size: SH
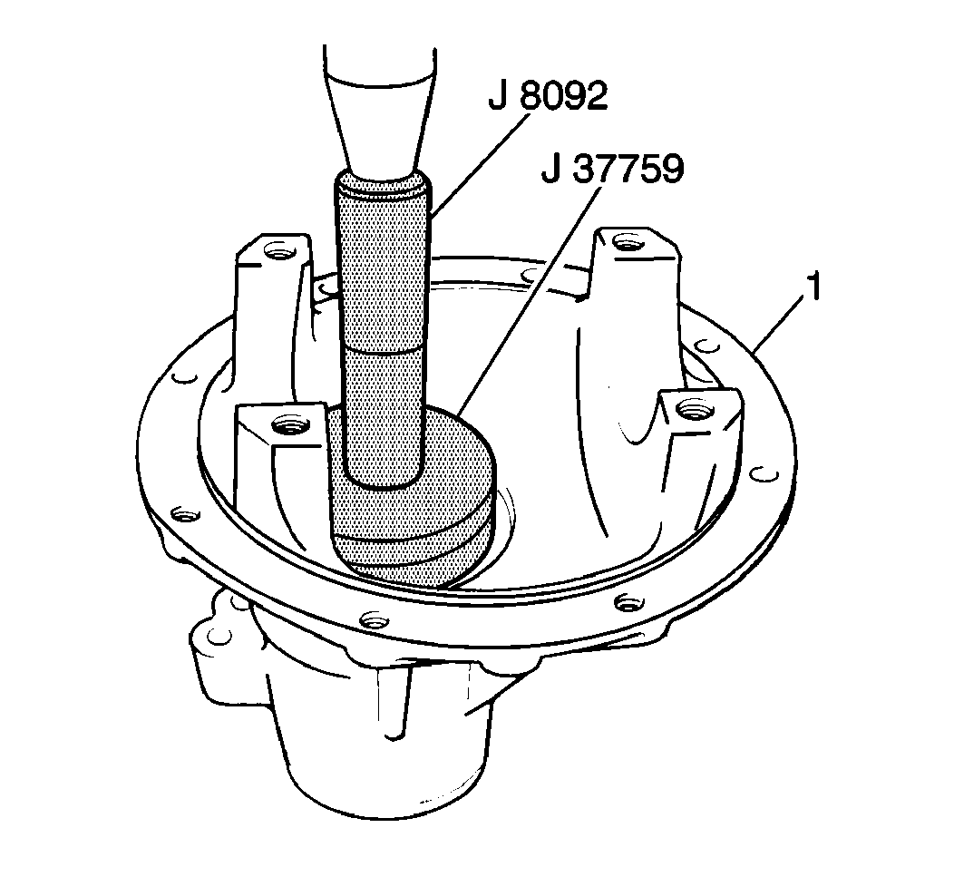
  13. Install the inner pinion bearing race into the differential carrier (1) using the J 37759 with the J 8092 . Place the differential carrier on a hydraulic press and position the inner pinion bearing race over its bore. Use the J 37759 with the J 8092 in order to slowly press the inner pinion bearing race evenly into the differential carrier.

  14. Object Number: 174730  Size: SH
  15. Install the outer pinion bearing race into the differential carrier (1) using the J 37758 with the J 8092 . Place the differential carrier on a hydraulic press and position the outer pinion bearing race over its bore. Use the J 37758 with the J 8092 , to slowly press the outer pinion bearing race evenly into the differential carrier.