GM Service Manual Online
For 1990-2009 cars only

Installation Procedure

Tools Required

    • J 8107-4 Differential Side Bearing Remover Plug
    • J 8092 Driver Handle
    • J 37758 Pinion Outer Race Installer
    • J 37759 Pinion Inner Bearing Race Installer
    • J 35138 Side Gear Thrust Play Tool
    • J 38891 Wheel Speed Sensor Installer
    • J 38890 Differential Torque Check Tool
    • J 8001 Dial Indicator Set

    Object Number: 173742  Size: SH
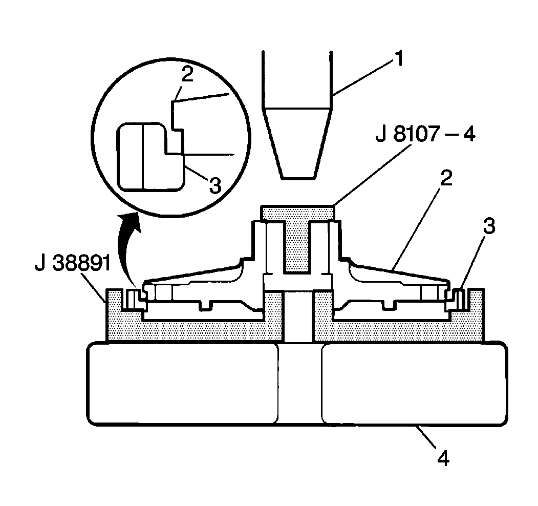
  1. Rear wheel antilock (ABS) speed sensor exciter ring (3) onto the left differential case (2) half using the J 38891 exciter ring installer and the J 8107-4 .
  2. Important: Observe the hydraulic pressure gauge during speed sensor exciter ring installation. Pressure exerted on the exciter ring should not exceed 500 kg (1102 lbs). If pressure higher than specified is needed to install the left differential case into the exciter ring, the two components may be misaligned. Reposition the left differential case in the exciter ring so that the pressure will be even around the perimeter and repeat the installation procedure.

  3. Place the exciter ring inside the J 38891 on a hydraulic press.
  4. Center the left differential case half in the exciter ring with the J 8107-4 side in the left axle shaft bore.
  5. Press the differential case half slowly and evenly into the exciter ring.

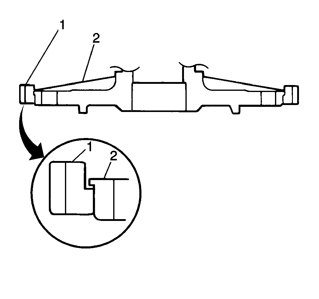
  6. Object Number: 173744  Size: SH
  7. Inspect the left differential case (2) face to make sure the speed sensor exciter ring (1) is flush with or higher than the left differential case.
  8. Notice: Use the correct fastener in the correct location. Replacement fasteners must be the correct part number for that application. Fasteners requiring replacement or fasteners requiring the use of thread locking compound or sealant are identified in the service procedure. Do not use paints, lubricants, or corrosion inhibitors on fasteners or fastener joint surfaces unless specified. These coatings affect fastener torque and joint clamping force and may damage the fastener. Use the correct tightening sequence and specifications when installing fasteners in order to avoid damage to parts and systems.

  9. Install the rear wheel speed sensor, if the vehicle is equipped. Secure with the rear wheel speed sensor bolt.
  10. Tighten
    Tighten the rear wheel speed sensor bolt to 23 N·m (17 lb ft).


    Object Number: 173743  Size: SH
  11. Install the following in the right differential case:
  12. • Right side gear and washers
    • Differential pinion gears (2) and washers (1)
    • Cross shafts
    • Pinion cross shaft joint

    Object Number: 173746  Size: SH
  13. Measure the right differential side gear (1) end play using the J 8001 .
  14. Insert fingers through the bottom openings of the right differential case (2) half and move the right differential side gear (1) up and down while observing the J 8001 .
  15. The right differential side gear end play should measure 0.12 to 0.37 mm (0.005 to 0.014 in).

  16. Replace the selective shim with the appropriate size to obtain correct end play, if the right differential side gear end play is too high or low.

  17. Object Number: 173751  Size: SH
  18. Install the cross shaft roll pins into the right differential case (4) half. The roll pin ends should be flush with the right differential case surface.

  19. Object Number: 173754  Size: SH
  20. Install the left differential side gear (1) and washers (2) into the right differential case.

  21. Object Number: 173753  Size: SH
  22. Install the left differential case half and ring gear (2) to the right differential case half. Secure with ten bolts (1)
  23. Tighten
    Tighten the ring gear bolts to 90 N·m (65 lb ft).


    Object Number: 173756  Size: MH
  24. Measure the left differential side gear end play using the J 8001 the J 35138 .
  25. Insert the J 35138 in through the left axle shaft differential case (1) bore.
  26. Adjust the J 35138 until the J 35138 has a firm grasp on the left differential side gear.
  27. Move the J 35138 up and down while observing the J 8001 . The left differential side gear end play should measure 0.12 to 0.37 mm (0.005 to 0.014 in).
  28. Replace the selective shim with the appropriate size to obtain the correct end play if the left differential side end play is too high or low.

  29. Object Number: 173758  Size: SH
  30. Install the side gear preload to the left differential case (1) using the J 38890 .
  31. Insert the J 38890 into either side bearing with a torque wrench.
  32. Measure the side bearing preload.
  33. The maximum side gear preload 2.4 N·m (21 lb in).

  34. Inspect the side and differential pinion gears for foreign material or damage if the preload exceeds the specification.
  35. Important: After the correct end play and preload has been obtained, remove the ring gear bolts and apply GM P/N 12345493, or the equivalent, to the threaded portion of each ring gear bolt and install into the differential case assembly.

    Tighten
    Tighten the ring gear bolts to 90 N·m (65 lb ft).


    Object Number: 173871  Size: SH
  36. Install the right differential side bearing (1) on the right side of the differential case assembly (2) using the J 37758 with the J 8092 .
  37. Place the differential case assembly on a hydraulic press using the J 8107-4 for support.
  38. Place the right side bearing on the right differential case with the taper side up using the J 37759 with the J 8092 .
  39. Slowly press the right differential side bearing onto the right differential case.

  40. Object Number: 173760  Size: SH
  41. Install the left differential case (2) to the left side of the differential case assembly using the J 37758 with the J 8092 and the J 8107-4 .
  42. Place the differential case assembly on a hydraulic press with the J 8107-4 for support and to protect the right differential side bearing (1).
  43. Place the left differential side bearing on the left differential case with the taper side up using the J 37758 with the J 8092 .
  44. Slowly press the left differential side bearing onto the left differential case.

  45. Object Number: 173864  Size: SH
  46. Install the inner pinion bearing race using the J 37759 and the J 8092 .
  47. Place the differential carrier (1) on a hydraulic press.
  48. Position the inner pinion bearing race over its bore.
  49. Use the J 37759 inner with the J 8092 to slowly press the inner pinion bearing race evenly into the differential carrier.

  50. Object Number: 173874  Size: SH
  51. Install the outer pinion bearing race (1) using the J 37758 with the J 8092 .
  52. Place the differential carrier (2) on a hydraulic press.
  53. Position the outer pinion bearing race over its bore.
  54. Press the outer pinion bearing race slowly and evenly into the differential carrier using the J 37758 with the J 8092 .