GM Service Manual Online
For 1990-2009 cars only

Mechanical Apply Components


Object Number: 172820  Size: SH

When the parking brake lever (2) is pulled up, the lower end swivels forward pulling the connecting rod.


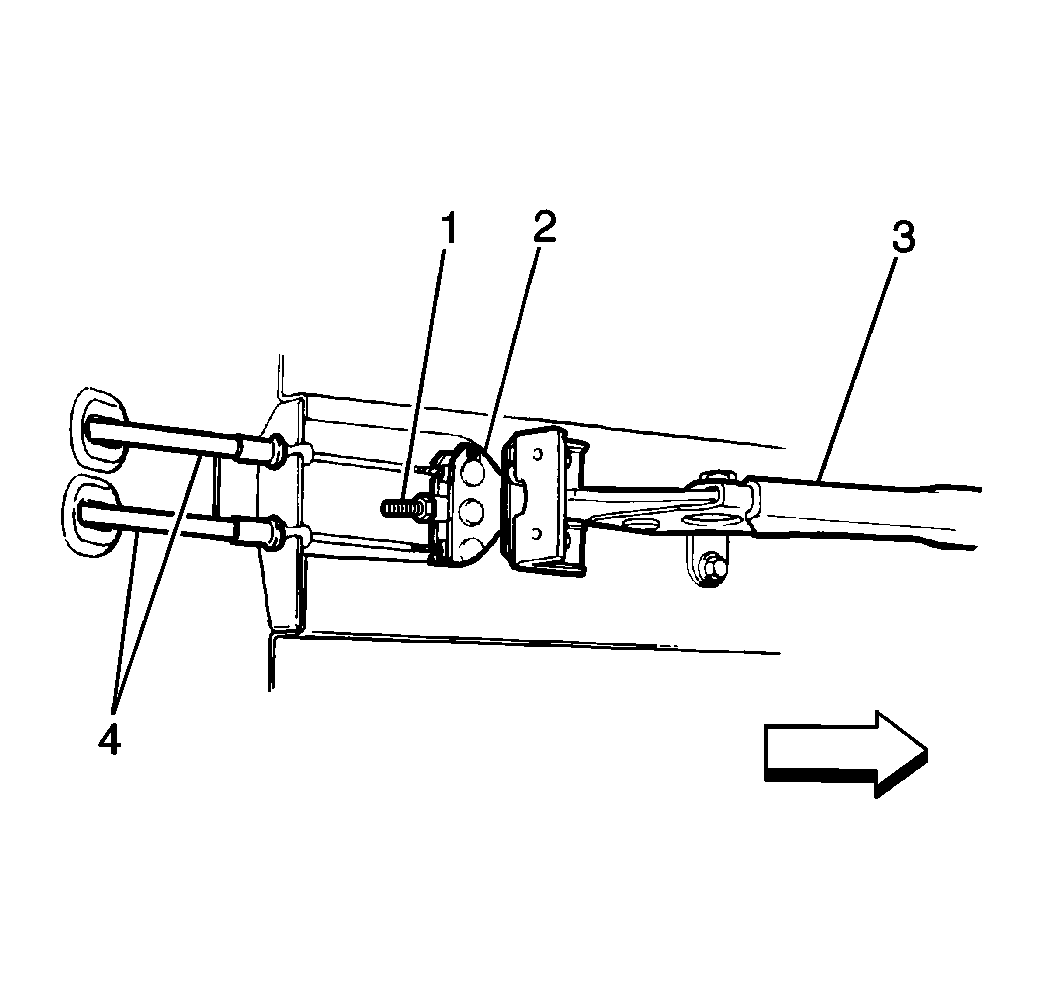
Object Number: 172823  Size: SH

The equalizer (2) (attached to the other end of the connecting rod) applies equal force to both of the parking brake cables (4).

The cables, in turn, pull on the parking brake shoe levers in both of the brake drums. The swivel of the brake shoe lever pushes the rear (trailing) brake shoe against the drum, preventing the tire and wheel assembly from turning.

Diagnosis

The parking brake assembly is designed to be completely applied before the parking brake lever completes its maximum travel.

Approximately six to eight CLICKS with 20 kg (44 lbs) of pressure should be audible before the lever reaches its maximum pull (the parking brake fully engaged). If the lever travel is outside of this range, the parking brake must be adjusted. Refer to Parking Brake Lever Adjustment .

If the parking brake is applied and cannot be released, look for any of the following:

    • Corroded or frozen cables
    • Stuck brake shoes
    • Broken or binding cable guides
    • Malfunctioning release button

If the parking brake lever moves freely through its entire range without resistance and without applying the parking brake, look for any of the following causes:

    • Missing locknut from the equalizer
    • Parking brake cables broken
    • Parking brake cables disconnected at the parking brake levers

If the parking brake lever moves freely through its entire range with normal resistance but without applying the parking brake, listen for the CLICKS indicating the pawl is being engaged. If none are heard, the pawl assembly is broken and the lever must be replaced. Refer to Park Brake Lever Assembly Replacement .

If CLICKS are heard, the parking brake is out of adjustment. For adjustment procedures, refer to Park Brake Lever Assembly Replacement .