GM Service Manual Online
For 1990-2009 cars only

Removal Procedure

Tools Required

J 29107-A Pitman Arm Puller

    Notice: The wheels of the vehicle must be straight ahead and the steering column in the LOCK position before disconnecting the steering column or intermediate shaft from the steering gear. Failure to do so will cause the coil assembly in the steering column to become uncentered which will cause damage to the coil assembly.

  1. Ensure the front wheels are in the straight ahead position.
  2. Notice: Do not start the vehicle with any power steering gear inlet or outlet hoses disconnected. When disconnected, plug or cap all openings of components. Failure to do so could result in contamination or loss of power steering fluid and damage to the system.


    Object Number: 348950  Size: SH
  3. Remove the pressure hose union bolt from the pressure hose.
  4. Remove the pressure hose from the steering gear.
  5. Loosen the hose clamp from the return hose.
  6. Remove the return hose from the steering gear.
  7. Plug the power steering hoses in order to keep the fluid from escaping.
  8. Raise and suitably support the vehicle. Refer to Lifting and Jacking the Vehicle in General Information.
  9. Remove the 4 bolts from the engine skid plate, if equipped.
  10. Remove the engine skid plate, if equipped.
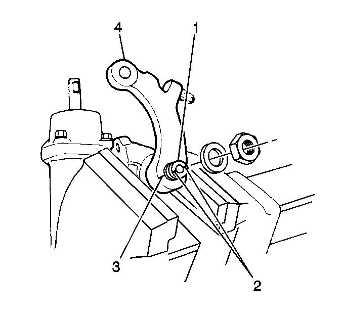
  11. Remove the cotter pin and the castle nut from the center link (1) ball joint.
  12. Use the J 29107-A in order to separate the pitman arm  (2) from the center link (1).

  13. Object Number: 349444  Size: SH
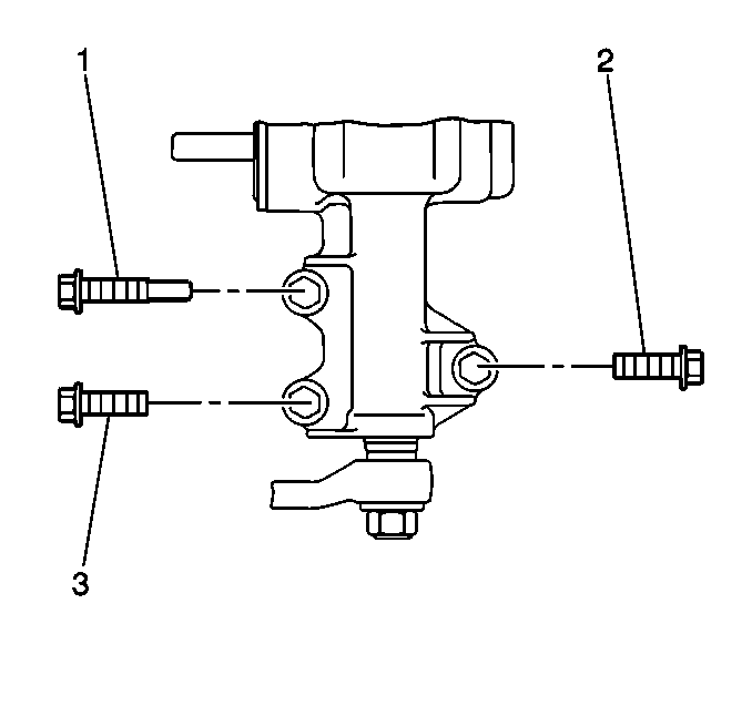
  14. Remove the pinch bolt in order to remove the lower steering shaft (4) from the power steering gear (1).
  15. Remove the 2 power steering gear mounting bolts and the pilot bolt.
  16. Remove the steering gear (1) from the vehicle.

  17. Object Number: 348939  Size: SH
  18. Mount the steering gear in a table vise.
  19. Place match marks (2, 3) on the sector shaft (1) and the pitman arm (4).
  20. Remove the sector shaft nut and the pitman arm (4) from the steering gear.

Installation Procedure


    Object Number: 348939  Size: SH
  1. Install the pitman arm (4) to the power steering gear.
  2. Align the match marks (2, 3) on the sector shaft (1) and the pitman arm (4). Secure the pitman arm (4) with the sector nut. Do not fully tighten the sector nut.

  3. Object Number: 349433  Size: SH
  4. Install the steering gear to the vehicle.
  5. Notice: Use the correct fastener in the correct location. Replacement fasteners must be the correct part number for that application. Fasteners requiring replacement or fasteners requiring the use of thread locking compound or sealant are identified in the service procedure. Do not use paints, lubricants, or corrosion inhibitors on fasteners or fastener joint surfaces unless specified. These coatings affect fastener torque and joint clamping force and may damage the fastener. Use the correct tightening sequence and specifications when installing fasteners in order to avoid damage to parts and systems.

  6. Secure the power steering gear with the 2 mounting bolts (2, 3) and the pilot bolt (1).
  7. Tighten

        • Tighten the power steering mounting bolts and the pilot bolt to 85 N·m (61.5 lb ft).
        • Tighten the pitman arm sector shaft nut to 130 N·m (95 lb ft).

    Object Number: 349444  Size: SH
  8. Install the lower steering shaft (4) to the steering gear (1).
  9. Align the shaft flats at the coupling.

  10. Secure the lower steering shaft with the pinch bolt.

  11. Object Number: 348950  Size: SH
  12. Install the pitman arm (2) to the center link (1). Secure the pitman arm (2) with the castle nut.
  13. Tighten
    Tighten the center link-to-pitman arm castle nut to 55 N·m (40 lb ft).

  14. Install the cotter pin to the center link (1).
  15. Install the engine skid plate, if equipped.
  16. Secure the engine skid plate with the 4 bolts.
  17. Tighten
    Tighten the engine skid plate bolts to 27 N·m (20 lb ft).

  18. Lower the vehicle.
  19. Unplug the power steering fluid hoses.
  20. Install the return the hose to the steering gear. Secure the hose with the hose clamp.
  21. Install the pressure hose to the steering gear. Secure the pressure hose with the union bolt.
  22. Tighten
    Tighten the power steering gear pressure hose union bolt to 40 N·m (29 lb ft).

  23. Add power steering fluid to the reservoir. Refer to Checking and Adding Power Steering Fluid .
  24. Bleed the power steering system. Refer to Power Steering System Bleeding .