GM Service Manual Online
For 1990-2009 cars only

Removal Procedure

Tools Required

J 29107-A Pitman Arm Remover

  1. Raise and support the vehicle. Refer to Lifting and Jacking the Vehicle in General Information.
  2. Remove the 4 bolts from the engine skid plate, if equipped.
  3. Remove the engine skid plate from the vehicle, if equipped.
  4. Remove the cotter pin and the castle nut from the center link ball joint.

  5. Object Number: 348950  Size: SH
  6. Use the J 29107-A in order to separate the pitman arm (2) from the center link (1).

  7. Object Number: 348944  Size: SH
  8. Remove the pinch bolt.
  9. Remove the lower steering shaft (2) from the manual steering gear (3).
  10. Remove the 3 manual steering gear mounting bolts.
  11. Remove the steering gear (3) from the vehicle.

  12. Object Number: 348939  Size: SH
  13. Mount the steering gear in a table vise.
  14. Remove the following components from the steering gear:
  15. • The sector shaft nut
    • The pitman arm (4)

Installation Procedure


    Object Number: 348939  Size: SH
  1. Install the pitman arm (4) to the steering gear.
  2. Align the matchmarks (2, 3) on the sector shaft (1) and the pitman arm (4). Secure the pitman arm (4) with the sector shaft nut. Do not fully tighten the sector nut.
  3. Install the steering gear to the vehicle.

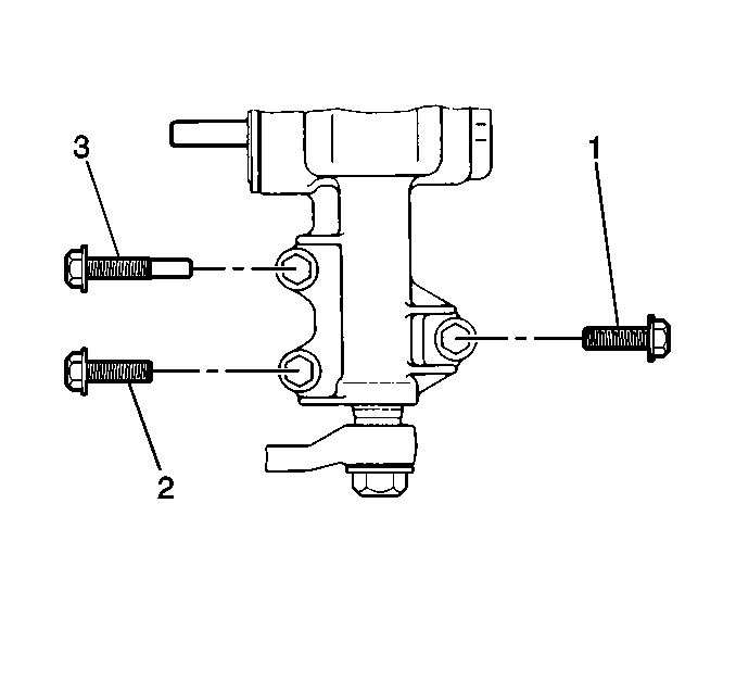
  4. Object Number: 348934  Size: SH

    Notice: Use the correct fastener in the correct location. Replacement fasteners must be the correct part number for that application. Fasteners requiring replacement or fasteners requiring the use of thread locking compound or sealant are identified in the service procedure. Do not use paints, lubricants, or corrosion inhibitors on fasteners or fastener joint surfaces unless specified. These coatings affect fastener torque and joint clamping force and may damage the fastener. Use the correct tightening sequence and specifications when installing fasteners in order to avoid damage to parts and systems.

  5. Secure the steering gear with the 2 mounting bolts (1, 2) and the pilot bolt (3).
  6. Tighten

        • Tighten the mounting bolts to 85 N·m (61.5 lb ft).
        • Tighten the pilot bolt to 85 N·m (61.5 lb ft).
        • Tighten the pitman arm sector shaft nut to 130 N·m (95 lb ft).

    Object Number: 348944  Size: SH
  7. Install the lower steering shaft (2) to the steering gear (3).
  8. Align the shaft flats at the coupling.

  9. Secure the lower steering shaft with the pinch bolt.
  10. Install the pitman arm to the center link with the castle nut.
  11. Tighten
    Tighten the center-link-to-pitman arm castle nut to 55 N·m (40 lb ft).

  12. Install the cotter pin to the center link.
  13. Bend the end of the pin after installation.

  14. Install the engine skid plate, if equipped.
  15. Secure the plate with the 4 bolts.
  16. Tighten
    Tighten the engine skid plate bolts to 27 N·m (20 lb ft).

  17. Lower the vehicle.