GM Service Manual Online
For 1990-2009 cars only

The rotary motion of the steering wheel transfers through the following components:

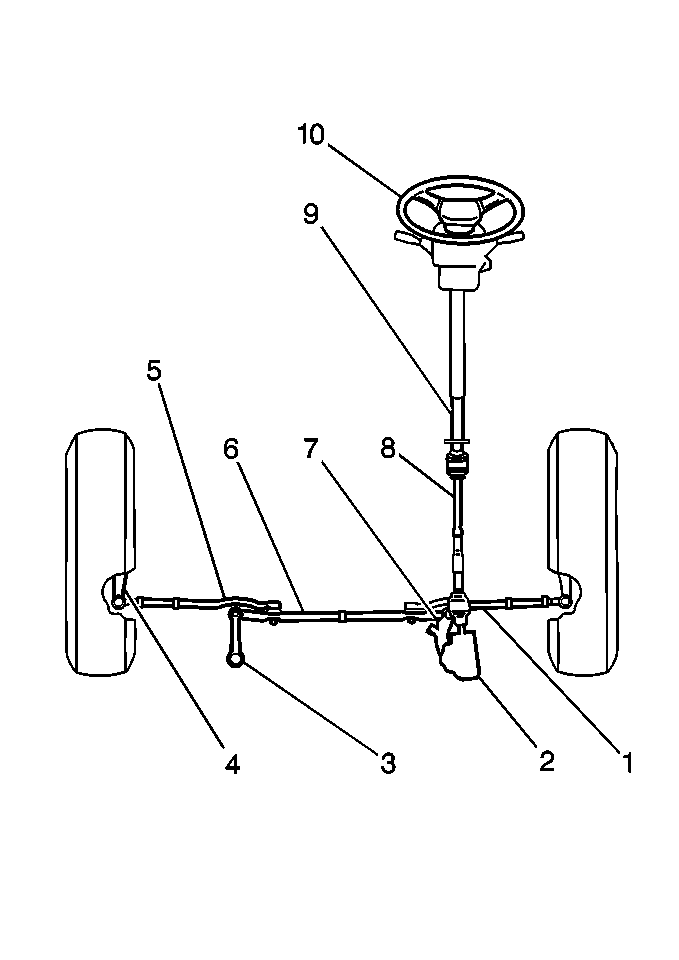
Figure 1:

Manual Steering Gear and Linkage


Object Number: 349706  Size: MH
(1)Tie Rod
(2)Steering Gear
(3)Idler Arm
(4)Knuckle
(5)Tie Rod
(6)Center Link
(7)Pitman Arm
(8)Lower Steering Shaft
(9)Steering Column
(10)Steering Wheel
Figure 2:
Object Number: 349704  Size: SH
    • The steering upper shaft
    • The lower shaft
    • The steering gear
    • The pitman arm

The pitman arm attaches to the center link. As the pitman arm rotates, the center link moves linearly, actuating the right tie rod and the left tie rod. The right tie rod and the left tie rod turn the wheels right or left through the steering knuckles. The steering system is designed for the following purposes:

    • Easy steering
    • High durability
    • Excellent steering reaction
    • Reliable self-restoring action