Removal Procedure
- Discharge and recover the refrigerant. Refer to Refrigerant Recovery and Recharging
.
- Disconnect the A/C refrigerant pressure switch electrical connector.
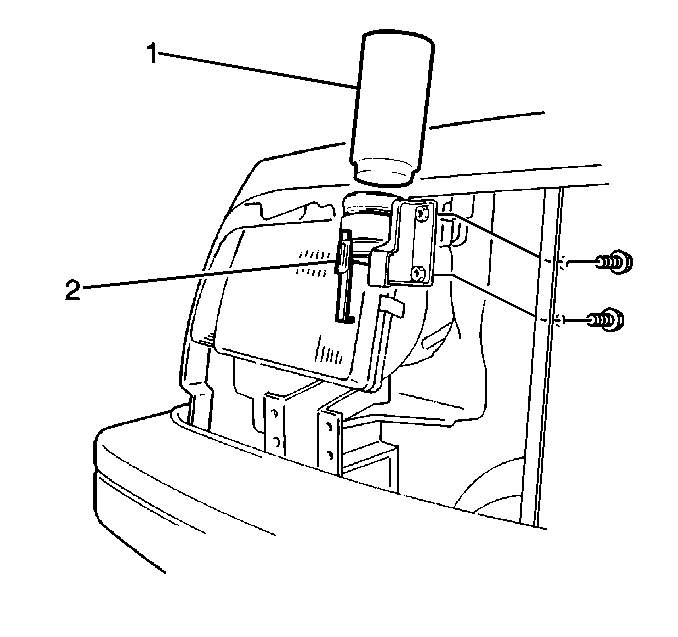
- Remove 1 bolt and
the receiver/dryer (1) inlet pipe from the receiver/dryer.
- Remove 1 bolt and the receiver/dryer outlet pipe from the
receiver/dryer.
- Remove the 2 screws and the receiver/dryer from the mounting
bracket (2).
Installation Procedure
Important: Add 10 ml (0.3 fl oz) of refrigerant oil to the
refrigeration system when installing a new receiver/dryer.
- Install the receiver/dryer (1) to the mounting bracket (2).
Secure with the 2 screws.
- Install the receiver/dryer inlet and outlet pipes. Secure the
pipes with the 2 bolts.
Notice: Use the correct fastener in the correct location. Replacement fasteners
must be the correct part number for that application. Fasteners requiring
replacement or fasteners requiring the use of thread locking compound or sealant
are identified in the service procedure. Do not use paints, lubricants, or
corrosion inhibitors on fasteners or fastener joint surfaces unless specified.
These coatings affect fastener torque and joint clamping force and may damage
the fastener. Use the correct tightening sequence and specifications when
installing fasteners in order to avoid damage to parts and systems.
Tighten
Tighten the receiver/dryer pipe bolts to 35 N·m (26 lb ft).
- Connect the A/C refrigerant pressure switch electrical connector.
- Evacuate and recharge the air conditioning system. Refer to Refrigerant Recovery and Recharging
.
- Operate the A/C system and test for refrigerant leaks. Refer
to
Leak Testing
.