GM Service Manual Online
For 1990-2009 cars only
Figure 1:

Instrument Panel Wiring


Object Number: 346485  Size: MF
(1)Rear Wiper/ Washer Switch, Cruise Control ON/ OFF Switch
(2)Instrument Panel Cluster Assembly
(3)Instrument Panel Cluster Connector C1
(4)Instrument Panel Cluster Connector C2
(5)Instrument Panel Cluster Connector C3
(6)Rear Defogger Switch (4-Door)
(7)Left Front Speaker (4-Door)
(8)Illumination Controller/ Power Mirror Switch (4-Door)
(9)C200
(10)C201
(11)S236
(12)C211
(13)C209 (4-Door Only)
(14)S235 S201 S204
(15)S238
(16)S258 S256 S200
(17)Instrument Panel Harness
(18)Data Link Connector-On Board Diagnostics II (DLC-OBD II)
(19)Radio
(20)Cigar Lighter
(21)C208
(22)C213
(23)S205 S221 S225 S226
(24)Audio Alarm Module
(25)C210 (4-Door Only)
(26)Right Front Speaker (4-Door)
Figure 2:

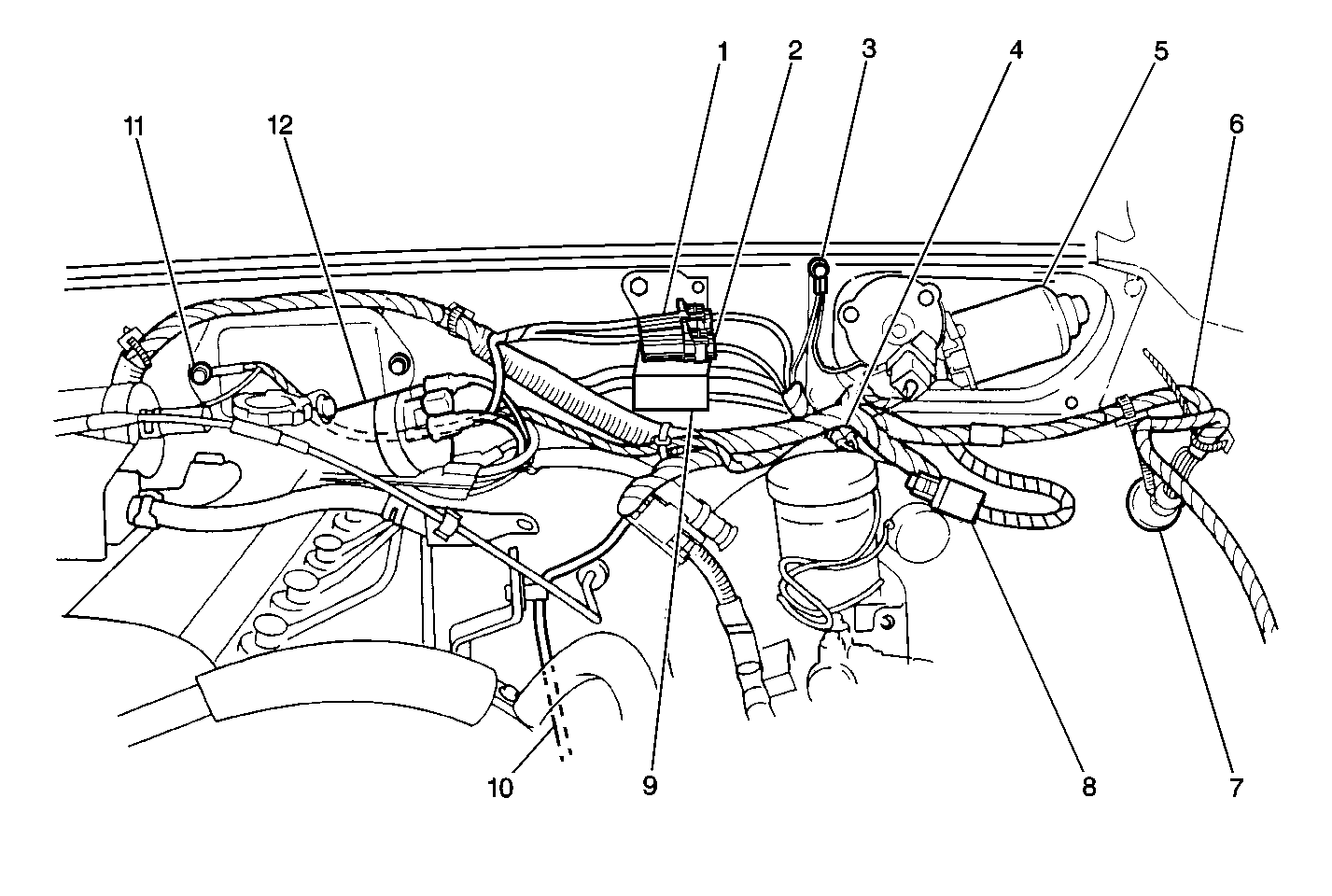
Left Bulkhead


Object Number: 346472  Size: MF
(1)C101
(2)C102
(3)G109
(4)Brake Fluid Level Switch Connector
(5)Front Wiper Motor
(6)Main Harness
(7)P200
(8)Noise Supressor Filter
(9)C100 / C103
(10)To Heated Oxygen Sensor (HO2S1)
(11)G101
(12)Distributor
Figure 3:

RH Engine Compartment


Object Number: 355223  Size: LF
(1)Shift Lock Relay
(2)A/C Condenser Fan Relay
(3)A/C Compressor Clutch Relay
(4)Torque Converter Clutch (TCC) Relay
(5)G105, G106, G108
(6)Manifold Absolute Pressure (MAP) Sensor Connector
(7)Exhaust Gas Recirculation (EGR) Bypass Valve Connector
(8)G103 (On Engine)
(9)P201
(10)S131
(11)S115
(12)S105, S130
(13)S103
(14)S104
(15)Left Horn
(16)Duty Check Data Link Connector (DLC) 1
(17)Rear Washer Pump (4-Door)
(18)G104
(19)Front Washer Pump
(20)Fuse Block 1
Figure 4:

Back Door Harness (4-Door)


Object Number: 355248  Size: MF
(1)Rear Defogger Connectors
(2)To Center High-Mounted Stoplamp (CHMSL)
(3)C405
(4)G400
(5)Power Door Lock Actuator
(6)Rear Wiper Motor
(7)G403
(8)G401
(9)Back Door Harness
(10)P400