GM Service Manual Online
For 1990-2009 cars only

Rear Seat Belt Buckle Replacement 2 Door

Removal Procedure

Caution: The seat belt assembly and/or bracket assembly must be replaced as a unit only. Do not substitute parts for any reason, or personal injury could result.

Caution: To help avoid personal injury from unrepaired crash damage to a restraint system, perform the seat belt check for each seat belt system. Replace the seat belt system if there is any doubt about the condition of system components.

  1. Fold the rear seat back.
  2. Pull the rear seat release handle and raise the rear seat.
  3. Unclip the support rod from the bottom of the rear seat and the support seat.

  4. Object Number: 183574  Size: SH
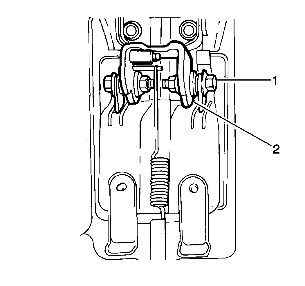
  5. Remove one rear anchor bolt from each rear seat hinge (1).
  6. Lower the rear seat.

  7. Object Number: 183559  Size: SH
  8. Gently pry the hinge cover (2) from each rear seat hinge (1).

  9. Object Number: 183566  Size: SH
  10. Remove one front anchor bolt from each rear seat hinge (1).
  11. Remove the seat from the vehicle.

  12. Object Number: 183570  Size: SH
  13. Remove one clip and pin (1) from each rear seat hinge (2).
  14. Remove the hinges (2) from the seat.
  15. Remove one clip, the pin (1) and the support rod from the rear seat.
  16. Remove one clip, the pin and the rear seat release handle from the seat.
  17. Remove one screw from each rubber bumper.
  18. Remove the bumpers from the seat.
  19. Remove six screws and the rear seat cushion trim cover from the rear seat.

  20. Object Number: 183580  Size: SH
  21. Remove one anchor bolt (1) from the bottom of the rear seat cushion securing the rear seat belt buckle to the seat.
  22. Remove the rear seat belt buckle from the seat.

Installation Procedure


    Object Number: 183580  Size: SH

    Notice: Use the correct fastener in the correct location. Replacement fasteners must be the correct part number for that application. Fasteners requiring replacement or fasteners requiring the use of thread locking compound or sealant are identified in the service procedure. Do not use paints, lubricants, or corrosion inhibitors on fasteners or fastener joint surfaces unless specified. These coatings affect fastener torque and joint clamping force and may damage the fastener. Use the correct tightening sequence and specifications when installing fasteners in order to avoid damage to parts and systems.

  1. Install the rear seat belt buckle to the rear seat. Secure with one anchor bolt (1).
  2. Tighten
    Tighten the rear seat belt buckle anchor bolt to 45 N·m (33 lb ft).

  3. Install the rear seat cushion trim cover to the rear seat. Secure with six screws.
  4. Connect the rubber bumpers to the seat. Secure each bumper with one screw.
  5. Install the rear seat release handle. Secure the handle with one pin and clip.
  6. Install the support rod to the rear seat. Secure the rod with one pin and clip.

  7. Object Number: 183570  Size: SH
  8. Install the rear seat hinges (2) to the seat. Secure each hinge with one pin (1) and clip.
  9. Install the rear seat to the vehicle. Secure the seat with one front anchor bolt to each rear seat hinge (2).
  10. Tighten
    Tighten the rear seat front anchor bolts to 25 N·m (19 lb ft).


    Object Number: 183559  Size: SH
  11. Install the hinge cover (2) to each rear seat hinge (1).
  12. Raise the rear seat and support it with the rear seat support rod.
  13. Install one rear anchor bolt to each rear seat hinge.
  14. Tighten
    Tighten the rear seat rear anchor bolts to 25 N·m (19 lb ft).

  15. Clip the support rod to the bottom of the rear seat and lower the seat.
  16. Raise the rear seat back into the upright position.

Rear Seat Belt Buckle Replacement 4 Door

Removal Procedure

Caution: The seat belt assembly and/or bracket assembly must be replaced as a unit only. Do not substitute parts for any reason, or personal injury could result.

Caution: To help avoid personal injury from unrepaired crash damage to a restraint system, perform the seat belt check for each seat belt system. Replace the seat belt system if there is any doubt about the condition of system components.

  1. Remove the rear seat back cushion cover. Refer to Seats in Body and Accessories.

  2. Object Number: 183584  Size: SH
  3. Pull back the rear seat cushion cover (2) in order to expose the seat belt buckle anchor bolts (1).
  4. Remove the rear seat belt buckle anchor bolt and remove the buckle from the rear seat.

Installation Procedure


    Object Number: 183584  Size: SH

    Notice: Use the correct fastener in the correct location. Replacement fasteners must be the correct part number for that application. Fasteners requiring replacement or fasteners requiring the use of thread locking compound or sealant are identified in the service procedure. Do not use paints, lubricants, or corrosion inhibitors on fasteners or fastener joint surfaces unless specified. These coatings affect fastener torque and joint clamping force and may damage the fastener. Use the correct tightening sequence and specifications when installing fasteners in order to avoid damage to parts and systems.

  1. Install the rear seat belt buckle to the rear seat. Secure the buckle with one bolt.
  2. Tighten
    Tighten the rear seat belt buckle anchor bolt to 45 N·m (33 lb ft).

  3. Put the rear seat cushion cover (2) back in place with the hooks on the seat frame (4).
  4. Install the rear seat back cushion cover. Refer to Seats in Body and Accessories.