GM Service Manual Online
For 1990-2009 cars only

Removal Procedure

    Caution: Unless directed otherwise, the ignition and start switch must be in the OFF or LOCK position, and all electrical loads must be OFF before servicing any electrical component. Disconnect the negative battery cable to prevent an electrical spark should a tool or equipment come in contact with an exposed electrical terminal. Failure to follow these precautions may result in personal injury and/or damage to the vehicle or its components.

  1. Disconnect the negative battery cable.
  2. Remove the cruise control actuator assembly cover.

  3. Object Number: 519957  Size: SH
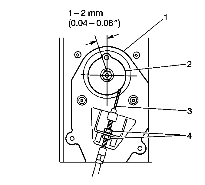
  4. Loosen the cruise control cable locknut (4).
  5. Remove the cruise control cable from the cruise control actuator lever (2).

  6. Object Number: 352442  Size: SH
  7. Disconnect the cruise control actuator assembly electrical connector (2).
  8. Remove the 3 bolts and the cruise control actuator assembly, with the mounting bracket, from the vehicle.
  9. Remove the 4 screws and the cruise control actuator assembly from the mounting bracket.

Installation Procedure

  1. Install the cruise control actuator assembly to the mounting bracket. Secure the actuator assembly with the 4 screws.
  2. Notice: Use the correct fastener in the correct location. Replacement fasteners must be the correct part number for that application. Fasteners requiring replacement or fasteners requiring the use of thread locking compound or sealant are identified in the service procedure. Do not use paints, lubricants, or corrosion inhibitors on fasteners or fastener joint surfaces unless specified. These coatings affect fastener torque and joint clamping force and may damage the fastener. Use the correct tightening sequence and specifications when installing fasteners in order to avoid damage to parts and systems.

  3. Install the cruise control actuator assembly with the mounting bracket to the vehicle. Secure the assembly with the 3 bolts.
  4. Tighten
    Tighten the cruise control actuator assembly mounting bracket bolts to 10 N·m (89 lb ft).


    Object Number: 352442  Size: SH
  5. Connect the cruise control actuator electrical connector (2).

  6. Object Number: 519957  Size: SH
  7. Install the cruise control cable (3) to the cruise control actuator lever (2).
  8. Adjust the cruise control cable locknuts (4) in order to adjust the cruise control cable play.
  9. Adjust the cruise control cable play to 1-2 mm (0.04-0.08 in) at the actuator closed throttle position.
  10. Tighten
    Tighten the cruise control cable locknuts (4) to 5 N·m (44 lb in).

  11. Install the cruise control actuator (1) assembly cover.
  12. Connect the negative battery cable.