GM Service Manual Online
For 1990-2009 cars only

Use the extended method when the old adhesive cannot serve as a base for the new window installation adhesive. Completely remove the old adhesive from the body window opening when the vehicle undergoes body damage repair or repainting. Apply tape around the body in order to prevent paint damage. Use a sharp scraper or chisel in order to remove the old adhesive.

With the exception of the use of primers and the amount of adhesive applied during installation, the short method is identical to the extended method.

Removal Procedure


    Object Number: 350374  Size: SH

    Caution: When working with any type of glass or sheet metal with exposed or rough edges, wear approved safety glasses and gloves in order to reduce the chance of personal injury.

    Important: The 2 ventilator outlet retaining clips will be destroyed when the ventilator outlet is removed.

  1. Remove the quarter window garnish and the ventilator outlet from the vehicle.
  2. Tape the body surface around the quarter glass.
  3. Cut and remove the quarter window molding.
  4. Punch a hole through the adhesive with an eyeletter (1).
  5. Twist the ends of a piano wire around the wood dowels.

  6. Object Number: 350466  Size: SH
  7. Cut the adhesive (3) all around the quarter window (2) with the piano wire (1).
  8. Remove the quarter window (2) from the vehicle.

  9. Object Number: 350468  Size: SH
  10. Use a knife (1) cleaned with alcohol or petroleum distillate in order to trim the remaining adhesive (2) to a uniform thickness.
  11. Clean any loose material from the quarter window opening.
  12. Remove all urethane from the quarter window if the quarter window will be reused.

Installation Procedure


    Object Number: 350471  Size: SH
  1. Install the new quarter window reveal molding (1) to the quarter window (2).
  2. Clean around the edge of the inside surface of the window where the adhesive will be applied with a clean, alcohol-dampened cloth.
  3. Allow the window to air dry for approximately 10 minutes.

  4. Object Number: 350473  Size: SH

    Important: 

       • Refer to manufacturer's instructions and warnings for proper handling instructions and drying time.
       • Do not touch the primer-coated surface.
       • When installing the quarter window, use primer #3 provided in the urethane adhesive kit.
            Use the black primer #3 for pinch-weld areas.
       • Once the primer is applied, immediately wipe off the excess.
       • The primer dries almost instantly and will stain the viewing area of the glass.
       • Apply the primer evenly.
       • Keep the primer away from the viewing area.
       • Do not apply clear primer over black primer.
       • Vigorously shake the primer in order to ensure proper mixing.

  5. Use a new brush (1) in order to apply primer #1 (2) to the edge and inner surface of the quarter window (3).
  6. Use a new brush (1) in order to apply #2 (2) to the edge and inner surface of the quarter window (3).

  7. Object Number: 350478  Size: MH

    Important: 

       • Start at the bottom side of the quarter window (3) when applying adhesive (2) to the quarter window (3).
       • Do not damage the primer.
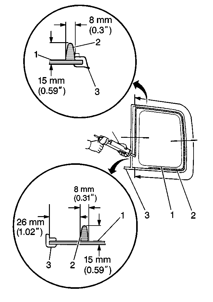
       • Ensure the applied adhesive (2) height is 15 mm (0.59 in).

  8. Use a cartridge-type caulking gun in order to apply a smooth continuous bead of urethane adhesive (2) around the primed surface edge of the quarter window (3).

  9. Object Number: 350480  Size: SH
  10. Use rubber suction cups in order to install the quarter window in alignment (1,2) with the mating marks.
  11. Press the window firmly in order to set the adhesive.
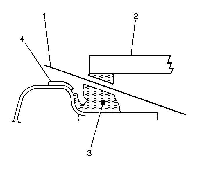
  12. Avoid excessive adhesive flash which causes an appearance problem.
  13. Use a small disposable brush or a flat-bladed too in order to paddle the material around the edge of the window.
  14. Ensure a watertight seal.
  15. Apply more adhesive, as needed.
  16. Wipe away any excessive adhesive.
  17. Install the quarter window garnish and ventilator outlet.
  18. Use a soft spray of water in order to immediately watertest the vehicle.
  19. Do not direct a hard stream of high-pressure water at the fresh adhesive material.
  20. If any leaks are found, dry the window.
  21. Use a plastic paddle, a flat-bladed tool, or a disposable brush in order to paddle in extra adhesive at the leak point.
  22. If the leak persists, remove the window in order to repeat the entire installation procedure. Refer to Water Hose Test in Waterleaks.
  23. Important: 

       • Do not drive the vehicle until the adhesive is set.
       • Do not use compressed air, heat, or infrared light in order accelerate drying time.
       • Allow the adhesive to dry normally.
       • Do not slam the doors before the adhesive sets.
            Slamming doors may cause the quarter window to shift or become loose.

  24. Apply water in order to speed the cure of the adhesive.