GM Service Manual Online
For 1990-2009 cars only

Removal Procedure

    Caution: Wear safety glasses in order to avoid eye damage.

  1. Lower the rear side door window down completely in order to gain access to the window retaining screws.
  2. Remove the rear side door trim panel. Refer to Rear Side Door Trim Panel Replacement .

  3. Object Number: 352204  Size: SH
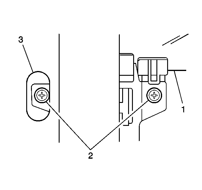
  4. Remove the screws and the door trim support bracket from the vehicle.
  5. Peel the water deflector (1) from the door.
  6. Use a flat-bladed tool wrapped in tape in order to gently pry the inner sealing strip from the door, if equipped.
  7. Use a flat-bladed tool wrapped in tape in order to gently pry the outer sealing strip from the door.

  8. Object Number: 352226  Size: SH
  9. Remove the rear side door window run (2).

  10. Object Number: 352234  Size: SH
  11. Remove the following components from the door:
  12. • 1 screw (1)
    • 2 bolts (3)
    • The center door sash (5)
  13. Slide the rear side door stationary window (2) out of the vehicle.
  14. Raise the window enough to gain access to the regulator equalizer bracket screws.

  15. Object Number: 352225  Size: SH
  16. Remove the 2 screws (2) which secure the window (1) to the regulator equalizer bracket (3).
  17. Remove the window (1) from the regulator (3).

Installation Procedure


    Object Number: 352225  Size: SH
  1. Install the window (1) into the door.
  2. Lower the window (1) to the regulator equalizer bracket. Secure the bracket (3) with the 2 screws.

  3. Object Number: 352234  Size: SH
  4. Slide in the rear side door stationary window (2).
  5. Install the center sash (5) to the door. Secure the sash (5) with the following components:
  6. • 1 screw (1)
    • 2 bolts (3)
  7. Install the window run (2) into the door.

  8. Object Number: 352204  Size: SH
  9. Inspect the water deflector (1) for tears and holes.
  10. In order to repair the tears or holes, use waterproof tape on both sides of the water deflector (1), as needed.
  11. Apply adhesive (2) to the back of the water deflector (1).
  12. Install the water deflector (1) to the door.
  13. Install the door trim support bracket to the door. Secure the bracket with the screws.
  14. Install the outer sealing strip to the door by pressing into place.
  15. Install the inner sealing strip to the door by pressing into place, if equipped.
  16. Install the rear side door trim panel. Refer to Rear Side Door Trim Panel Replacement .