GM Service Manual Online
For 1990-2009 cars only

Removal Procedure

  1. Remove the front side door trim panel. Refer to Front Side Door Trim Panel Replacement .

  2. Object Number: 352079  Size: SH
  3. Remove the screws and the door trim support bracket from the door.
  4. Peel the water deflector (1) away from the door.
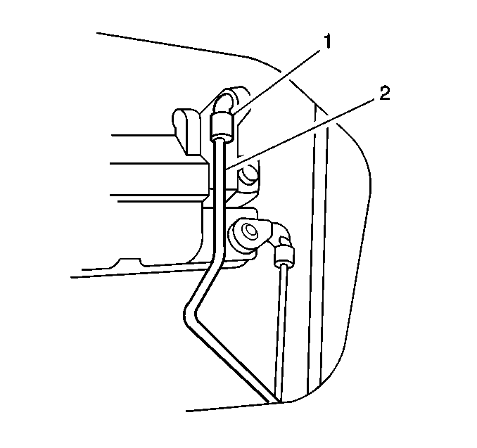
  5. Release the front side door outside handle rod retainer from the front side door outside handle rod.

  6. Object Number: 352088  Size: SH
  7. Remove the front side door outside handle rod (2) from the handle.

  8. Object Number: 352086  Size: SH
  9. Remove the door lock cylinder lock rod (6) from the door lock cylinder (11).
  10. Remove the 2 nuts and the front side door outside handle (10) from the door.

Installation Procedure


    Object Number: 352086  Size: SH

    Notice: Use the correct fastener in the correct location. Replacement fasteners must be the correct part number for that application. Fasteners requiring replacement or fasteners requiring the use of thread locking compound or sealant are identified in the service procedure. Do not use paints, lubricants, or corrosion inhibitors on fasteners or fastener joint surfaces unless specified. These coatings affect fastener torque and joint clamping force and may damage the fastener. Use the correct tightening sequence and specifications when installing fasteners in order to avoid damage to parts and systems.

  1. Install the front side door outside handle (10) to the door. Secure the front side door outside handle (10) with the 2 nuts.
  2. Tighten
    Tighten the front side door outside handle nuts to 10 N·m (89 lb in).


    Object Number: 352088  Size: SH
  3. Install the front side door outside handle rod (2) to the handle. Secure the rod (2) with the front side door outside handle rod retainer.
  4. Install the door lock cylinder lock rod to the door lock cylinder.

  5. Object Number: 352079  Size: SH
  6. Inspect for tears and holes in the water deflector (1).
  7. Use waterproof tape in order to repair both sides of the water deflector (1), as needed.
  8. Apply adhesive (2) to the back of the water deflector (1).
  9. Install the water deflector (1) to the door.
  10. Install the door trim support bracket to the door. Secure the bracket with the screws.
  11. Install the front side door trim panel. Refer to Front Side Door Trim Panel Replacement .