Removal Procedure
- Remove the front side door trim panel. Refer to
Front Side Door Trim Panel Replacement
.
- Remove the screws and
the door trim support bracket from the door.
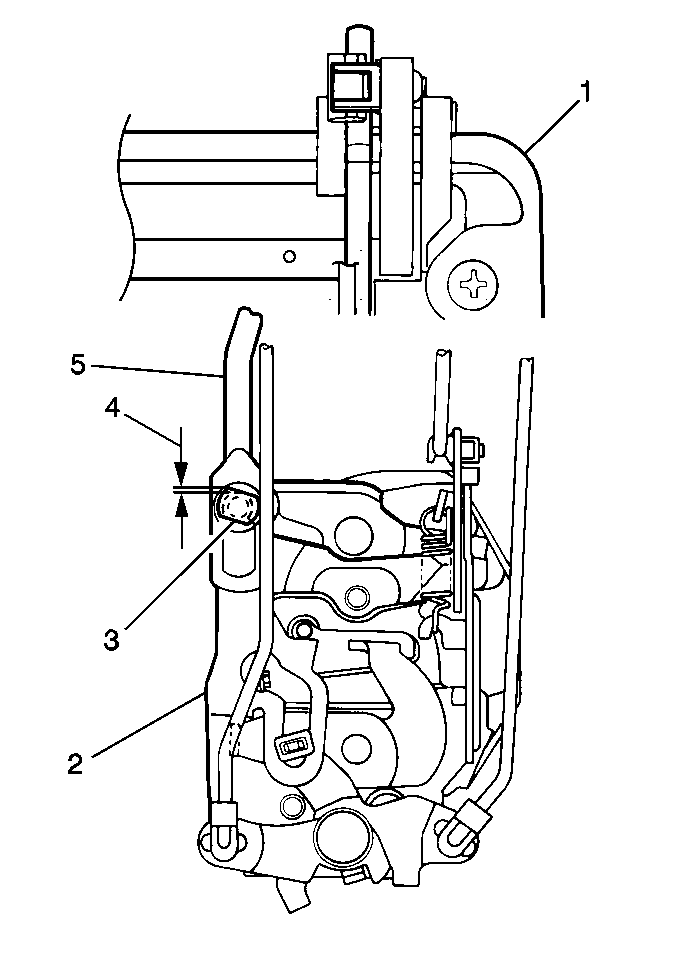
- Peel the water deflector (1) away from the door.
- Remove the front side door outside handle rod (5) from the front
side door lock (2).
- Remove the front side door inside handle rod from the front side
door lock (2).
- Remove the front side
door lock cylinder lock rod (6) from the door lock (5).
- Remove the front side door lock knob lock rod (3) from
the door lock (5).
- Remove the 3 door lock screws.
- Remove the door lock (5).
Installation Procedure
- Install the door lock (5)
to the door. Secure the door lock with the 3 screws.
- Install the front side door lock knob lock rod (3) to the
door lock (5).
- Install the front side door lock cylinder lock rod (6)
to the door lock (5).
- Install the front side door outside handle rod (5) to the door
lock (2).
- Install the front side door inside handle rod to the door lock (2).
- Adjust the outside handle rod to door lock linkage distance (4)
to 0-2 mm (0.0-0.08 inch).
- Inspect for tears and
holes in the water deflector (1).
- Use waterproof tape in order to repair both sides of the water
deflector (1), as needed.
- Apply adhesive (2) to the back of the water deflector (1).
- Install the water deflector (1) to the door.
- Install the door trim panel support bracket to the door. Secure
the bracket with the screws.
- Install the front side door trim panel. Refer to
Front Side Door Trim Panel Replacement
.