GM Service Manual Online
For 1990-2009 cars only

Removal Procedure


    Object Number: 352086  Size: SH
  1. Mark the position of the front side door lock striker (4) on the door jamb for ease of installation.
  2. Remove 2 screws and the front side door lock striker (4) from the door jamb.

Installation Procedure


    Object Number: 352086  Size: SH
  1. Install the front side door lock striker (4) to the door jamb. Secure the striker with 2 screws.

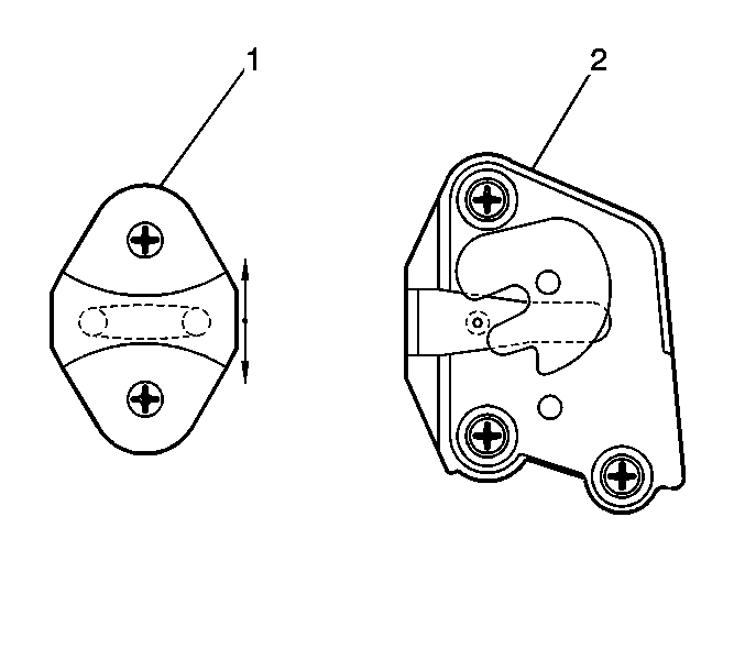
  2. Object Number: 520512  Size: SH
  3. Adjust the striker vertical measurement so that the striker (1) shaft aligns with the center of the door lock (2).

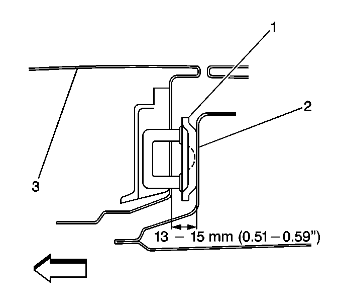
  4. Object Number: 520518  Size: SH
  5. Adjust the lock striker (1)-to-door distance to 13-15 mm (0.51-0.59 in) by installing or removing shims (2) as necessary.
  6. Keeping the lock striker (1) level, move the striker sideways in order to adjust door flushness with the quarter panel (3) on 2 door models or the door jamb (3) on 4 door models. Refer to Door Adjustment Specifications .