GM Service Manual Online
For 1990-2009 cars only

Object Number: 209208  Size: MF

Circuit Description

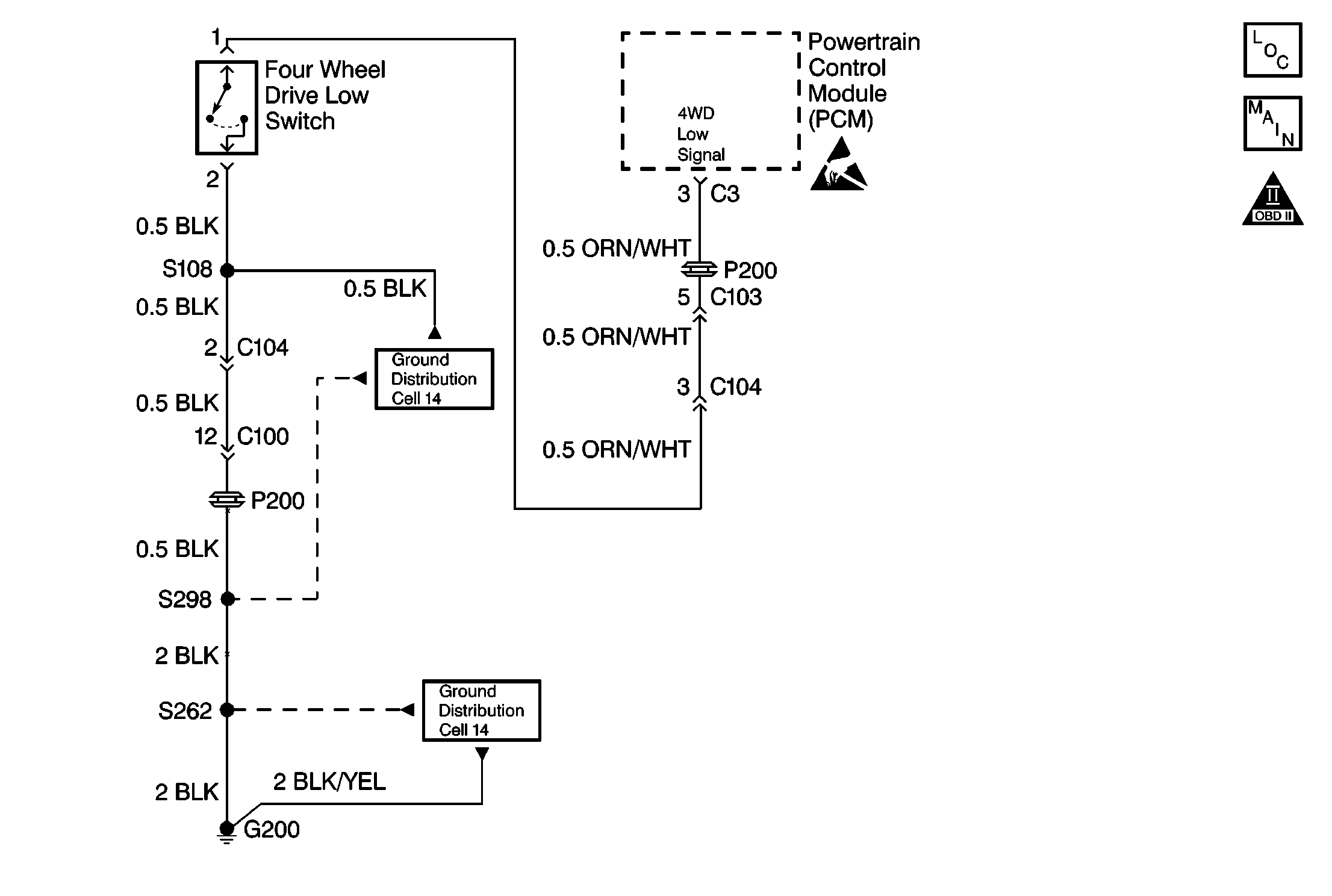
When the transfer case is shifted into the 4L position, the 4L switch closes. When the 4L switch closes, the 4L switch grounds the circuit to the PCM connector C3 terminal 3. The PCM uses the above information in order to prevent Torque Converter Clutch (TCC) lock-up and 4th gear engagement.

Conditions for Setting the DTC

The PCM uses the Vehicle Speed Sensor (VSS) (transmission) and the VSS (speedometer) in order to trigger DTC P1875. Vehicle speed differences between the above components trigger DTC P1875. If the VSS Transmission does not function as designed, the transmission may set DTC P1875. The above action may occur even when the 4L signal circuit is both mechanically and electrically in good condition. DTC P1875 sets if the following condition occurs:

    • The VSS (speedometer) senses a vehicle speed of more than 10 km/h lower than the vehicle speed the VSS (transmission) senses.
    • Two driving cycle detection logic

Action Taken When the DTC Sets

    • DTC P1875 stores.
    • The Malfunction Indicator Lamp (MIL) turns ON.

Diagnostic Aids

Inspect for the following conditions:

    • A faulty 4L switch
    • Faulty electrical circuits between the 4L switch and the PCM
    • A faulty PCM

The following conditions may cause an intermittent:

    • A reduced connection
    • Rubbed through wire insulation
    • A broken wire inside the insulation

Inspect the PCM harness connectors for the following conditions:

    • Backed out terminals
    • Improper mating
    • Broken locks
    • Improperly formed or damaged terminals
    • Reduced terminal-to-wire connections

If DTC P1875 cannot duplicate, the information included in the Freeze Frame data may be useful in determining the vehicle operating conditions when the DTC set.

Refer to Wiring Repairs in Wirng Systems when repairing any wiring.

DTC Confirmation Procedure

  1. Turn the ignition switch to the LOCK position.
  2. Connect the scan tool to the Data Link Connector (DLC).
  3. Turn the ignition switch ON.
  4. Use the scan tool in order to clear the following items:
  5. • DTC P1875
    • Any pending DTCs
  6. Start the engine.
  7. Apply the brake pedal firmly
  8. Shift the manual selector to DRIVE range.
  9. Remain in the DRIVE range for 30 seconds.

  10. Accelerate the vehicle in DRIVE range.
  11. Continue driving for 10 seconds at 30 km/h (19 mph).

  12. Stop the vehicle.
  13. Shift the manual selector to the PARK range.
  14. Shift the transfer case lever to the 4L range.
  15. Shift the manual selector to DRIVE range.
  16. Accelerate the vehicle in DRIVE range.
  17. Continue driving for 10 seconds at 30 km/h (19 mph).

  18. Stop the vehicle.
  19. Use the scan tool in order to test for a pending DTC.

Object Number: 207959  Size: SH

Test Description

The numbers below refer to the step numbers on the diagnostic table.

  1. The Powertrain OBD System Check prompts the technician to complete some basic checks and store the freeze frame data on the scan tool if applicable. The scan tool creates an electronic copy of the data taken when the fault occurred. The information then stores in the scan tool for later reference.

  2. This step tests the circuit output of the 4L signal circuit to the PCM.

  3. This step tests for one of the following conditions:

  4. • A short to ground in the 4L signal circuit
    • A faulty 4L switch.
    • Refer to the above figure.
  5. This step verifies that the 4L switch closes when a transfer case sets in 4L.

    This action grounds the 4L signal circuit.

  6. This step determines if the 4L switch is closed.

  7. This step tests the ground circuit to the 4L switch.

  8. This step tests the integrity of the 4L signal circuit.

  9. This step tests the integrity of the 4L switch by cycling.

  10. This step determines if the following conditions exist:

  11. • The PCM is faulty.
    • The malfunction is intermittent.
  12. The transfer case appears to have a mechanical problem not causing the 4L to close when set in 4L range.

  13. The PCM uses the Vehicle Speed Sensor (VSS) (Transmission) and the VSS (Speedometer) in order to trigger DTC P1875. Vehicle speed differences between the above components trigger DTC P1875. If the VSS Transmission does not function as designed, the transmission may set DTC P1875. The above action may occur even when the 4L signal circuit is both mechanically and electrically in good condition.

Step

Action

Value(s)

Yes

No

1

Was the On-Board Diagnostic (OBD) System Check performed?

--

Go to Step 2

Refer to Powertrain On Board Diagnostic (OBD) System Check in Engine Controls

2

  1. Turn the ignition switch to the LOCK position.
  2. Set the transfer case to the 2H range.
  3. Disconnect the PCM connector C3.
  4. Connect a test lamp between B+ and the PCM harness connector C3 terminal 3.

Does the test lamp light?

 

Go to Step 3

Go to Step 4

3

  1. Disconnect the 4L switch.
  2. Connect a test lamp between B+ and the PCM harness connector C3 terminal 3.

Does the test lamp light?

 

Go to Step 9

Go to Step 8

4

  1. Set the transfer case to the 4L range.
  2. Connect a test lamp between B+ and the PCM harness connector C3 terminal 3.

Does the test lamp light?

 

Go to Step 10

Go to Step 5

5

  1. Disconnect the 4L switch.
  2. Use J 39200 in order to test the resistance across the 4L switch terminals.

Is the resistance less than the specified value?

2 ohms

Go to Step 6

Go to Step 8

6

Connect a test lamp between B+ and the 4L switch harness connector terminal 2.

Does the test lamp light?

--

Go to Step 7

Go to Step 11

7

Use J 39200 in order to measure the resistance between the 4L switch harness connector terminal 1 and the PCM harness connector C3 terminal 3 (ORN/WHT wire).

Is the resistance less than the specified value?

2 ohms

Go to Step 10

Go to Step 12

8

  1. Remove the 4L switch from the transfer case.
  2. Use the J 39200 in order to measure the resistance across the 4L switch terminals when manually cycling the 4L switch.

Is the resistance less than the specified value with the 4L switch in the Closed position?

2 ohms

(∞  with the 4L switch in the Open position)

Go to Step 15

Go to Step 14

9

Repair the short to ground in the ORN/WHT circuit between the PCM and the 4L switch.

Is the repair complete?

--

Go to Step 17

--

10

  1. Install a known-good PCM.
  2. Perform the DTC Confirmation Procedure.

Does DTC 1875 reset?

--

Go to Step 16

Go to Step 13

11

Repair the open or the high resistance in the BLK circuit between 4L and G200.

Is the repair complete?

--

Go to Step 17

--

12

Repair the open or the high resistance in the ORN/WHT circuit between the PCM and the 4L switch.

Is the repair complete?

--

Go to Step 17

--

13

Refer to Diagnostic Aids in order to correct a possible intermittent malfunction. Replace the Powertrain Control Module (PCM) if no problem exists. Refer to Powertrain Control Module Replacement in Engine Controls.

Is the procedure complete?

--

Go to Step 17

--

14

Replace the 4L switch. Refer to Selector Switch Replacement .

Is the procedure complete?

--

Go to Step 17

--

15

Refer to Transfer Case in the Transmission/Transaxle Transfer Case Unit Repair Manual in order to test the internal mechanism of the transfer case causing the 4L switch not to operate.

Is the action complete?

--

Go to Step 17

--

16

Refer to DTC P0720 Output Speed Sensor Circuit for the diagnosis of the Vehicle Speed Sensor (VSS).

Is the action complete?

--

Go to Step 17

--

17

  1. Reconnect the connector(s).
  2. Perform the DTC Confirmation Procedure.

Does the scan tool display any DTC(s)?

--

Refer to the applicable DTC table

System OK