GM Service Manual Online
For 1990-2009 cars only

Product Safety - Steering Shaft Coupling

Subject:98076 -- Steering Shaft Coupling

Models:Certain 1999 Chevrolet Tracker Model Vehicles



This Campaign Bulletin supersedes and replaces Campaign Bulletin 98076 dated December, 1998, which should be discarded. The VIN breakpoints have been revised to include additional vehicles, and the service procedure and claims table have been adjusted to include inspection only.


The Highway Safety Act, as amended, provides that each vehicle which is subject to a recall campaign of this type must be adequately repaired within a reasonable time after the customer has tendered it for repair. A failure to repair within sixty (60) days after tender of a vehicle is prima facie evidence of failure to repair within a reasonable time.

If the condition is not adequately repaired within a reasonable time, the customer may be entitled to an identical or reasonably equivalent vehicle at no charge or to a refund of the purchase price less a reasonable allowance for depreciation.

To avoid having to provide these burdensome remedies, every effort must be made to promptly schedule an appointment with each customer and to repair their vehicle as soon as possible. As you will see in reading the attached copy of the divisional letter that is being sent to customers, the customers are being instructed to contact the appropriate Customer Assistance Center if their dealer does not remedy the condition within five (5) days of the mutually agreed upon service date. If the condition is not remedied within a reasonable time, they are instructed on how to contact the National Highway Traffic Safety Administration.

Defect Involved

General Motors has decided that a defect which relates to motor vehicle safety exists in certain 1999 Chevrolet Tracker model vehicles. Some of these vehicles exhibit a condition in which the coupling that connect the steering column shaft to the intermediate steering shaft is cracked. A cracked coupling could break and allow the steering shafts to separate, resulting in loss of steering control. If this were to occur while the vehicle was in motion, a vehicle crash could occur without prior warning.

To prevent the possibility of this condition occurring, dealers are to replace the steering shaft coupling.

Vehicles Involved

Involved are certain 1999 Chevrolet Tracker model vehicles built within the following VIN breakpoints:

Year

Division

Model

Plant

From

Through

1999

Chevrolet

Tracker

Ingersoll

X6900603

X6905587

Important: Dealers should confirm vehicle eligibility through VISS (Vehicle Information Service System) prior to beginning campaign repairs. [Not all vehicles within the above breakpoints may be involved.]

Involved vehicles have been identified by Vehicle Identification Number. Computer listings containing the complete Vehicle Identification Number, customer name and address data have been prepared, and are being furnished to involved dealers with the campaign bulletin. The customer name and address data furnished will enable dealers to follow-up with customers involved in this campaign. Any dealer not receiving a computer listing with the campaign bulletin has no involved vehicles currently assigned.

These dealer listings may contain customer names and addresses obtained from State Motor Vehicle Registration Records. The use of such motor vehicle registration data for any other purpose is a violation of law in several states. Accordingly, you are urged to limit the use of this listing to the follow-up necessary to complete this campaign.

Parts Information

Important: An initial supply of parts required to complete this campaign, equivalent to 50% of involved vehicles, will be pre-shipped to involved dealers of record. This pre-shipment will occur the week of December 21, 1998.

Additional parts, if required, are to be obtained from General Motors Service Parts Operations (GMSPO). Please refer to your "involved vehicles listing" prior to ordering requirements. Normal orders should be placed on a DRO = Daily Replenishment Order. An emergency requirement should be ordered on a CSO = Customer Special Order.

Part Number

Description

Qty/ Vehicle

30024411

Coupling - Steering Shaft

1

Important: Due to the small number of vehicles involved and due to limited initial parts availability, dealers are requested to limit initial parts ordering to parts required for vehicles which are sold and pending delivery.

Previously delivered vehicles should already have been serviced under this campaign via DCS message and special parts shipments from Helm, Inc.

Customer Notification

Customers will be notified of this campaign on their vehicles by General Motors (see copy of typical customer letter included with this bulletin - actual divisional letter may vary slightly). Some owners of vehicles identified as being sold may have been contacted directly by their selling dealer.

Dealer Campaign Responsibility

All unsold new vehicles in dealers' possession and subject to this campaign MUST be held and inspected/repaired per the service procedure of this campaign bulletin BEFORE customers take possession of these vehicles.

Dealers are to service all vehicles subject to this campaign at no charge to customers, regardless of mileage, age of vehicle, or ownership, from this time forward.

Customers who have recently purchased vehicles sold from your vehicle inventory, and for which there is no customer information indicated on the dealer listing, are to be contacted by the dealer. Arrangements are to be made to make the required correction according to the instructions contained in this bulletin. This could be done by mailing to such customers a copy of the customer letter accompanying this bulletin. Campaign follow-up cards should not be used for this purpose, since the customer may not as yet have received the notification letter.

In summary, whenever a vehicle subject to this campaign enters your vehicle inventory, or is in your dealership for service in the future, please take the steps necessary to be sure the campaign correction has been made before selling or releasing the vehicle.

Service Procedure

Important: Suspect couplings are dark black in color and must be replaced. New design couplings are either gray/green or gold in color and do not need to be replaced.

  1. Position the vehicle with the front wheels in the straight ahead position.
  2. Turn the steering wheel until the opening in the steering shaft coupling is in the 12 o'clock position.
  3. If necessary, clean the surface of the coupling with a shop cloth. Inspect the steering coupling and observe its color.
  4. • If the coupling is dark black, proceed to Step 4 of this procedure and replace the coupling.
    • If the coupling is gray/green or gold, proceed to Step 13 of this procedure.

    Figure 1


    Object Number: 757243  Size: SH
    (1)Steering Column Shaft
    (2)Steering Shaft Coupling
    (3)Alignment Marks
  5. To aid in correct alignment of the steering shafts and the new coupling, place marks on the steering column and the intermediate shafts in line with the opening in the steering shaft coupling. Refer to Figure 1.
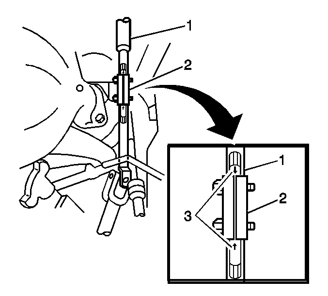
  6. Figure 2


    Object Number: 757244  Size: SH
    (1)Steering Column Shaft
    (2)Steering Shaft Coupling
    (3)Intermediate Steering Shaft
    (4)Lower and Upper Coupling Bolts
  7. Rotate the steering wheel to a locked position with the coupling bolts in an upright, accessible position. Refer to Figure 2.
  8. Remove the coupling bolts. Save for re-use on new coupling.
  9. Using a nylon hammer, tap the coupling forward/down and remove it from the steering column shaft. Remove the coupling from the intermediate steering shaft.
  10. Position the new coupling, P/N 30024411, onto the intermediate steering shaft, making sure the alignment mark on the shaft lines up with the opening in the coupling.
  11. Move the coupling up onto the steering column shaft. If necessary, tap the coupling with a nylon hammer.
  12. Verify that the alignment marks are in the proper position.
  13. Install the coupling bolts.
  14. Tighten
    Tighten the coupling bolts to 25 N·m (18 lb ft).

  15. Verify that the steering wheel is in proper alignment.
  16. Install the GM Campaign Identification Label.

Campaign Identification Label

Each vehicle corrected in accordance with the instructions outlined in this Product Campaign Bulletin will require a "Campaign Identification Label". Each label provides a space to include the campaign number and the five (5) digit dealer code of the dealer performing the campaign service. This information may be inserted with a typewriter or a ball point pen.

Each "Campaign Identification Label" is to be located on the radiator core support in an area which will be visible when the vehicle is brought in by the customer for periodic servicing. When installing the Campaign Identification Label, be sure to pull the tab to allow the adhesion of the clear protective covering. Additional Campaign Identification Labels can be obtained from Dealer Support Materials by calling 1-800-414-6322 (Monday-Friday, 8:00 am to 5:00 pm EST). Ask for Item Number S-1015 when ordering.

Apply the "Campaign Identification Label" only on a clean, dry surface.

Claim Information

Submit a Product Campaign Claim with the information indicated below.

Repair Performed

Part Count

Part No.

Parts Allow

CC-FC

Labor Op

Labor Hours*

Inspect only steering shaft coupling for color

0

--

N/A

MA-96

V0275

0.2

Install steering shaft coupling

1

30024411

**

0.1

* -- For Campaign Administrative Allowance, add 0.1 hours to the "Labor Hours".

** -- The "Parts Allowance" should be the sum total of the current GMSPO Dealer Net price plus 40% for the steering shaft coupling needed to complete the repair.

Refer to the General Motors Corporation Claims Processing Manual for details on Product Campaign Claim Submission.

January, 1999

Dear Chevrolet Tracker Customer:

This notice is sent to you in accordance with the requirements of the National Traffic and Motor Vehicle Safety Act.

Important: You may have already been contacted regarding this recall campaign by your Chevrolet dealer or by the Chevrolet Customer Assistance Center. If you have been notified, and the service correction has been performed on your vehicle, please disregard this notice.

If your vehicle has not been serviced for the recall described in this letter, DO NOT DRIVE YOUR VEHICLE. Contact your Chevrolet dealer immediately for additional information and instructions regarding this recall.

Reason For This Recall

General Motors has decided that a defect which relates to motor vehicle safety exists in certain 1999 Chevrolet Tracker model vehicles. Some of these vehicles exhibit a condition in which the coupling that connect the steering column shaft to the intermediate steering shaft is cracked. A cracked coupling could break and allow the steering shafts to separate, resulting in loss of steering control. If this were to occur while the vehicle was in motion, a vehicle crash could occur without prior warning.

What Will Be Done

To prevent the possibility of this condition occurring, dealers are to replace the steering shaft coupling. This service will be performed for you at no charge .

How Long Will The Repair Take?

The length of time required to perform this service correction is approximately 20 minutes. Additional time may be required to schedule and process your vehicle. If you dealer has a large number of vehicles awaiting service, this additional time may be significant. Please ask your dealer if you wish to know how much additional time will be needed.

Contacting Your Dealer

Please contact your Chevrolet dealer as soon as possible to arrange a service date. Parts are available and instructions for making this correction have been sent to your dealer. Please ask your dealer if you wish to know how much time will be needed to schedule, process, and repair your vehicle.

Your Chevrolet dealer is best equipped to obtain parts and provide services to correct your vehicle as promptly as possible. Should your dealer be unable to schedule a service date within a reasonable time, you should contact the appropriate Customer Assistance Center at the number listed below:

Division

Number

Deaf, Hearing Impaired, or Speech Impaired*

Chevrolet

1-800-222-1020

1-800-833-2438

* Utilizes Telecommunication Devices for the Deaf/Text Telephones (TDD/TTY)

If, after contacting the customer assistance center, you are still not satisfied that we have done our best to remedy this condition without charge and within a reasonable time, you may wish to write the Administrator, National Highway Traffic Safety Administration, 400 Seventh Street SW, Washington, DC 20590 or call 1-800-424-9393 (Washington, DC residents use 202-366-0123).

Customer Reply Card

The enclosed customer reply card identifies your vehicle. Presentation of this card to your dealer will assist in making the necessary correction in the shortest possible time. If you no longer own this vehicle, please let us know by completing the postage paid reply card and returning it to us.

Courtesy Transportation

Your dealer will provide you with shuttle service or some other form of courtesy transportation, if necessary, while your vehicle is at the dealership for this repair. Please refer to your Owner's Manual and your dealer for details on Courtesy Transportation.

We are sorry to cause you this inconvenience; however, we have taken this action in the interest of your safety and continued satisfaction with our products.

Chevrolet Motor Division

General Motors Corporation

Enclosure