GM Service Manual Online
For 1990-2009 cars only
Makes
🢒
Chevrolet
🢒
1999
🢒
Tracker - 2WD
🢒 (Engine Indicators)
(Engine Indicators)
(Engine Indicators)
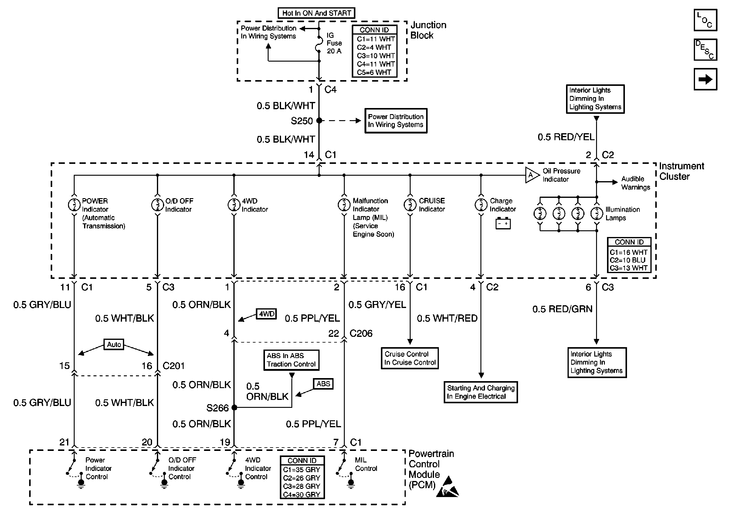
Instrument Cluster Components
Instrument Cluster Circuit Description
(ECT, Fuel Gages, Tachometer and Oil Indicator)
Instrument Panel Lamp Dimmer Control and Lamps
Instrument Panel Lamp Dimmer Control and Lamps
Charging System
IG, TURN and WIP Fuses
Cruise Indicator, Main Cruise Control Switch and Mode Switch
Handling ESD Sensitive Parts Notice
IG, TURN and WIP Fuses
ABS Schematics