GM Service Manual Online
For 1990-2009 cars only

Tools Required

    • J 42960-1 Fuel Tank Drain Hose
    • J 42960-2 Fuel Flapper Door Holder

Caution: Gasoline or gasoline vapors are highly flammable. A fire could occur if an ignition source is present. Never drain or store gasoline or diesel fuel in an open container, due to the possibility of fire or explosion. Have a dry chemical (Class B) fire extinguisher nearby.

Caution: Always wear safety goggles when working with fuel in order to protect the eyes from fuel splash.

Caution: Fuel Vapors can collect while servicing fuel system parts in enclosed areas such as a trunk. To reduce the risk of fire and increased exposure to vapors:

   • Use forced air ventilation such as a fan set outside of the trunk.
   • Plug or cap any fuel system openings in order to reduce fuel vapor formation.
   • Clean up any spilled fuel immediately.
   • Avoid sparks and any source of ignition.
   • Use signs to alert others in the work area that fuel system work is in process.

Notice: Do not force a hose or the siphon of a hand operated pump into the fuel tank. Forcing the hose or siphon into the fuel tank can damage the check valve located in the fuel filler pipe.

  1. Remove the fuel filler cap.
  2. Insert the J 42960-2 fuel filler pipe flapper door holder into the fuel filler pipe.
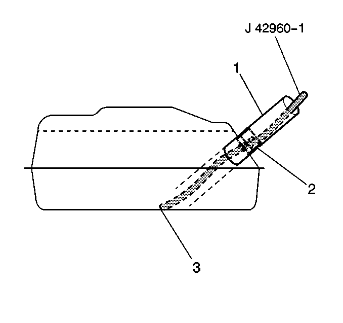
  3. Insert the J 42960-1 flexible siphon hose, attached to a hand operated pump device, into the fuel filler pipe (1).

  4. Object Number: 478196  Size: SH
  5. Gently feed the J 42960-1 siphon hose down into the fuel filler pipe (1), and past the fuel inlet check valve (2). The check valve is located in the neck of the fuel tank and can be reached with approximately 58 cm (23 in) of hose.
  6. Continue to feed the siphon hose down the fuel filler pipe to the bottom of the fuel tank (3). Reaching the bottom of the fuel tank will require approximately 104 cm (41 in.) of hose.
  7. Drain any fuel in the fuel tank with the hand operated pump device.
  8. Remove the siphon hose from the fuel filler pipe.