GM Service Manual Online
For 1990-2009 cars only
Figure 1:

Information Sensors/Input Devices


Object Number: 471751  Size: LF
(1)Fuel Tank Pressure Sensor
(2)Fuel Level Sensor
(3)CMP Sensor
(4)HO2S 2 (with WU-TWC)
(5)HO2S 1
(6)ABS Control Module
(7)HO2S 2 (without WU-TWC)
(8)PSP Switch (if equipped)
(9)CKP Sensor
(10)ECT Sensor
(11)TP Sensor
(12)MAF Sensor
(13)IAT Sensor
(14)Electrical Load Diode
(15)MAP Sensor
(16)A/C Compressor Control Module
(17)VSS
Figure 2:

PCM Controlled Devices


Object Number: 471756  Size: LF
(1)Malfunction Indicator Lamp (MIL)
(2)Main Relay
(3)Fuel Pump Relay
(4)Ignition Coils
(5)Fuel Injectors
(6)Idle Air Control (IAC) Valve
(7)EVAP Canister Purge Valve
(8)EVAP Canister Vent Solenoid
(9)A/C Condenser Fan Relay
(10)EVAP Tank Pressure Control Solenoid Valve
(11)Exhaust Gas Recirculation (EGR) Valve
Figure 3:

Other Engine Control System Components


Object Number: 471761  Size: LF
(1)Data Link Connector (DLC)
(2)Instrument Panel (includes speedometer)
(3)EVAP Canister
(4)Powertrain Control Module (PCM)
(5)Battery
(6)Noise Filter (ignition system)
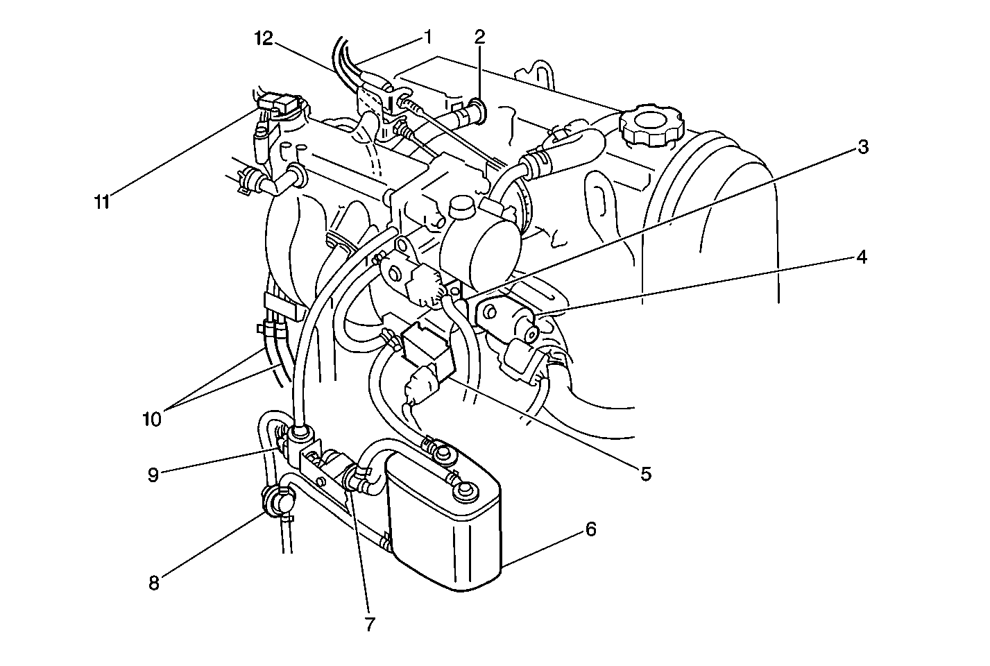
Figure 4:

EVAP System Components and Engine Controls


Object Number: 471933  Size: MF
(1)Accelerator Control Cable
(2)PCV Valve
(3)TP Sensor
(4)IAC Valve
(5)EVAP Canister Purge Valve
(6)EVAP Canister
(7)EVAP Canister Vent Solenoid
(8)Fuel Tank Pressure Control Valve
(9)EVAP Tank Pressure Control Solenoid Valve
(10)Fuel Supply Hoses
(11)MAP Sensor
(12)A/AT Throttle Cable
Figure 5:

EGR Valve and IAC Valve


Object Number: 476499  Size: MF
(1)EGR Valve
(2)TP Sensor
(3)IAC Valve
(4)EVAP Canister Purge Valve
(5)MAP Sensor
Figure 6:

Main Relay and Fuel Pump Relay


Object Number: 468070  Size: SH
(1)Main Relay
(2)Fuel Pump Relay
(3)Junction Box (located above left side hinge pillar trim panel)
Figure 7:

Electrical Load Diode


Object Number: 587746  Size: SH
(1)Electrical Load Diode (taped to wire harness)
(2)HVAC Blower Motor Housing
(3)Wire Harness
(4)Powertrain Control Module (PCM) Bracket
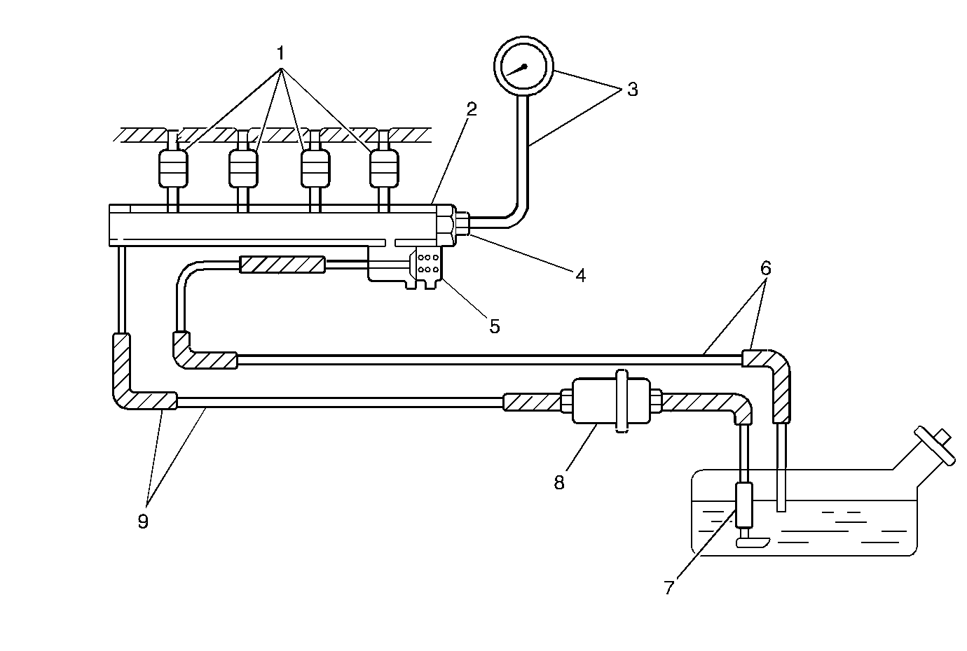
Figure 8:

Fuel Supply System Flow


Object Number: 486504  Size: MF
(1)Fuel Injectors
(2)Fuel Rail
(3)Fuel Pressure Gage (J 34730-1)
(4)Fuel Pressure Gage Adapter (J 41041)
(5)Fuel Pressure Regulator
(6)Fuel Return Pipes/Hoses
(7)Fuel Pump
(8)Fuel Filter
(9)Fuel Feed Pipes/Hoses