GM Service Manual Online
For 1990-2009 cars only

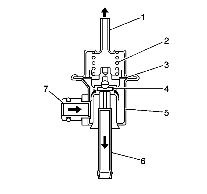
Throttle Body Assembly


Object Number: 629301  Size: MH
(1)Throttle Body Assembly
(2)Throttle Valve
(3)Air Limiting Valve
(4)Engine Coolant Passage
(5)Idle Air Control (IAC) Valve

The throttle body assembly is located on the right side of the engine compartment between the air inlet duct and the intake chamber. The throttle body assembly contains the following:

    • Throttle Valve
    • Idle Air Bypass Passage
    • Air Limiting Valve
    • Engine Coolant Passage

The throttle valve is interlocked with the accelerator pedal by the accelerator control cable. The throttle valve controls the large volume of air that is drawn into the intake chamber. The idle air bypass passage provides air for the control of engine speed when the throttle valve is closed. The air limiting valve provides additional bypass air to engine when the engine is cold. The air limiting valve is a bi-metal spring that is preset at the factory and cannot be adjusted. The air limiting valve is not serviced separate from the throttle body assembly. The throttle body is warmed by engine coolant that flows through the idle air control valve and into a coolant passage located in the throttle body. The warming of the throttle body helps prevent throttle valve icing. Attached to the throttle body are the throttle position (TP) sensor and the idle air control (IAC) valve.

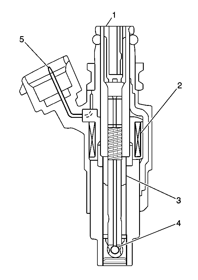
Fuel Injectors


Object Number: 472420  Size: MH
(1)Fuel Inlet Filter
(2)Solenoid Coil Windings
(3)Armature
(4)Seat Ball Valve
(5)Electrical Terminals

The fuel injector is an electromagnetic (solenoid) type injection nozzle that injects fuel into the intake port of the cylinder head. There are four fuel injectors, one for each cylinder, located between the intake manifold and the fuel rail.

The powertrain control module energizes the solenoid coil (2) of the fuel injector, generating an electromagnet field that attracts the solenoid plunger (3). The ball valve (4), which is incorporated with the solenoid plunger, is opened by the movement of the solenoid plunger. The opening of the ball valve allows fuel that is under pressure to disperse in a cone shaped (conic) pattern. Because the stroke of the ball valve in the fuel injector is set constant, the amount of fuel injected at one time is determined by the length of time the solenoid coil is energized, or pulse width injection time.

Fuel Pressure Regulator


Object Number: 464423  Size: SH
(1)Manifold Vacuum Port
(2)Spring (Chamber A)
(3)Diaphragm
(4)Valve
(5)Chamber B
(6)Return Fuel Port (to fuel tank)
(7)Fuel Inlet (from fuel pump)

The fuel pressure regulator is a diaphragm-operated pressure relief valve consisting of a diaphragm (3), a spring (2), and a valve (4). The fuel pressure regulator keeps the fuel pressure applied to the fuel injector at a pressure much more than the pressure in the intake manifold.

The pressure applied to chamber A (2) of the fuel pressure regulator is the intake manifold pressure. The pressure applied to chamber B (5) of the fuel pressure regulator is fuel pressure. When the fuel pressure rises at least 210 kPa (30 psi) higher than the intake manifold pressure, the fuel pushes a valve in the regulator open and excess fuel (6) returns to the fuel tank via the fuel return pipe.