GM Service Manual Online
For 1990-2009 cars only

The rear suspension is a coil sprung rigid axle located by 5 links. The rear suspension consists of the following components:

    • 2 coil springs
    • 2 shock absorbers
    • 2 upper control arms
    • 2 lower control arms
    • A rear axle tie rod
    • A rear axle

The rear axle tie rod controls lateral axle movement.

The lower control arms and the upper control arms control the vertical axle movement.

The shock absorbers dampen the vertical axle movement.

Rear Suspension


Object Number: 468709  Size: SH
(1)Coil Spring
(2)Upper Control Arm Bolt
(3)Rear Suspension Upper Control Arm
(4)Rear Axle Tie Rod
(5)Rear Suspension Lower Control Arm
(6)Lower Control Arm Bolt
(7)Rear Shock Absorber Lower Bolt
(8)Tie Rod Bolt
(9)Rear Shock Absorber

Rear Suspension and Rear Axle Sectional View


Object Number: 467919  Size: MF
(1)Rear Axle Housing
(2)Oil Drain Plug
(3)Oil Level Plug
(4)Rear Axle Shaft
(5)Shock Absorber
(6)Rear Wheel Bearing
(7)Brake Back Plate

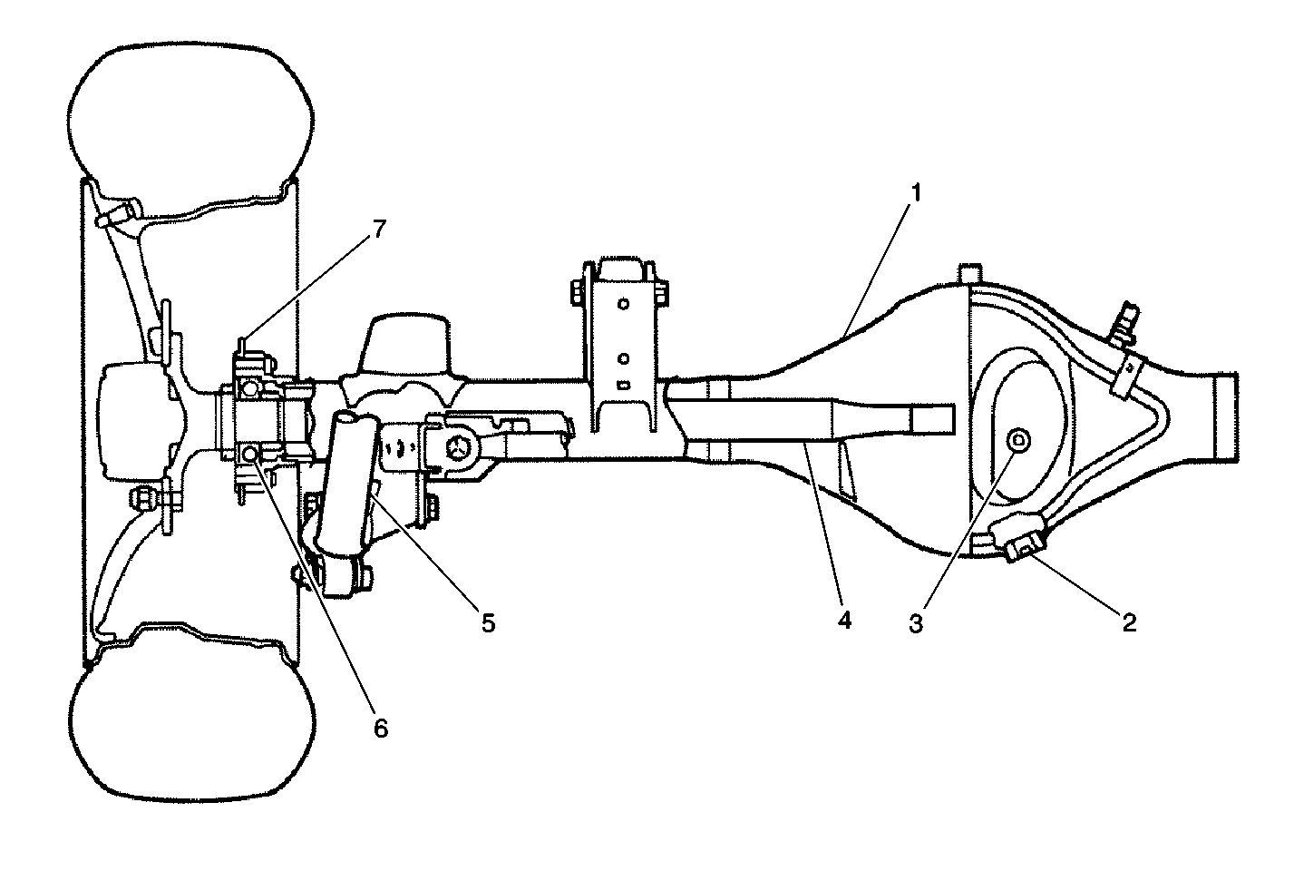
Rear Suspension Side View


Object Number: 467921  Size: MF
(1)Coil Spring
(2)Shock Absorber
(3)Rear Axle Tie Rod
(4)Rear Suspension Lower Control Arm
(5)Rear Suspension Upper Control Arm