GM Service Manual Online
For 1990-2009 cars only

Brake Pedal Height Inspection Procedure

    Important: Verify that the carpet is firmly attached to the vehicle body when measuring.

  1. Start the engine.
  2. Press the brake pedal several times.

  3. Object Number: 469834  Size: SH
  4. Measure the brake pedal height with 0 kg (0 lbs) of force on the brake pedal.
  5. Measurement
    The brake pedal height should be within 175-185 mm (6.9-7.3 in).

  6. If the measurement is not within specification, perform the following adjustments:
  7. 4.1. Measure the distance from the stoplamp switch to the brake pedal stopper. Adjust the distance if necessary. Refer to Stop Lamp Switch Adjustment .
    4.2. Inspect the vacuum booster. Refer to Vacuum Booster Diagnosis . Adjust if necessary. Refer to the Adjustment Procedure in Power Vacuum Brake Booster Replacement .

Brake Pedal Travel Inspection Procedure

Tools Required

J 28662 Brake Pedal Effort Gauge


    Object Number: 469837  Size: SH
  1. Start the engine.
  2. Press the brake pedal several times.
  3. Use J 28662 in order to press the brake pedal with 30 kg (66 lb) of force.
  4. Important: Verify that the carpet is firmly attached to the vehicle body when measuring.

  5. Measure the clearance from the pedal to the carpet.
  6. Measurement
    The clearance should be 100-120 mm (3.94-4.72 in).

  7. If the brake pedal travel does not meet the specification, complete the following:
  8. 4.1. Inspect the brake shoes. Refer to Brake Shoe Inspection in Drum Brakes.
    4.2. Bleed the hydraulic brake system. Refer to Hydraulic Brake System Bleeding .
    4.3. Adjust the rear brake shoes. Refer to Drum Brake Adjustment in Drum Brakes.
    4.4. Inspect the vacuum booster. Refer to Vacuum Booster Diagnosis . Adjust if necessary. Refer to the Adjustment Procedure in Power Vacuum Brake Booster Replacement .

Brake Pedal Free Play Inspection

  1. Start the engine.
  2. Press the brake pedal several times.

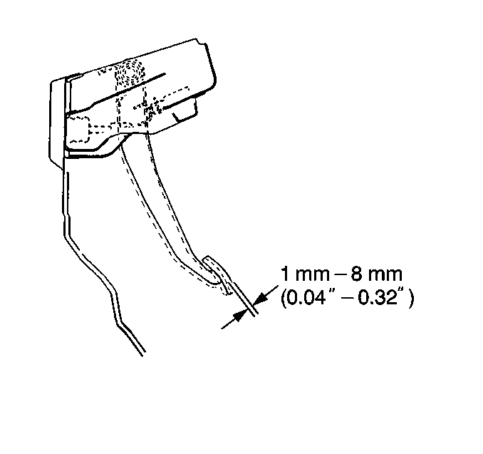
  3. Object Number: 469839  Size: SH
  4. Measure the brake pedal free play.
  5. Measurement
    Brake pedal free play should be between 1-8 mm (0.04-0.32 in).

  6. If brake pedal free play is out of specification, inspect the brake switch for proper installation. Adjust if necessary. Refer to Stop Lamp Switch Adjustment .
  7. Inspect the pedal shaft bolt and the master cylinder pin for looseness. Replace if defective.