GM Service Manual Online
For 1990-2009 cars only

Master Cylinder Description 1.6L Non-ABS

The master cylinder is a tandem design. The master cylinder has 2 pistons and 3 piston cups.

The brake system has 2 independent circuits. One circuit serves the front brakes, and the other circuit serves the rear brakes. Hydraulic pressure from the primary chamber acts on the rear brakes and on the Load Sensing Proportioning Valve (LSPV). Hydraulic pressure from the secondary chamber acts on the front brakes and on the LSPV.

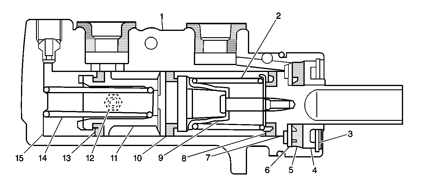
Master Cylinder Sectional View (1.6L Non-ABS)


Object Number: 473224  Size: SF
(1)Master Cylinder Body
(2)Primary Piston Return Spring
(3)O-Ring
(4)Piston Guide
(5)Primary Piston
(6)Plate
(7)Piston Stopper
(8)Piston Cup
(9)Primary Spring Retainer
(10)Secondary Piston Pressure Cup
(11)Secondary Piston
(12)Secondary Piston Stopper Bolt
(13)Piston Cup
(14)Secondary Piston Return Spring
(15)Master Cylinder Body

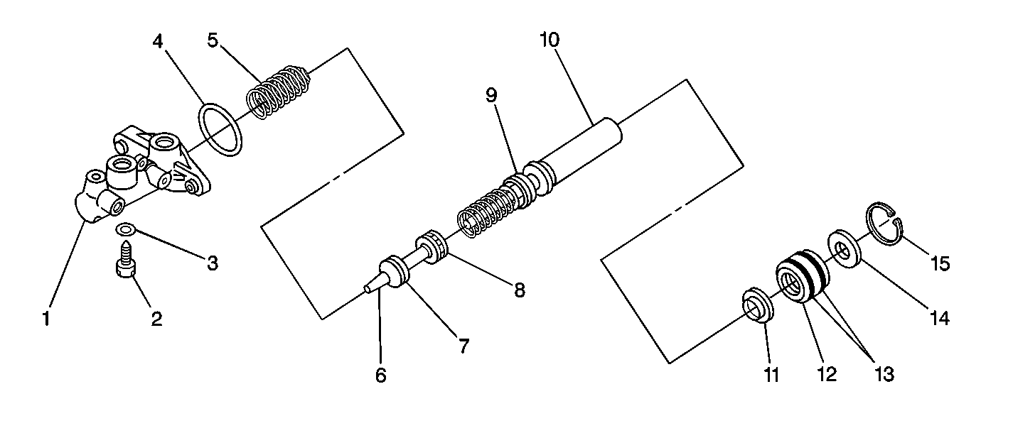
Master Cylinder Disassembled View (1.6L Non-ABS)


Object Number: 473253  Size: SF
(1)Master Cylinder Body
(2)Secondary Piston Stopper Bolt
(3)Washer
(4)O-Ring
(5)Spring
(6)Secondary Piston Assembly
(7)Piston Cup
(8)Secondary Piston Pressure Cup
(9)Piston Cup
(10)Primary Piston
(11)Piston Stopper
(12)Piston Guide
(13)O-Rings
(14)Plate
(15)Piston Stopper Snap Ring

Master Cylinder Description 2.0L Non-ABS

The master cylinder is a tandem design. The master cylinder has 2 pistons and 3 piston cups.

The brake system has 2 independent circuits. One circuit serves the front brakes, and the other circuit serves the rear brakes. Hydraulic pressure from the primary chamber acts on the rear brakes and on the Load Sensing Proportioning Valve (LSPV). Hydraulic pressure from the secondary chamber acts on the front brakes and on the LSPV.

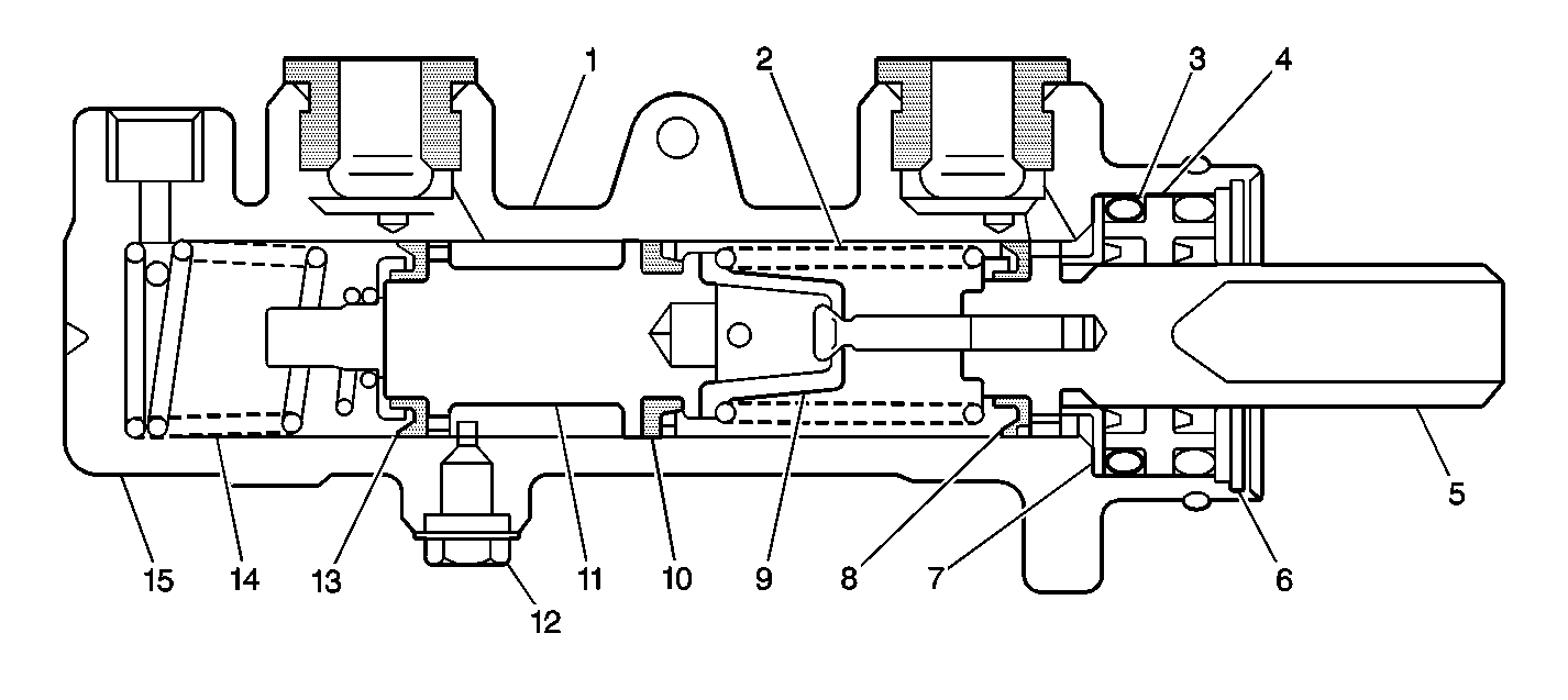
Master Cylinder Sectional View (2.0L Non-ABS)


Object Number: 470111  Size: SF
(1)Master Cylinder Body
(2)Primary Piston Return Spring
(3)Piston Stopper Snap Ring
(4)Piston Stopper
(5)Cylinder Cup
(6)Plate
(7)Primary Piston
(8)Piston Cup
(9)Primary Spring Retainer
(10)Secondary Piston Pressure Cup
(11)Secondary Piston
(12)Secondary Piston Stopper Bolt
(13)Piston Cup
(14)Secondary Piston Return Spring
(15)Master Cylinder Body

Master Cylinder Disassembled View (2.0L Non-ABS)


Object Number: 470138  Size: SF
(1)Master Cylinder Body
(2)Secondary Piston Stopper Bolt
(3)Reservoir Pin
(4)O-Ring
(5)Piston Spring
(6)Piston Cup
(7)Secondary Piston Assembly
(8)Secondary Piston Pressure Cup
(9)O-Ring
(10)Primary Piston
(11)Plate
(12)Cylinder Cup
(13)Piston Stopper
(14)Piston Stopper Snap Ring

Master Cylinder Description ABS

The master cylinder is a tandem design. The master cylinder has 2 pistons and 3 piston cups.

The brake system has 2 independent circuits. One circuit serves the front brakes, and the other circuit serves the rear brakes. Hydraulic pressure from the primary chamber acts on the front brakes. Hydraulic pressure from the secondary chamber acts on the rear brakes.

Master Cylinder Sectional View (ABS)


Object Number: 470110  Size: SF
(1)Master Cylinder Body
(2)Primary Piston
(3)Plate
(4)Cylinder Cup
(5)Piston Stopper
(6)Piston Stopper Snap Ring
(7)Piston Cup
(8)Primary Piston Return Spring
(9)Primary Spring Retainer
(10)Secondary Piston Pressure Cup
(11)Secondary Piston
(12)Return Spring Secondary Seat
(13)Secondary Piston Return Spring
(14)Master Cylinder Body

Master Cylinder Disassembled View (ABS)


Object Number: 470137  Size: SF
(1)Master Cylinder Body
(2)Reservoir Pin
(3)Reservoir Grommet
(4)Reservoir Grommet
(5)O-Ring
(6)Piston Cup
(7)Secondary Piston Assembly
(8)Secondary Piston Pressure Cup
(9)Primary Piston
(10)Plate
(11)Cylinder Cup
(12)Piston Stopper
(13)Piston Stopper Snap Ring