GM Service Manual Online
For 1990-2009 cars only

    Object Number: 469844  Size: SH
  1. Inspect the brake pads when the wheels are off the vehicle. Refer to Tire Rotation in Tires and Wheels.
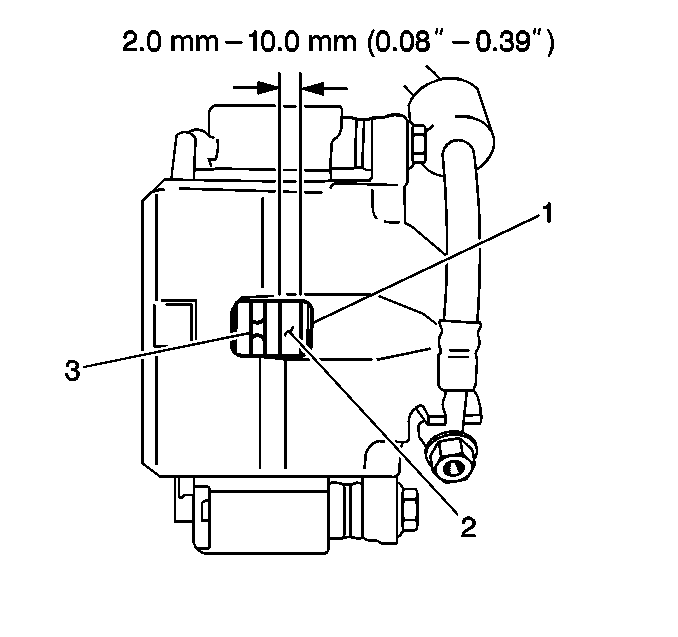
  2. Inspect both ends of the inner pad (2) by looking through the lining inspection hole (1) in the caliper. These are the points where the highest rate of wear normally occurs. At the same time, measure the thickness of the outer pad in order to ensure that the outer pad has not worn prematurely. The minimum thickness of the pad lining material is 2.0 mm (0.08 in).
  3. Replace the pads if the thickness of the pad lining material is less than the minimum specification. Refer to Brake Pads Replacement .