GM Service Manual Online
For 1990-2009 cars only

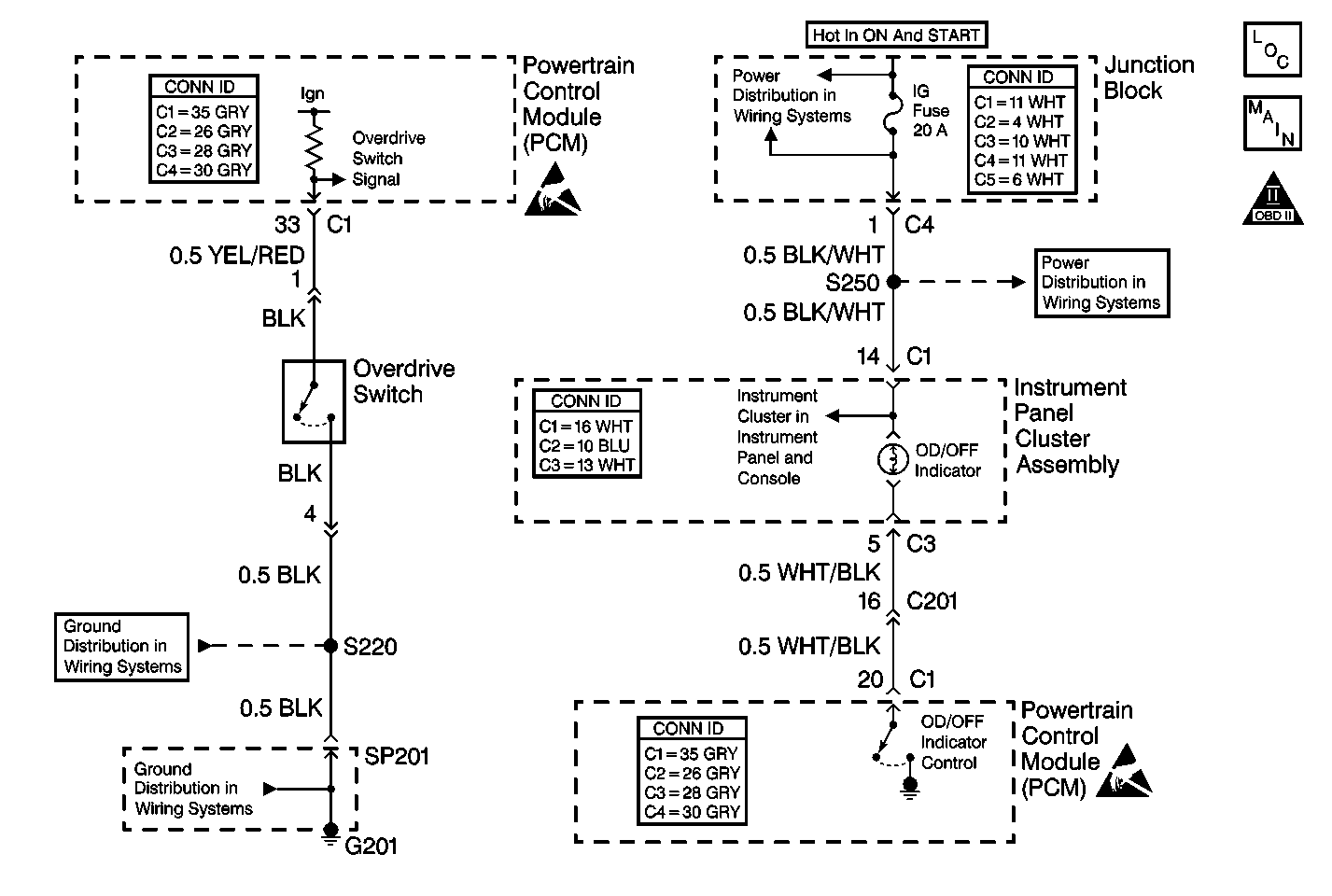
Object Number: 478553  Size: MF

Circuit Description

When the ignition switch turns ON, the Powertrain Control Module (PCM) performs a 3-second OD/OFF indicator bulb check. The PCM performs the bulb check by grounding the OD/OFF indicator control circuit. The OD switch button grounds the OD/OFF signal circuit to the PCM when the OD switch button releases. The above condition causes the PCM to ground the OD/OFF indicator control circuit. Grounding the OD/OFF indicator control circuit turns on the OD/OFF indicator lamp located in the instrument panel gauge cluster. The OD/OFF indicator informs the driver that the transmission will not shift into overdrive (4th  gear).

The following conditions occur after the OD switch button is pressed:

    • The depressed OD switch button removes a path to ground to the OD/OFF signal circuit.
    • The PCM turns off the OD/OFF indicator lamp.
    • The PCM adds overdrive (4th gear) to the shift schedule.

Diagnostic Aids

Inspect for the following conditions:

    • An open OD/OFF indicator lamp bulb filament
    • An open IG Fuse
    • A faulty overdrive switch (always open)
    • A reduced ground (G201)
    • An open circuit between the PCM and the instrument panel gauge cluster
    • A damaged instrument panel gauge cluster printed circuit
    • A faulty PCM

The following conditions may cause an intermittent condition:

    • A reduced connection
    • Rubbed through wire insulation
    • A broken wire inside the insulation

Before replacing components, inspect the inline harness connector terminals for the following conditions:

    • Reduced connections
    • Backed out terminals
    • Improper mating
    • Broken locks
    • Improperly formed or damaged terminals
    • Reduced terminal-to-wire connections

Repeat the Powertrain OBD System Check after making repairs in order to ensure that the system functions normally.

Refer to Wiring Repairs in Wiring Systems when repairing any wiring.

Test Description

The numbers below refer to the step numbers on this diagnostic table.

  1. The Powertrain OBD System Check prompts the technician to complete some basic checks and store the freeze frame data on the scan tool if applicable. The scan tool creates an electronic copy of the data taken when the fault occurred. The information then stores in the scan tool for later reference.

  2. This step is to verifiy that the scan tool can read PCM input information from the overdrive switch.

  3. This step tests for a faulty PCM.

  4. This step inspects for an open bulb filament.

  5. This step tests the power source to the instrument panel gauge cluster.

  6. This step tests for an open in the indicator control circuit.

  7. This step verifies if the PCM responds by turning on the O/D OFF indicator when grounding the O/D OFF signal circuit.

  8. This step tests for a reduced ground (G201) to the overdrive switch.

  9. This step tests for an open in the O/D OFF signal circuit.

  10. This step tests for a faulty OD switch.

  11. This step tests if the condition relates to a poor connection and is not due to a faulty PCM.

  12. This step tests for proper operation of the O/D OFF indicator.

Step

Action

Value(s)

Yes

No

1

Was the Powertrain On-Board Diagnostic (OBD) System Check performed?

--

Go to Step 2

Go to Powertrain On Board Diagnostic (OBD) System Check in Engine Controls - 1.6L or Powertrain On Board Diagnostic (OBD) System Check in Engine Controls - 2.0L

2

  1. Install a scan tool.
  2. Turn ON the ignition, leaving the engine OFF.
  3. Monitor the overdrive switch status on the scan tool while toggleing the overdrive switch.

Did the scan tool show the overdrive switch status toggle from OFF to ON?

--

Go to Step 3

Go to Step 7

3

  1. Turn the ignition switch to the LOCK position.
  2. Connect a fused jumper between ground and the PCM harness connector C1 terminal 20.
  3. Turn the ignition switch to the ON position.

Does the O/D OFF indicator lamp turn on?

--

Go to Step 11

Go to Step 4

4

  1. Turn the ignition switch to the LOCK position.
  2. Remove the instrument panel gauge cluster.
  3. Remove the O/D OFF indicator bulb from the cluster.

Is the bulb filament open?

--

Go to Step 12

Go to Step 5

5

  1. Disconnect the instrument panel gauge cluster connector C1.
  2. Turn the ignition switch to the ON position.
  3. Connect a test lamp between ground and the instrument panel gauge cluster harness connector C1 terminal 14.

Does the test lamp illuminate?

--

Go to Step 6

Go to Step 13

6

Use J 39200 in order to measure the resistance between the instrument panel gauge cluster harness connector C3 terminal 5 and the PCM harness connector C1 terminal 20.

Is the resistance less than the specified value?

2 ohms

Go to Step 14

Go to Step 15

7

  1. Turn the ignition switch to the LOCK position.
  2. Connect a fused jumper wire between ground and the PCM harness connector C1 terminal 33 by backprobing.
  3. Turn the ignition switch to the ON position.
  4. Monitor the overdrive switch status on the scan tool.

Did the scan tool show the overdrive switch status toggle from OFF to ON?

--

Go to Step 8

Go to Step 11

8

  1. Turn the ignition switch to the LOCK position.
  2. Disconnect the overdrive switch.
  3. Connect a test lamp between B+ and the overdrive switch connector 4.

Does the test lamp illuminate?

--

Go to Step 9

Go to Step 16

9

Use J 39200 in order to measure the resistance between the overdrive switch connector 1 and the PCM harness connector C1 terminal 33.

Is the resistance less than the specified value?

2 ohms

Go to Step 10

Go to Step 18

10

Use J 39200 in order to measure the resistance across the overdrive switch terminals.

Is the resistance less than the specified value with the switch released?

2 ohms

(∞ with the switch pressed)

Go to Step 19

Go to Step 17

11

  1. Inspect the PCM connector C1 for reduced terminal contact.
  2. Replace the PCM if terminal contact is OK.

Is the procedure complete?

--

Go to Step 20

--

12

Replace the O/D OFF indicator bulb.

Is the replacement complete?

--

Go to Step 20

--

13

Repair the open or the high resistance in the BLK/WHT wire between the instrument panel gauge cluster and the IG fuse.

Is the repair complete?

--

Go to Step 20

--

14

  1. Inspect the instrument panel gauge cluster printed circuit for cracks or opens.
  2. Replace the instrument panel gauge cluster as necessary.

Is the procedure complete?

--

Go to Step 20

--

15

Repair the open or the high resistance in the WHT/BLK wire between the instrument panel gauge cluster and the PCM.

Is the repair complete?

--

Go to Step 20

--

16

Repair the open or the high resistance in the BLK wire between the overdrive switch harness connector terminal 4 and G201.

Is the repair complete?

--

Go to Step 20

--

17

Replace the overdrive switch. Refer to O/D Cut Switch Replacement .

Is the procedure complete?

--

Go to Step 20

--

18

Repair the open or the high resistance in the YEL/RED wire between the overdrive switch harness connector terminal 1 and the PCM.

Is the repair complete?

--

Go to Step 20

--

19

A malfunction does not exist at this time. Refer to Diagnostic Aids for additional information.

Is the action complete?

--

Go to Step 20

--

20

  1. Turn the ignition switch to the LOCK position.
  2. Reconnect the connector(s).
  3. Turn the ignition switch to the ON position.

Does the O/D OFF indicator lamp turn on with the overdrive switch released?

--

System OK

Go to Step 1