GM Service Manual Online
For 1990-2009 cars only

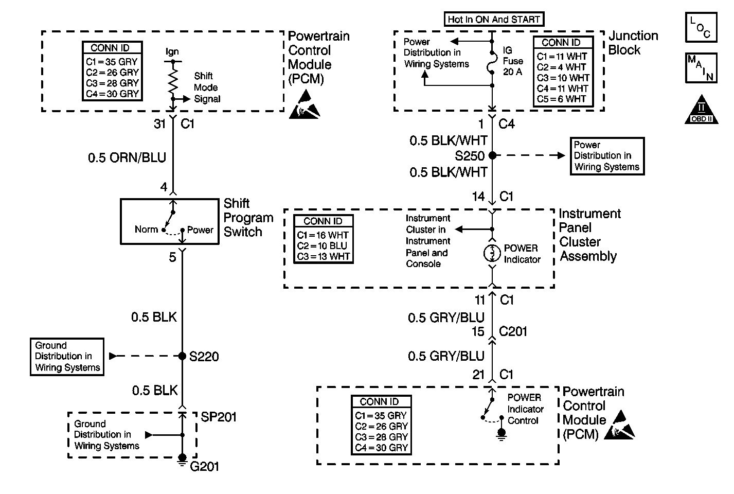
Object Number: 478556  Size: MF

Circuit Description

When the ignition switch turns ON, the Powertrain Control Module (PCM) performs a 3-second POWER indicator bulb check. The PCM performs the bulb check by grounding the POWER indicator control circuit. The Power/Normal switch button grounds the shift mode signal circuit to the PCM when the Mode Select Switch sets to POWER. The above condition causes the PCM to ground the POWER indicator control circuit. Grounding the POWER indicator control circuit turns on the POWER indicator lamp located in the instrument panel gauge cluster. The POWER indicator informs the driver that the PCM is using the Power gear shift schedule (delaying upshifting for improved acceleration).

The following conditions occur after the Mode Select Switch button sets to NORMAL:

    • The Mode Select Switch button removes a path to ground to the shift mode signal circuit.
    • The PCM turns off the POWER indicator lamp.
    • The PCM uses the Normal gear shift schedule (early upshifting for improved fuel economy).

Diagnostic Aids

Inspect for the following conditions:

    • An open POWER indicator lamp bulb filament.
    • An open IG fuse
    • A faulty Mode Select Switch (always open)
    • A poor ground (G201)
    • An open circuit between the PCM and the instrument panel gauge cluster
    • A damaged instrument panel gauge cluster printed circuit
    • A faulty PCM

The following conditions may cause an intermittent condition:

    • A poor connection
    • Rubbed through wire insulation
    • A broken wire inside the insulation

Before replacing components, inspect the inline harness connector terminals for the following conditions:

    • Poor connections
    • Backed out terminals
    • Improper mating
    • Broken locks
    • Improperly formed or damaged terminals
    • Reduced terminal-to-wire connections.

Repeat the Powertrain OBD System Check after making repairs in order to ensure that the system functions normally.

Refer to Wiring Repairs in Wiring Systems when repairing any wiring.

Test Description

The numbers below refer to the step numbers on this diagnostic table.

  1. The Powertrain OBD System Check prompts the technician to complete some basic checks and store the freeze frame data on the scan tool if applicable. The scan tool creates an electronic copy of the data taken when the fault occurred. The information then stores in the scan tool for later reference.

  2. This step is to verifiy that the scan tool can read PCM input information from the Mode Select Switch.

  3. This step tests for a faulty PCM.

  4. This step inspects for an open bulb filament.

  5. This step tests the power source to the instrument panel gauge cluster.

  6. This step tests for an open in the indicator control circuit.

  7. This step verifies if the PCM responds by turning on the POWER indicator when grounding the signal circuit.

  8. This step tests for a reduced ground (G201) to the Mode Select Switch.

  9. This step tests for an open in the signal circuit.

  10. This step tests for a faulty Mode Select Switch.

  11. This step tests if the condition relates to a poor connection and is not due to a faulty PCM.

  12. This step tests for proper operation of the POWER indicator.

Step

Action

Value(s)

Yes

No

1

Was the Powertrain On-Board Diagnostic (OBD) System Check performed?

--

Go to Step 2

Go to Powertrain On Board Diagnostic (OBD) System Check in Engine Controls

2

  1. Install a scan tool.
  2. Turn ON the ignition, leaving the engine OFF.
  3. Monitor the Mode Select Switch status on the scan tool while toggleing the shift program switch.

Did the scan tool show the Mode Select Switch status toggle from POWER to NORMAL?

--

Go to Step 3

Go to Step 7

3

  1. Turn the ignition switch to the LOCK position.
  2. Connect a fused jumper between ground and the PCM harness connector C1 terminal 21.
  3. Turn the ignition switch to the ON position.

Does the POWER indicator lamp turn on?

--

Go to Step 11

Go to Step 4

4

  1. Turn the ignition switch to the LOCK position.
  2. Remove the instrument panel gauge cluster.
  3. Remove the POWER indicator bulb from the cluster.

Is the bulb filament open?

--

Go to Step 12

Go to Step 5

5

  1. Disconnect the instrument panel gauge cluster connector C1.
  2. Turn the ignition switch to the ON position.
  3. Connect a test lamp between ground and the instrument panel gauge cluster harness connector C1 terminal 14.

Does the test lamp illuminate?

--

Go to Step 6

Go to Step 13

6

Use J 39200 in order to measure the resistance between the instrument panel gauge cluster harness connector C1 terminal 11 and the PCM harness connector C1 terminal 21.

Is the resistance less than the specified value?

2 ohms

Go to Step 14

Go to Step 15

7

  1. Turn the ignition switch to the LOCK position.
  2. Connect a fused jumper wire between ground and the PCM harness connector C1 terminal 31 by backprobing.
  3. Turn the ignition switch to the ON position.
  4. Monitor the Mode Select Switch status on the scan tool.

Did the scan tool show the Mode Select Switch status toggle from POWER to NORMAL?

--

Go to Step 8

Go to Step 11

8

  1. Turn the ignition switch to the LOCK position.
  2. Disconnect the shift program switch.
  3. Connect a test lamp between B+ and the shift program switch connector 5.

Does the test lamp illuminate?

--

Go to Step 9

Go to Step 16

9

Use J 39200 in order to measure the resistance between the shift program switch connector 4 and the PCM harness connector C1 terminal 31.

Is the resistance less than the specified value?

2ohms

Go to Step 10

Go to Step 18

10

Use J 39200 in order to measure the resistance across the shift program switch terminals.

Is the resistance less than the specified value with the switch released?

2 ohms

(∞ with the switch pressed)

Go to Step 19

Go to Step 17

11

Inspect the PCM connector C1 for reduced terminal contact. Replace the PCM if terminal contact is OK.

Is the procedure complete?

--

Go to Step 20

--

12

Replace the POWER indicator bulb.

Is the replacement complete?

--

Go to Step 20

--

13

Repair the open or the high resistance in the BLK/WHT wire between the instrument panel gauge cluster and the IG fuse.

Is the repair complete?

--

Go to Step 20

--

14

Inspect the instrument panel gauge cluster printed circuit for cracks or opens.

Replace the instrument panel gauge cluster as necessary.

Is the procedure complete?

--

Go to Step 20

--

15

Repair the open or the high resistance in the GRY/BLU wire between the instrument panel gauge cluster and the PCM.

Is the repair complete?

--

Go to Step 20

--

16

Repair the open or the high resistance in the BLK wire between the shift program switch harness connector terminal 5 and G201.

Is the repair complete?

--

Go to Step 20

--

17

Replace the shift program switch.

Is the procedure complete?

--

Go to Step 20

--

18

Repair the open or the high resistance in the ORN/BLU wire between the shift program switch harness connector terminal 4 and the PCM.

Is the repair complete?

--

Go to Step 20

--

19

A malfunction does not exist at this time. Refer to Diagnostic Aids for additional information.

Is the action complete?

--

Go to Step 20

--

20

  1. Turn the ignition switch to the LOCK position.
  2. Reconnect the connector(s).
  3. Turn the ignition switch to the ON position.

Does the POWER indicator lamp turn on with the shift program switch in the Power mode?

--

System OK

Go to Step 1