GM Service Manual Online
For 1990-2009 cars only

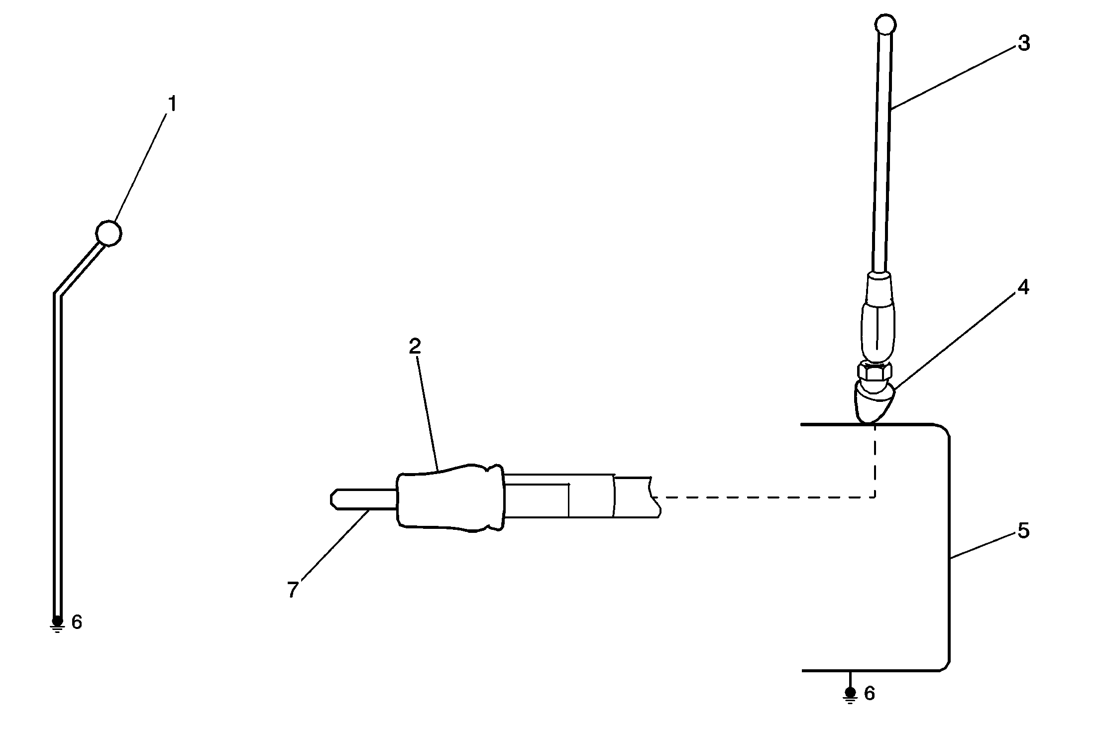
Antenna and Antenna Lead Wire


Object Number: 209119  Size: MF
(1)Coax Shield
(2)Antenna Connector collar
(3)Antenna
(4)Antenna Base
(5)Body
(6)Ground
(7)Antenna Connector Conductor

Antenna System Resistance Values

Digital Multimeter probes at points:

Resistance measured in ohms

7 and 3

Less than 0.15

7 and 1

infinite

7 and 2

infinite

7 and 4

infinite

7 and 5

infinite

7 and 6

infinite

2 and 6

Less than 0.5