GM Service Manual Online
For 1990-2009 cars only

Removal Procedure

Important: 

   • Do not attempt to replace the rear door window reveal molding without removing the rear door window.
   • When replacing the rear door window, do not reuse the original rear door window reveal molding. Replace the original rear door window reveal molding with a new rear door window reveal molding.
   • New rear door window reveal moldings are primed and will adhere to the urethane adhesive.


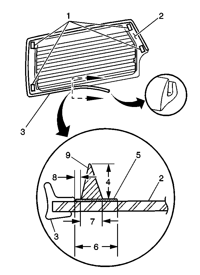
    Object Number: 488785  Size: MH
  1. Remove the rear door window. Refer to Rear Window Replacement .
  2. Remove the rear door window reveal molding (3) from the rear door window (2).

Installation Procedure


    Object Number: 488785  Size: MH
  1. Install the rear door window reveal molding (3) to the rear door window (2) by starting at the center and pressing the reveal molding into position.
  2. Prefit the rear door window reveal molding (3) and the rear door window (2) as an assembly to the body prior to the actual installation.
  3. Install the rear door window. Refer to Rear Window Replacement .