GM Service Manual Online
For 1990-2009 cars only

Information - Rear Seat Belt Buckle Identification and Correct Positioning

Subject:Rear Seat Belt Buckle Identification and Correct Positioning

Models:1999-2000 Chevrolet Tracker



This bulletin is being revised to add the 2000 model year and additional information on seat belt positioning. Please discard Corporate Bulletin Number 99-09-40-002.


The purpose of this bulletin is to assist dealer service personnel in responding to questions that may be received from vehicle owners on the identification and correct positioning of the CENTER rear seat belt buckle and the LEFT rear seat belt buckle.

Figure 1


Object Number: 604304  Size: MF

Figure 1 shows the correct positioning of the CENTER rear seat belt buckle (1) and the LEFT rear seat belt buckle (2) when not in use. When NOT in use, the CENTER seat belt buckle is located outboard of the LEFT buckle.

Figure 2


Object Number: 604312  Size: MF

Figure 2 shows the correct positioning of the CENTER (1) and LEFT (2) rear seat belt buckles when both ARE in use. When in use, the CENTER and LEFT seat belts will cross over each other as shown.

To make identification of the rear buckles easier, the CENTER rear buckle (1) has the word "CENTER" molded into the cover. The CENTER rear latch plate (3) that connects to the CENTER rear seat belt buckle (1) also has the word "CENTER" molded into it's cover.

Figure 3


Object Number: 713801  Size: MF

Figure 3 shows the correct location of the CENTER buckle (1), LEFT buckle (2), RIGHT buckle (3) and CENTER latch plate (4) in the rear seat floor pan (5). If removal or replacement of the latch plate or any of the buckles is ever required, they must be reinstalled as shown.

Important: Installing the latch plate or any of the buckles other than as shown may reduce the performance or effectiveness of the rear seat belt system in a crash situation.

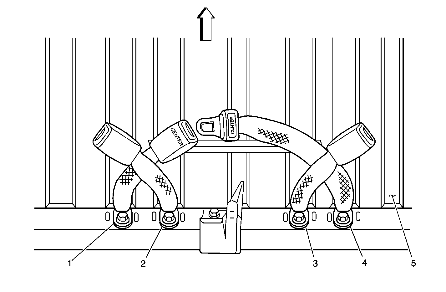
Figure 4


Object Number: 717455  Size: MF

Figure 4 shows how the CENTER buckle (1), LEFT buckle (2), RIGHT buckle (3) and CENTER latch plate (4) appear under the rear seat when in use. The arrow at the top of the illustration indicates the front of the vehicle.

Important: The LEFT and CENTER rear seat belt latch plates are designed only to connect to their matching buckles. The LEFT rear latch plate will NOT connect to the CENTER rear buckle and the CENTER rear latch plate will NOT connect to the LEFT rear buckle.