GM Service Manual Online
For 1990-2009 cars only
Makes
🢒
Chevrolet
🢒
2000
🢒
Tracker - 2WD
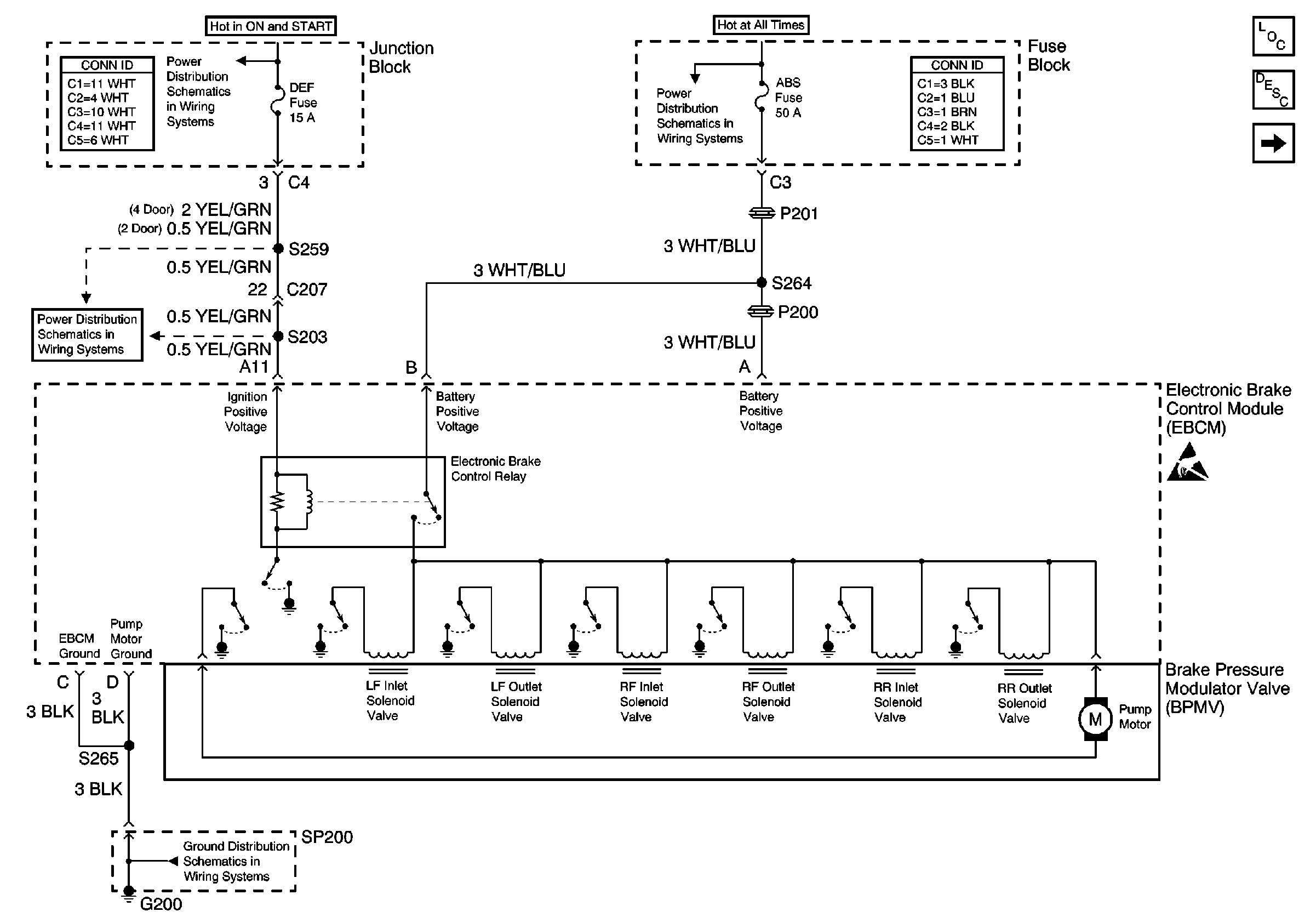
🢒 Brake Pressure Modulator Valve (BPMV)
Brake Pressure Modulator Valve (BPMV)
Brake Pressure Modulator Valve (BPMV)