GM Service Manual Online
For 1990-2009 cars only
Makes
🢒
Chevrolet
🢒
2000
🢒
Tracker - 2WD
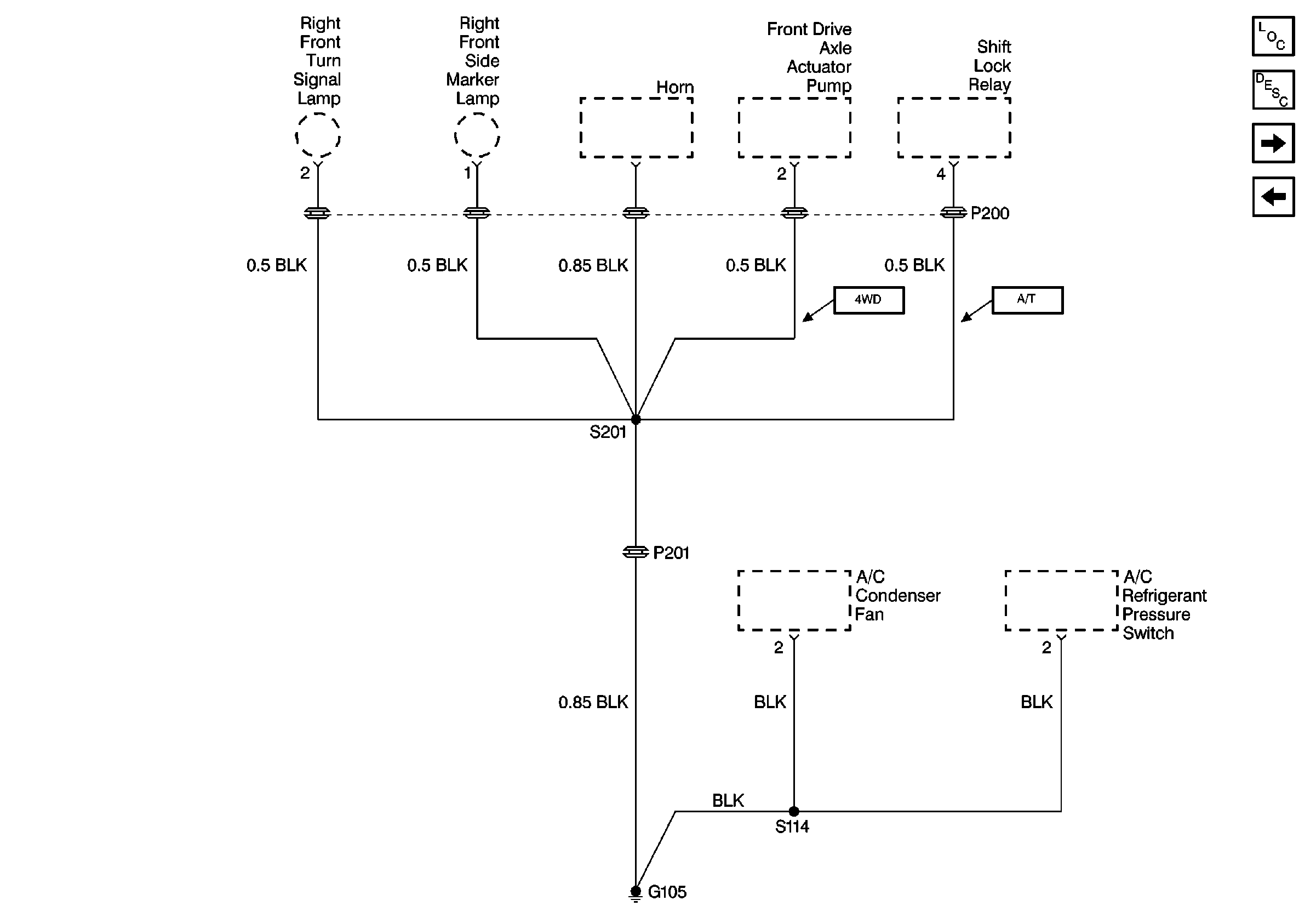
🢒 G105
G105
G105
Power and Grounding Components
G200 (1 of 2)
G104