GM Service Manual Online
For 1990-2009 cars only
Makes
🢒
Chevrolet
🢒
2000
🢒
Tracker - 2WD
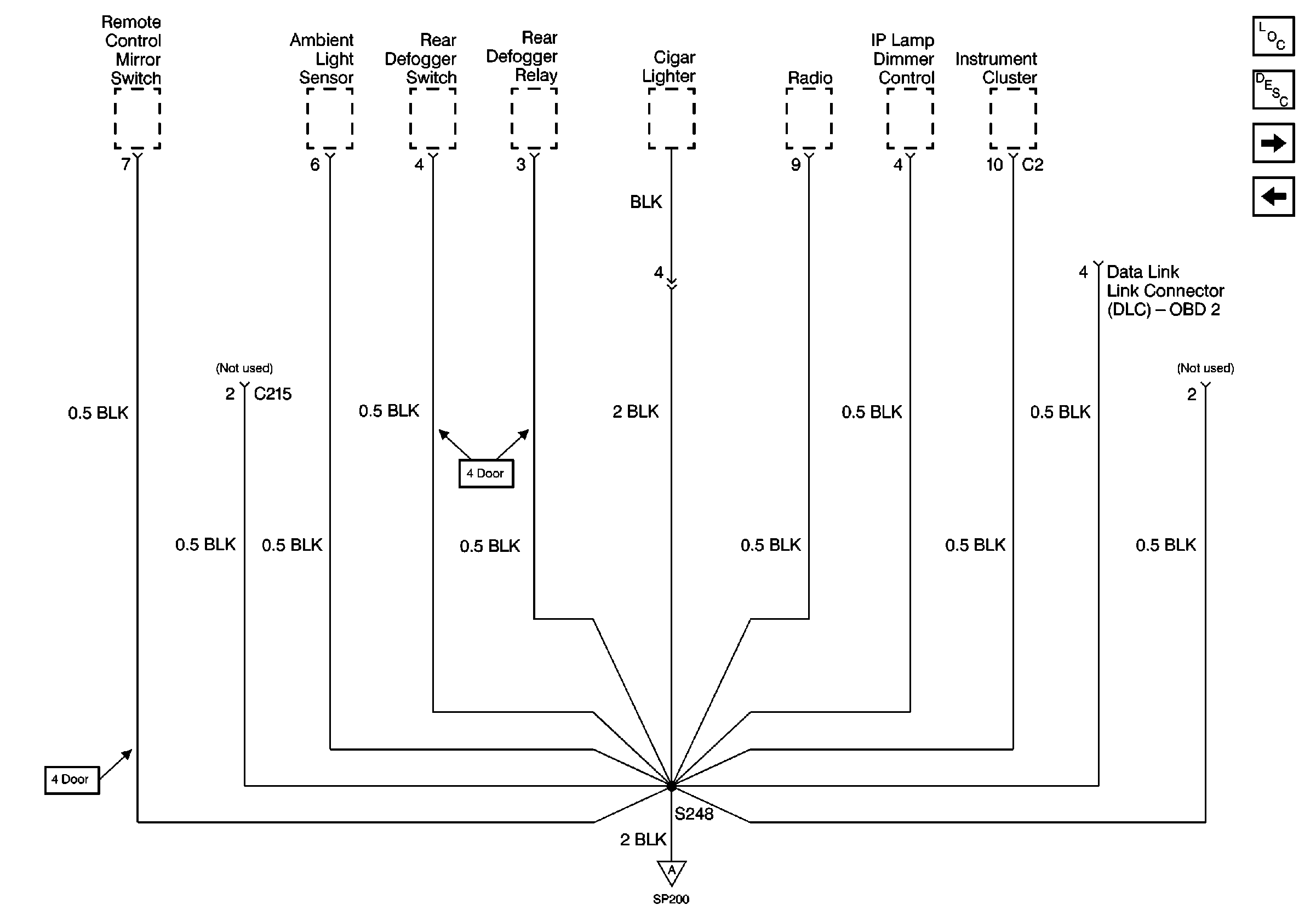
🢒 G200 (2 of 2)
G200 (2 of 2)
G200 (2 of 2)
Power and Grounding Components
G200-G201
G200 (1 of 2)
G200 (1 of 2)