GM Service Manual Online
For 1990-2009 cars only

Caution: Batteries produce explosive gases. Batteries contain corrosive acid. Batteries supply levels of electrical current high enough to cause burns. Therefore, in order to reduce the risk of personal injury while working near a battery, observe the following guidelines:

   • Always shield your eyes.
   • Avoid leaning over the battery whenever possible.
   • Do not expose the battery to open flames or sparks.
   • Do not allow battery acid to contact the eyes or the skin.
      - Flush any contacted areas with water immediately and thoroughly.
      - Get medical help.

Notice: This vehicle has a 12 volt, negative ground electrical system. Make sure the vehicle or equipment being used to jump start the engine is also 12 volt, negative ground. Use of any other type of system will damage the vehicle's electrical components.

This vehicle has a 12 volt positive, negative ground electrical system. Do not try to jump start a vehicle if you are unsure of the other vehicles positive voltage or ground position. The booster (charged) battery and the discharged battery should be treated carefully when using jumper cables.

  1. Position the vehicle with the booster (charged) battery so that the jumper cables will comfortably reach the battery of the other vehicle.
  2. • Do not let the two vehicles touch.
    • Make sure that the jumper cables do not have loose clamps or missing insulation.
  3. Perform the following steps on both vehicles:
  4. 2.1. Place the automatic transmission in PARK.
    2.2. Block the wheels.
    2.3. Set the parking brake.
    2.4. Turn off all electrical loads that are not needed (leave the hazard flashers ON).
    2.5. Turn OFF the ignition switch.

    Object Number: 498828  Size: SH

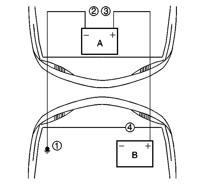
    Important: Some vehicles have a battery remote positive stud. ALWAYS use the battery remote positive stud in order to give or to receive a jump start.

  5. Connect the red positive (+) cable to the positive (+) terminal (1) of the booster (charged) battery.
  6. Use a remote positive (+) terminal if the vehicle has one.

  7. Connect the red positive (+) cable to the positive (+) terminal (2) of the discharged battery.
  8. Use a remote positive (+) terminal if the vehicle has one.

  9. Connect the black negative (-) cable to the negative (-) terminal (3) of the booster (charged) battery.
  10. Caution: Do not connect a jumper cable directly to the negative terminal of a discharged battery to prevent sparking and possible explosion of battery gases.

  11. The final connection is made to a heavy, unpainted metal engine part (4) of the vehicle with the discharged battery.
  12. This final attachment must be at least 46 cm (18 in) away from the dead battery.

  13. Start the engine of the vehicle that is providing the jump start and turn off all electrical accessories. Raise the engine RPM to approximately 1500 RPM.
  14. Notice: Never operate the starter motor more than 15 seconds at a time without pausing in order to allow it to cool for at least 2 minutes. Overheating will damage the starter motor.

  15. Crank the engine of the vehicle with the discharged battery.
  16. If the engine does not crank or cranks too slowly, perform the following steps:

    8.1. Turn the ignition OFF.
    8.2. Allow the booster vehicle engine to run at approximately 1500 RPM for five minutes.
    8.3. Attempt to start the engine of the vehicle with the discharged battery.

    Object Number: 499090  Size: SH
  17. Disconnect the black negative (-) cable (1) from the vehicle with the discharged battery.
  18. Disconnect the black negative (-) cable from the negative (-) terminal (2) of the booster (charged) battery.
  19. Disconnect the red positive (+) cable from the positive (+) terminal (3) of the booster (charged) battery.
  20. Disconnect the red positive (+) cable from the positive (+) terminal (4) of the vehicle with the discharged battery.