GM Service Manual Online
For 1990-2009 cars only

Removal Procedure

Caution: Wrap a shop towel around the fuel pressure connection in order to reduce the risk of fire and personal injury. The towel will absorb any fuel leakage that occurs during the connection of the fuel pressure gage. Place the towel in an approved container when the connection of the fuel pressure gage is complete.

Notice: Upon disassembly of the fuel system components, use a shop towel in order to absorb any liquid fuel that is released. A significant amount of liquid fuel entering an engine cylinder can damage internal engine parts upon the compression stroke.

  1. Relieve the fuel pressure. Refer to Fuel Pressure Relief .
  2. Remove the throttle body assembly. Refer to Throttle Body Assembly Replacement .
  3. Disconnect the fuel injector electrical connectors.

  4. Object Number: 675903  Size: SH
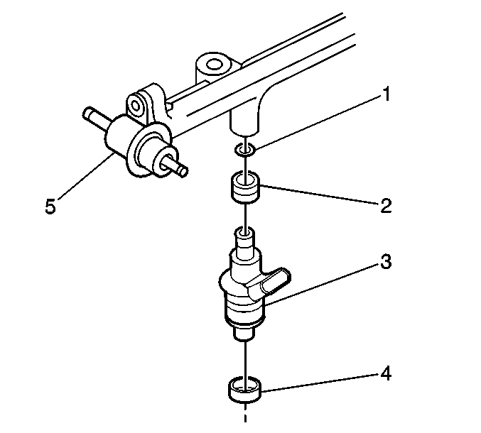
  5. Remove the fastener securing the fuel supply pipe (5) and the fuel return pipe (2) to the engine.
  6. Disconnect the vacuum hose (1) to the fuel pressure regulator.

  7. Object Number: 675899  Size: SH
  8. Disconnect the fuel return hose (3) from the fuel pressure regulator. Use a shop towel in order to catch any remaining fuel that may leak.

  9. Object Number: 675864  Size: SH
  10. Remove the union bolt (3) that secures the fuel supply pipe (2) to the fuel rail. Use a shop towel in order to catch any remaining fuel that may leak.

  11. Object Number: 675871  Size: SH
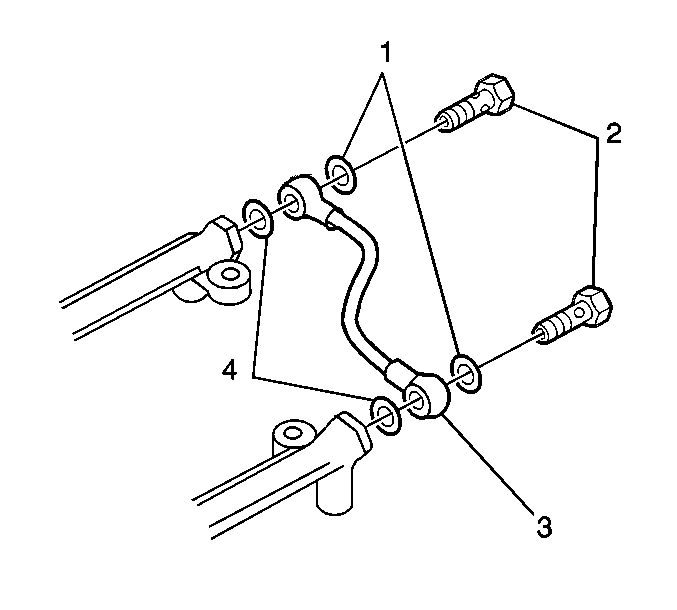
  12. Remove the two union bolts (2) securing the fuel rail crossover pipe (3) at the rear of the fuel rails. Use a shop towel in order to catch any remaining fuel that may leak.

  13. Object Number: 675890  Size: SH
  14. Remove the two hold down bolts (1) from the left fuel rail (2). Use a shop towel in order to catch any remaining fuel that may leak.
  15. Remove the left fuel rail (2) and fuel injectors.
  16. Remove the two hold down bolts (4) from the right fuel rail (3). Use a shop towel in order to catch any remaining fuel that may leak.
  17. Remove the right fuel rail (3) and fuel injectors. Use a shop towel in order to catch any remaining fuel that may leak.

  18. Object Number: 675888  Size: SH
  19. Remove the fuel injectors (3) from the fuel rail as necessary.

Installation Procedure


    Object Number: 675888  Size: SH

    Important: Always replace the fuel injector O-rings with new O-rings when servicing the fuel injectors. Do not damage the O-rings during the installation.

  1. Apply a thin coat of motor oil to the fuel injector O-rings (1).
  2. Install a fuel injector O-ring (1) with a collar (2) to each fuel injector (3).
  3. Install each fuel injector (3) to the fuel rail.
  4. Important: Inspect the fuel injector cushions for scoring or for damage. Before installing the fuel injectors to the intake manifold, replace any faulty injector cushions .

  5. Prepare each fuel rail assembly for installation, by ensuring that the cushions (4) are properly located in the fuel injector cavity of the intake manifold. Replace any missing or damaged cushions as necessary.
  6. Notice: Use the correct fastener in the correct location. Replacement fasteners must be the correct part number for that application. Fasteners requiring replacement or fasteners requiring the use of thread locking compound or sealant are identified in the service procedure. Do not use paints, lubricants, or corrosion inhibitors on fasteners or fastener joint surfaces unless specified. These coatings affect fastener torque and joint clamping force and may damage the fastener. Use the correct tightening sequence and specifications when installing fasteners in order to avoid damage to parts and systems.


    Object Number: 675884  Size: SH
  7. Install the left fuel rail to the intake manifold with two bolts and two spacers (1).
  8. Tighten
    Tighten the bolts to 23 N·m (16.5 lb ft).

  9. Install the right fuel rail to the intake manifold with two bolts and two spacers (1).
  10. Tighten
    Tighten the bolts to 23 N·m (16.5 lb ft).


    Object Number: 242186  Size: SH

    Important: An incorrectly installed fuel injector O-ring can prevent the fuel injector from rotating freely. Inspect for binding fuel injector O-rings, and replace any O-rings as necessary.

  11. Verify that the fuel injectors rotate smoothly and freely.

  12. Object Number: 675871  Size: SH
  13. Install the fuel rail crossover pipe (3) to the fuel rails, using new washers (1, 4) and securing with the two union bolts (2).
  14. Tighten
    Tighten the union bolts to 30 N·m (22 lb ft).


    Object Number: 675864  Size: SH
  15. Install the fuel supply pipe (2) to the right side fuel rail with two new washers (1, 4).
  16. Secure the fuel supply pipe (2) with the union bolt (3).
  17. Tighten
    Tighten the union bolt to 30 N·m (22 lb ft).


    Object Number: 675899  Size: SH
  18. Connect the fuel return hose (3) to the fuel pressure regulator.

  19. Object Number: 675903  Size: SH
  20. Secure the fuel supply pipe (5) and the fuel return pipe (2) to the engine with the bracket and bolt.
  21. Tighten
    Tighten the bolt to 10 N·m (89 lb in).

    Connect the fuel injector electrical connectors.

  22. Connect the battery.
  23. Turn ON the ignition, leaving the engine OFF.
  24. Turn ON the fuel pump with the scan tool.
  25. Check for fuel leaks and repair as necessary.
  26. Install the throttle body assembly. Refer to Throttle Body Assembly Replacement .