- Remove the cylinder head cover. Refer to
Valve Rocker Arm Cover Replacement
.
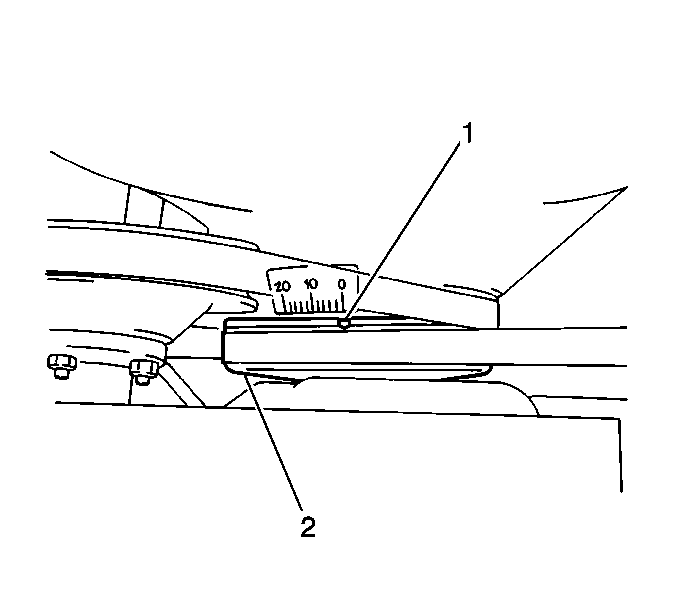
- Turn the crankshaft clockwise
until the alignment notch (1) on the crankshaft pulley
is aligned with the "0" mark on the engine front cover
tab.
- Check that the rocker arms of the number 1 cylinder are
off the respective cam lobes of the camshaft. If they are not, rotate the
crankshaft clockwise one revolution until the alignment notch on the crankshaft
pulley is aligned with the "0" mark on the engine
front cover tab.
Important: When checking valve clearance, insert the feeler gauge between the camshaft
and the cam-riding face of the rocker arm.
- Using a feeler gauge, measure the clearance between valves (1),
(2), (5), and (7).
Intake Valve Clearance (Cold):
0.13-0.17 mm (0.005-0.007 in)
Exhaust Valve Clearance (Cold):
0.23-0.27 mm (0.009-0.011 in)
Intake Valve Clearance (Hot):
0.17-0.21 mm (0.007-0.008 in)
Exhaust Valve Clearance (Hot):
0.28-0.32 mm (0.011-0.013 in)
- After the adjustment is complete, rotate the crankshaft clockwise
1 revolution until the alignment notch on the crankshaft pulley is
aligned with the "0" mark on the engine front cover
tab. Adjust the remaining valves.
- Using a feeler gauge,
measure the clearance between valves (3), (4), (6), and (8).
Intake Valve Clearance (Cold):
0.13-0.17 mm (0.005-0.007 in)
Exhaust Valve Clearance (Cold):
0.23-0.27 mm (0.009-0.011 in)
Intake Valve Clearance (Hot):
0.17-0.21 mm (0.007-0.008 in)
Exhaust Valve Clearance (Hot):
0.28-0.32 mm (0.011-0.013 in)
- Valve adjustment is complete, install the cylinder head cover.
Refer to the installation instructions in
Valve Rocker Arm Cover Replacement
.