GM Service Manual Online
For 1990-2009 cars only

Object Number: 477015  Size: MF
(1)To Ignition Switch
(2)IG-COIL METER Fuse
(3)Noise Suppressor
(4)No. 1 Ignition Coil
(5)No. 1 Spark Plug
(6)No. 4 Spark Plug
(7)No. 3 Spark Plug
(8)No. 2 Spark Plug
(9)No. 2 Ignition Coil
(10)To Main Relay
(11)CMP Sensor
(12)PCM

The electronic ignition system used in the 1.6L engine is controlled by the powertrain control module (PCM).

The electronic ignition system components cannot be disassembled or repaired. A component that is correctly diagnosed as faulty must be replaced as a complete unit.

Ignition Coil Assembly


Object Number: 448302  Size: SH
(1)Ignition Module (Igniter)
(2)Ignition Coil Assembly
(3)Core
(4)Primary Coil Winding
(5)Secondary Coil Winding
(6)High Voltage (spark plug wire) Terminal

The ignition coils have a pair of high voltage output terminals that provide spark to two engine cylinders (spark plugs) at the same time. The ignition coil 1 supplies voltage to the spark plugs in engine cylinders 1 and 4. The ignition coil 2 supplies voltage to the spark plugs in engine cylinders 2 and 3. Each ignition coil assembly has a built-in ignition module, igniter, that controls the current flow in the primary coil winding. The secondary coil voltage travels simultaneously from both coil output terminals to the spark plugs.

Operation

The PCM uses reference pulses from the CMP sensor in order to determine engine speed. The PCM cannot operate the ignition system, or the fuel injectors, without the engine speed signal from the CMP.

The ignition coils supply spark to 2 engine cylinders, and spark plugs, at the same time. When the PCM signals the ignition module to interrupt the current flow in the primary coil windings, the electrical field around the primary coil collapses and a high voltage is induced in the secondary coil. The secondary coil voltage travels simultaneously from both coil output terminals, to the spark plugs, and across the gap of each spark plug to the engine block. The CKP sensor signal is used by the PCM for engine misfire detection.

The PCM controls ignition timing by controlling the ignition coils. The PCM receives information on engine status from various engine sensors and then selects the most appropriate ignition timing settings from within the programming of the PCM. The following are the most important inputs for determining ignition timing requirements:

    • Engine speed
    • Throttle position
    • Manifold pressure
    • Engine coolant temperature

Crankshaft Position (CKP) Sensor


Object Number: 158645  Size: SH

The crankshaft position (CKP) sensor is mounted on the engine block, behind the crank pulley. The powertrain control module (PCM) receives a digital signal from the CKP sensor. The PCM uses the CKP sensor signal in order to determine crankshaft speed. The PCM uses crankshaft speed as one of the inputs in engine mis-fire monitoring. The CKP sensor is not adjustable.

Operation


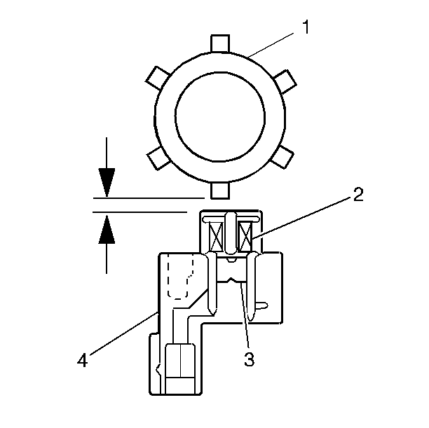
Object Number: 470755  Size: SH

The CKP sensor (4) generates a magnetic field within the magnet (3) and coil (2) assembly. The CKP sensor has a specified air gap between the sensor core end and the crankshaft signal rotor (1) that is located on the crankshaft. An AC voltage (pulse) is generated in the sensor when crankshaft rotation causes a change in the magnetic flux. The CKP sensor sends the A/C voltage signal to the powertrain control module (PCM).

Camshaft Position (CMP) Sensor


Object Number: 464458  Size: SH

The camshaft position (CMP) sensor (1) is located on the back of engine cylinder head. The PCM uses the CMP sensor input in order to control the fuel injectors and the ignition timing. The CMP sensor is not adjustable.

Operation


Object Number: 470749  Size: SH

The camshaft position (CMP) sensor (3) contains a signal generator (hall switch) (2). A signal rotor (2), with 11 notches, is located in the CMP sensor housing and is driven by the camshaft. The CMP sensor has a specified air gap between the sensor core end and the signal rotor. When the signal rotor in the housing turns, a magnetic flux from the magnet is applied to the hall element repeatedly. The hall element generates a voltage that is proportional to the magnetic flux. This voltage signal is wave-shaped and is modified into a digital pulse before being sent to the PCM. The PCM uses the pulse/revolution signal in determining the engine speed and the position of each cylinder.

Noteworthy Ignition Information

Caution: The ignition coils secondary voltage output capabilities are very high-more than 40,000 volts. Avoid body contact with high ignition voltage secondary components when the engine is running, to prevent personal injury.

Caution: In order to prevent personal injury, always treat the high voltage cables and connectors as if the voltage is present.

Consider the following important information when servicing the ignition system:

    • The ignition timing is not adjustable. A timing indicator and timing marks are still visible at the crankshaft pulley, but are not used to set or adjust ignition timing. The powertrain control module provides all ignition timing adjustments electronically.
    • Be careful not to damage the secondary ignition wires or boots when servicing the ignition system. Rotate each ignition wire boot in order to loosen the boot from the spark plug or the ignition coil tower before removing the wire. Never pierce a secondary ignition wire or boot for any testing purposes. Future ignition system problems are guaranteed if pinpoints or test lights are pushed through the secondary ignition wire insulation during component testing.
    • Do not use a conventional tachometer in order to check engine speed on this ignition system. An inductive type pick-up will not provide reliable engine speed information. Use a scan tool in order to monitor engine RPM.