GM Service Manual Online
For 1990-2009 cars only

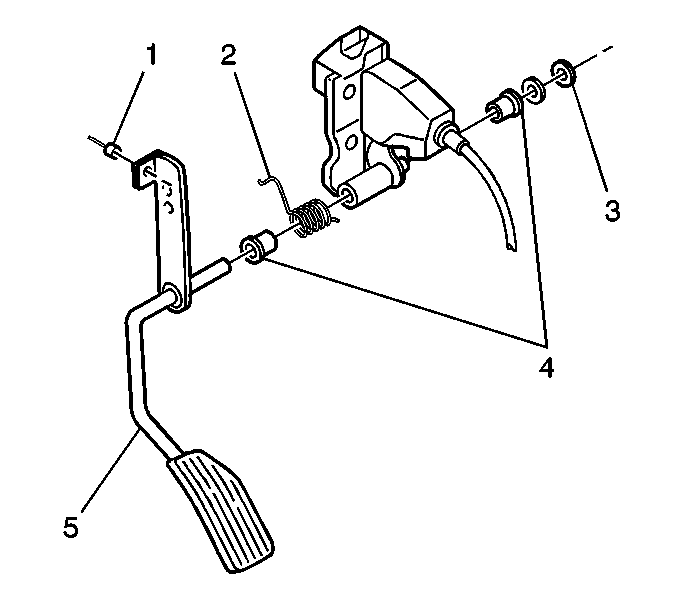
Removal Procedure


    Object Number: 736613  Size: SH
  1. Disconnect the accelerator control cable (1) from the accelerator pedal (5).
  2. Remove the accelerator pedal push nut (3) and the accelerator pedal (5) from the mounting bracket.

Installation Procedure

    Important: Be sure to install the spring while sliding the accelerator pedal into the mounting bracket.


    Object Number: 736613  Size: SH
  1. Install the accelerator pedal (5), spring (2) and bushings (4) to the mounting bracket.
  2. Secure the accelerator pedal with a new accelerator pedal push nut (3).
  3. Connect the accelerator control cable (1) to the accelerator pedal (5).
  4. Inspect the accelerator pedal free play and the accelerator control cable end play. Adjust as necessary. Refer to Accelerator Cable Adjustment .