The electronic ignition system used in the 2.0L engine
is a coil-on-plug design that is controlled by the powertrain control module
(PCM).
The ignition system components cannot be disassembled or repaired. A
component that is correctly diagnosed as faulty must be replaced as a complete
unit.
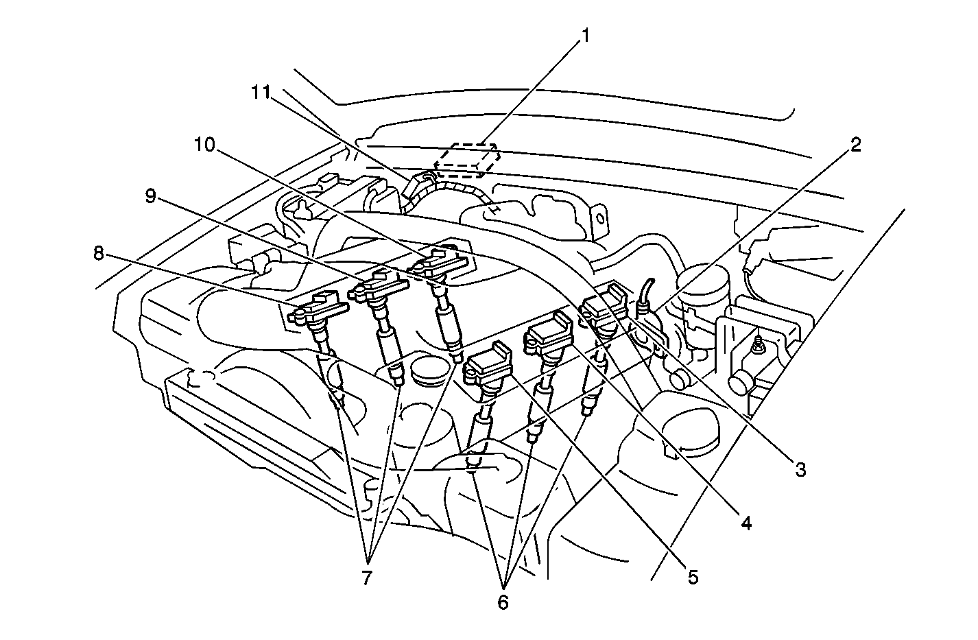
The ignition coil (2)
has a high voltage output terminal and boot, that provides spark directly
to the spark plug (3). Each ignition coil assembly has a built-in
ignition module, or igniter, that controls the current flow in the
primary coil winding. The secondary coil voltage travels directly
to the spark plug, increasing secondary ignition voltage by eliminating
the spark plug wire.